PHIẾU THỰC HÀNH SỐ 7
THÁO RÁP BƠM CAO ÁP PF
I. Mục tiêu:
Sau khi thực tập xong phiếu công tác này học viên có thể tháo, ráp, kiểm tra sửa chữa bơm cao áp PF.
II. Cung cấp:
- Một bơm cá nhân PF cần kiểm tra tháo ráp
- Các dụng cụ cần thiết cho việc tháo ráp và kiểm tra
- Dầu rửa và giẻ lau
III. Phương pháp thực hiện:
Có thể bạn quan tâm!
-
Bảo dưỡng sửa chữa động cơ diesel - Nghề Công nghệ ô tô Dùng cho trình độ Cao đẳng Phần 1 - 2 -
Cấu Tạo Và Nguyên Lý Hoạt Động Bơm Cao Áp Pf. -
Bơm Cao Áp Pf Loại Pmy Và Bộ Điều Tốc (Piston Không Có Vạt Xéo) -
Bộ Phun Sớm Tự Động Gắn Đầu Cốt Bơm Pe -
Bộ Điều Tốc Áp Thấp Lúc Làm Việc. -
Bộ Điều Tốc Cơ Áp Thấp Kết Hợp Gắn Trên Bơm
Xem toàn bộ 88 trang tài liệu này.
A. THÁO:
- Tháo bơm ra khỏi động cơ
- Rửa và tẩy sạch dầu mỡ bên ngoài bơm. Để ngừa chất bẩn xâm nhập vào bên trong dùng nút vặn hoặc vải sạch quấn bít các mạch nạp và thoát của bơm lúc tẩy rửa
- Trở ngược đầu bơm và kẹp chặt vào bàn kẹp có mang hàm phụ
- Dùng cán búa đè chụp hướng dẫn piston, chui chốt chận vào lỗ nơi hông của thân bơm
- Dùng cây vặn vít nạy vòng chận chụp hướng dẫn piston, dùng tay giữ vòng chận khỏi văng ra ngoài.
- Đè chụp hướng dẫn piston rời khỏi chốt chận và lấy chốt chận ra
- Lấy chụp hướng dẫn ra khởi thân bơm
- Lấy piston và chén chận lò xo đầu dưới. Cẩn thận không cho piston va chạm với vật khác vì mặt láng chính xác có thể bị trầy khi va chạm với vật cứng khác
- Lấy lò xo piston ra
- Dùng băng keo quấn hai đầu mỏ kềm, chui vào trong thân bơm để rút ống xoay chén chận đầu trên lò xo và vòng kềm
- Tháo vít chận thanh răng
- Rút thanh răng khỏi thân bơm
Chú ý: Không nên tháo mũi chỉ gắn nơi thân bơm và các khoen chêm (shim) nếu cần tháo nên ghi dấu trước. Trường hợp khoen chêm bị thất lạc nên gắn mũi chỉ thế nào khi thanh răng ở vị trí cúp dầuđầu mũi chỉ nằm ngay 0 thanh răng
- Trở đầu bơm và kẹp vào bàn kẹp
- Dùng khóa tháo đầu ống nối
- Lấy lò xo van cao áp ra
- Dùng cảo để lấy van cao áp ra khỏi thân bơm
- Tháo vít kềm xi lanh và đệm kín
- Đẩy xi lanh ra khỏi thân bơm từ bên dưới lên, lắp piston và xi lanh của nó thành từng bộ và để trên giấy sạch
Chú ý: piston và xilanh phải lắp với nhau thành từng bộ để khỏi lộn
- Tháo vít xả gió và đệm kín không cần mũi chỉ và số chêm của nó
- Để các chi tiết gọn gàng và ở nơi sạch sẽ
- Làm báo cáo
B. RÁP.
- Trước khi ráp các chi tiết cần được rửa trong dầu gasoil sạch. Sau khi kiểm tra tình trạng sửa chữa, phục hồi hay thay mới
- Kẹp bơm trên bàn kẹp đầu bơm trở lên
- Tháo rời piston ra khỏi xi lanh, rửa sạch bằng gasoil, ráp xilanh vào thân bơm hướng rãnh đứng về phía vít kiềm xi lanh.
- Ráp vít kiềm xi lanh và đệm kín. Ráp xong lắc xi lanh được 1 ít hoặc không xoay được
- Rửa sạch van cao áp và bệ của nó, ráp toàn bộ vào bên trên của xi lanh
- Để lò xo vào, ráp và xiết chặt đầu nối ống
- Trở đầu bơm và kẹp vào bàn kẹp
- Rửa sạch piston và lắp vào xi lanh
- Ráp thanh răng vào lỗ nơi thân bơm hướng mặt có răng qua phía tâm của thân bơm
- Siết chặt vít chận thanh răng đầu vít nằm trong rãnh xuôi và thanh răng phải di chuyển trơn
- Ráp chén chận lò xo phía trên và ống xoay. Lưu ý dấu thanh răng ngay với vòng răng
- Lắp vòng kềm chén nếu có trang bị cho cổ bơm
- Ráp lò xo vào ống xoay
- Nâng piston lên vừa tầm để lắp chén chận phía dưới. Lưu ý dấu đuôi piston ngay dấu ống xoay
- Rửa sạch chụp hướng dẫn của piston và lắp vào thân bơm
- Đè ống chụp xuống
- Ráp vòng chận vào rãnh
- Ráp các chi tiết phụ thuộc khác ngoài thân bơm
- Lấy bơm ra khỏi bàn kẹp
- Dọn vệ sinh nơi làm việc và làm báo cáo
Hình: Các chi

tiết bơm cao áp
(Xem chú thích ở đầu chương)
PHIẾU THỰC HÀNH SỐ 8
PHƯƠNG PHÁP ĐIỀU CHỈNH THỜI ĐIỂM PHUN BƠM CAO ÁP PF
I. Mục tiêu:
Sau khi thực hành xong phiếu này học viên biết phương pháp điều chỉnh thời điểm phun dầu của bơm cao áp PF
II. Cung cấp:
- Động cơ sử dụng bơm cá nhân PF
- Nhiên liệu, dầu bôi trơn, nước làm mát
- Các dụng cụ cần thiết cho quá trình công tác
III. Phương pháp thực hiện:
Sau khi cho động cơ phát hành, để động cơ nổ ổn định. Lên xuống ga và lắng nge tiếng nổ của động cơ để xác định bơm đang cân sớm hay trễ. Có hai phương pháp điều chỉnh thời điểm phun là điều chỉmh đệm đẩy hoặc thêm bớt chêm vào mặt bắt bơm với động cơ.
1. Điều chỉnh bằng đệm đẩy.
- Khóa nhiên liệu
- Tháo ống dẫn dầu cao áp từ bơm đến kim phun và ống dầu đến
- Tháo ốc bắt bơm vào động cơ, lấy bơm ra khỏi động cơ
- Nếu cần cân sớm, hiệu chỉnh ốc hiệu chỉnh sao cho đệm đẩy đi lên (hiệu chỉnh cho đệm đẩy dài ra)
- Nếu cần cân trễ, hiệu chỉnh ốc hiệu chỉnh sao cho đệm đẩy đi xuống (hiệu chỉnh cho đệm đẩy ngắn lại)
- Ráp bơm cao áp vào động cơ, xiết các ốc nối cho điều và đúng lực xiết
- Ráp các ống dẫn dầu
- Mở khóa nhiên liệu
- Xả gió bơm và kim phun
- Khởi động động cơ kiểm tra lại nếu chưa được thì làm lại từ đầu
2. Điều chỉnh bằng cách thêm, bớt chêm ở mặt bắt bơm
- Khóa nhiên liệu
- Tháo các ống dẫn dầu đến bơm và đến kim phun
- Tháo ốc bắt bơm vào động cơ, lấy bơm ra khỏi động cơ
- Nếu cân trễ ta thêm chêm vào mặt bắt bơm vào động cơ
- Nếu cân sớm ta bớt chêm vào mặt bắt bơm vào động cơ
- Ráp bơm cao áp vào động cơ
- Ráp các ống dầu đến bơm và đến kim
- Xả gió bơm cao áp, kim phun
- Khởi động động cơ, kiểm tra lại xem được chưa, nếu chưa được thì làm lại Dọn vệ sinh nơi làm việc và làm báo cáo
I. Sơ đồ hệ thống nhiên liệu:
BÀI 3
BƠM CAO ÁP PE

Hình 4.1: Sơ đồ hệ thống nhiên liệu bơm cao áp PE
1. Kim phun 2. Ống cao áp 3,6,8,11: Ống dẫn nhiên liệu 4. bơm cao áp
5. Bộ điều tốc
7. Bơm tiếp vận 9. Lọc thứ cấp 10. Lọc sơ cấp 12,14. Ống dầu về 13. Thùng chứa
Sơ đồ hệ thống nhiên liệu bơm cao áp PE được trình bày theo hình vẽ. Hệ thống nhiên liệu này sử dụng phổ biến trên các động cơ diesel ô tô máy kéo như MTZ, IFA, KAMAZ, TOYOTA, MERCEDECES, REO I, HYNO, ISUZU.
Bơm cao áp PE dùng trên động cơ diesel có các công dụng sau:
- Tiếp nhận nhiên liệu sạch từ thùng chứa đến bơm.
- Ép nhiên liệu lên đến áp lực cao (2500PSI – 3000PSI) đưa đến kim phun đúng thời điểm và phù hợp với thứ tự thì nổ của động cơ.
- Phân phối lưu lượng đồng đều cho mỗi xi lanh động cơ và tuỳ theo yêu cầu hoạt động của động cơ.
Khi động cơ làm việc nhiên liệu từ thùng chứa được bơm lên bằng bơm tiếp vận đặt ở bên hông tổ bơm. Nhiên liệu từ bơm tiếp vận được đẩy đến bầu lọc nhiên liệu. Bầu lọc nhiên liệu có thể có một hoặc hai bầu lọc tuỳ theo từng
trường hợp. Bầu lọc nhiên liệu nđầu tiên ( nhiên liệu từ bơm tiếp vận đến ) gọi là bầu lọc sơ cấp. Bầu lọc thứ hai ( bầu lọc cuối ) là bầu lọc thứ cấp.
Nhiên liệu từ lọc đưa vào buồng chứa dầu trong thân bơm. Để cấp cho các piston bơm cao áp. Đến thì phun nhiên liệu, cam đẩy piston ép nhiên liệu tạo áp suất cao. Được dẫn đến vòi phun bằng các ống dẫn dầu cao áp. Nhiên liệu dư ở kim phun được hồi về thùng chứa (có loại hồi dầu dư về bầu lọc ).
Nhiên liệu từ buồng chứa dầu trong bơm cao áp được hồi về thùng dầu qua van tràn.Lượng nhiên liệu này có tác dụng không để dầu trong buồng chứa dầu có áp suất quá cao do bơm tiếp vận tạo ra.
II. Cấu tạo, nguyên lý làm việc
a. Cấu tạo:
Bơm cao áp PE là một bơm gồm nhiều tổ bơm PF gộp chung lại thành một khối. Có cốt cam nằm trong thân bơm và được điều khiển chung bởi một thanh răng. Quan sát cụ thể bơm PE của hãng BOSCH gồm các bộ phận:

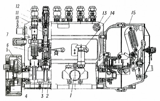
Hình 4.2: Cấu tạo tổng quát bơm PE.
1. Bơm tiếp vận 6. Lò xo piston bơm 11. Van cao
áp
2. Cốt bơm 7. Thanh răng 12. Ốc lục giác
3. Đệm đẩy 8. Khâu răng 13. Ốc xả gió
4. Bộ phun sớm 9. Vít giữ thanh răng 14. Cần bơm
tay
5. Quả tạ 10. Xi lanh 15. Bộ điều tốc
Một thân bơm được đúc bằng hợp kim nhôm, trên thân bơm có dự trù các lỗ lắp các ống dầu đến và dầu về, ốc xả gió, lỗ xỏ thanh răng, vít chặn thanh răng, vít kềm xi lanh. Vỏ bơm chia làm 3 khoang (3 phần), bên trong có chứa các chi tiết sau:
- Phần giữa: (cửa sổ mặt tiền bơm) bên trong có chứa các cặp piston xi lanh bơm tương ứng với số xi lanh động cơ, các vòng răng thanh răng điều khiển. Trên vòng răng có các vít siết để điều chỉnh vị trí tương đối của piston và xi lanh. Dưới vòng răng có lò xo hồi vị piston và các chén chặn.
- Phần dưới: Bên trong có chứa cốt bơm. Hai đầu cốt bơm tựa lên hai bạc đạn lắp ở nốt nay cốt bơm. Trên cốt bơm có các vấu cam lệch tâm, số vấu cam lệch tâm bằng số xi lanh bơm và bằng số xi lanh động cơ. Ngoài ra còn có vấu cam dẫn động bơm tiếp vận bắt ở hông bơm. Đặt trên các cam lệch tâm có các đệm đẩy. Trên đệm đẩy có gắn các con lăn. Ổ đệm đẩy có các vít điều chỉnh và đai ốc chặn. Dưới cốt bơm là đáy bơm chứa dầu nhờn để bôi trơn cốt bơm. Cốt bơm một đầu được lắp với khớp nối ( hoặc bộ phun sớm tự động và khớp nối) nối với trục truyền động của động cơ. Đầu còn lại lắp với các quả tạ của bộ điều tốc cơ khí hoặc bộ điều tốc áp thấp.
- Phần trên: Là phòng chứa nhiên liệu thông giữa các xi lanh với nhau ( phần này chứa phần trên xi lanh nơi có các lỗ dầu nạp và dầu về). Các vít kềm xi lanh chỏi ở lỗ dầu về của xi lanh bơm. Phần này có gắn một van an toàn để điều chỉnh áp suất nhiên liệu nạp vào xi lanh. Van này có thể là loại van bi hoặc van piston và lò xo. Trên xi lanh là bệ van cao áp, van cao áp, lò xo van cao áp và ốc lục giác dẫn nhiên liệu đến kim phun.
- Ngoài ra còn có bơm tiếp vận được dẫn động bởi cam lệch tâm trên cốt bơm. Bơm tiếp vận là loại bơm piston. Bộ điều tốc cơ khí hoặc áp thấp liên hệ với thanh răng bằng các khâu nối để điều chỉnh tốc độ động cơ.

Hình 4.3: Cấu tạo các chi tiết bơm cao áp PE và việc định lượng nhiên liệu:
1. Ốc lục giác 2,3. Bệ và lò xo van cao áp 4. van cao áp 5. Lông đền dầu
6. xi lanh
7. Dầu về 8. Bít tông 9. Vít giữ thanh răng 10. Thanh răng 11. Ống xoay
12. chén chận
13. Lò xo hoàn lực 15,16,17. Đệm đẩy và vít chỉnh 18, 19,20. Bộ con lăn
21. Bứu cốt cam
22. Nút đạy đáy bơm 23. Phòng chứa dầu 24. vít chận xi lanh 25. Vít chỉnh vòng răng
26,27. Dầu làm trơn từ động cơ đến và về.






