lượng qua van. Cần xây tiêu năng trên đoạn nối tiếp giữa cửa và đường dẫn. Để tận dụng phần năng lượng mất đi bởi công trình tiêu năng, có thể có lợi nếu xây thêm nhà máy thuỷ điện bổ sung (hình 10-1, sơ đồ III), và lúc này cửa lấy nước trở thành có áp.
X. 2. CÁC TRANG THIẾT BỊ CỦA CỬA LẤY NƯỚC
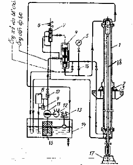
Cửa lấy nước có nhiệm vụ lấy đủ nước và nước sạch theo yêu cầu phát điện và lợi dụng tổng hợp, đảm bảo chủ động đóng hay mở nước vào công trình dẫn nước. Cửa lây nước cần được trang bị các thiết bị chính như: lưới chắn rác, các loại van sửa chữa và sự cố, thiết bị nâng chuyển vật nặng, ống dẫn khí, ống cân bằng áp lực ... Hình (10-2) là một ví dụ về thành phần và vị trí bố trí của các trang thiết bị này.

Hình 10-2. Các trang thiết bị của cửa lấy nước của TTĐ.
1- tường ngực; 2- lưới chắn rác; 3- rãnh van dặt chung cho lưới chắn rác và van sửa chữa; 4- rãnh dẫn hướng cho gàu ngoạn; 5- van sự cố - sửa chữa; 6- máy nâng thuỷ lực; 7- ống dẫn khí; 8- ống bình áp.
X. 2. 1. Lưới chắn rác và thiết bị dọn rác trên lưới
1. Kết cấu lưới chắn rác của trạm thuỷ điện
Có thể bạn quan tâm!
-
Tuabin thủy lực - 13 -
Tuabin thủy lực - 14 -
Trạm Thuỷ Điện Với Đập Dâng Bêtông Trọng Lực: -
Cửa Lấy Nước Của Ttđ Nhà Máy Sau Và Trong Thân Đập -
Tuabin thủy lực - 18 -
Tính Chiều Dài Công Tác Lk Theo Vận Tốc Trung Bình Và Mạch Động
Xem toàn bộ 317 trang tài liệu này.
Để bảo vệ turbine khỏi bị rác rưởi và vật nổi trôi vào phá vỡ chế độ vận hành bình thường của tổ máy, cần đặt lưới chắn rác ở cửa vào cửa lấy nước. Thông thường hay dùng lưới chắn rác làm từ các thanh thép. Để giảm tổn thất cột nước qua lưới thì khoảng hở thực giữa các thanh lưới phải rộng, nhưng như vậy sẽ không bảo đảm ngăn vật trôi có kích thước lớn vào đường dẫn. Do vậy khoảng hở thực giữa hai song lưới phải sao cho đạt được hai yêu cầu trên. Khi thiết kế sơ bộ có thể chọn khoảng hở theo đường kính tiêu chuẩn của turbine như sau (hình 10-3):
1
b =1 D (lấy đối với turbine hướng trục) và b = (5 - 20) cm;
20
1
b =1 D (lấy đối với turbine tâm trục) và b = (3 - 10) cm;
30
b = (2 - 7) cm (lấy đối với turbine gáo).

Hình 10-3. Cấu tạo lưới chắn rác phẳng.
1- Dầm tựa biên đứng; 2- dầm ngang đỡ song lưới; 3- dầm dọc; 4- giằng chéo; 5- thanh ngang lưới chắn rác; 6- song dọc lưới; 7- khớp nối các tầng lưới.
Cấu tạo lưới chắn rác gồm: khung lưới và các song dọc chắn rác 6. Khi lưới có chiều cao lớn được phân ra các đoạn và các tầng, nối các tầng với nhau qua các khớp 7. Khung lưới gồm có các dầm tựa biên 1, các dầm ngang 2, các dầm dọc giữa 3, các thanh dằng xiên 4. Các song dọc chắn rác làm bằng thép tròn đối với lưới nhỏ còn phần lớn có dạng mặt cắt dạng lưu tuyến để tăng độ bền và giảm tổn thất thuỷ lực (hình 10-4).
Kích thước của lưới có ảnh hưởng lớn đến kích thước toàn bộ cửa lấy nước, phụ thuộc vào số lượng, loại rác, phượng thức cào rác và phụ thuộc vào tổn thất cột nước trên lưới. Khi nước mang nhiều rác và ngưỡng cửa lấy nước đặt không sâu dưới mực nước dâng bình thường (MNDBT) lắm (< 20 - 25 m) và dọn rác bằng máy thì vận tốc trên lưới chắn rác thường lấy v = (1 - 1,2) m/s. Khi ngưỡng cửa đặt quá sâu, việc dọn rác không thể tiến hành được thì vận tốc trên lưới thường chọn v = (0,25 - 0,5) m/s và lưới được đặt cố định. Khi nước ít rác bẩn thì vận tốc trên lưới lấy không lớn hơn 2 m/s.
Điều
kiện này khi vớt rác phải dừng máy hoặc giảm công suất phát điện.
Đặt lưới chắn rác phảib đảm bảo thuận dòng chảy để tránh gây tổn thất lớn, kết cấu lưới phải vững chắc và thuận tiện cho việc lắp đặt và tháo dỡ lưới và dọn rác. Vị trí đặt lưới thông thường đặt trước van sửa chữa và van sửa chữa-sự cố (van công tác). Tuy nhiên khi nước ít rác và có luận chứng thoả đáng có thể lắp lưới chắn rác giữa hai van
(ít gặp). Để giảm kích thước cửa lấy nước và khẩu độ cầu trục phục vụ lưới, nhiều trường hợp người ta dùng chung khe lưới chắn rác và khe van sửa chữa làm một, tuy nhiên cách này gây khó khăn cho vận hành và rác có thể xâm nhập vào van công tác khi kéo lưới lên. Ở trạm thuỷ điện nhỏ, vớt rác thủ công muốn vớt rác tiện lợi phải đặt lưới nghiêng một góc750sovới phương đứng và vận tốc dòng chảy qua lưới phải lấy nhỏ hơn vớt máy.
Hình 10-4. Hình dạng mặt cắt ngang song lưới và dầm ngang đỡ lưới. a - mặt cắt ngang hệ thanh; - mặt cắt ngang dầm đỡ ngang
2. Thiết bị dọn rác trên lưới chắn rác
Hình (10-5) mô tả một số thiết bị dọn rác bằng cơ giới được dùng dọn rác trên các lưới chắn rác. Tuỳ đặc điểm các loại rác và vị trí đặt lới mà có thể chọn để trang bị.
- Thiết bị cào rác (b) dùng cào rác nhỏ như rong rêu, cỏ, lá. Nó có khả năng cáo
được rác bám trong các khe giữa các song lưới.
- Gàu xúc (c) xúc và cào rác vào trong gàu nhờ trọng lượng bản thân gàu và áp lực nước.
- Gàu ngoạm (d) dùng để ngoạm các vật nổi lớn phía trước lưới.
- Gàu kiểu hàm răng (e) dùng cắt rác bẩn bám trên mặt lưới; khi hạ xuống dưới lưỡi dao 1 sẽ gạt lớp rác trên lưới dồn vào phía trong cạp, cạp móc 2 khép lại và nhấc rác
lên nhờ cầu trục.
- Loại cạp pôlip (g) dùng để vớt rác và vật nổi từ nhỏ đến lớn phía trước lưới và
ở đầu cạp có bố trí thêm các tấm thép, chúng có thể khép kín để đựng rác nhỏ.

X. 2. 2. Cửa van
Hình 10-5. Các thiết bị dọn rác bằng máy.
1- hàm trên; 2 - hàm dưới; 3 - lưỡi dao; 4- lưới; 5 - cào.
Đầy đủ thì cửa van trên cửa lấy nước có hai loại van sau:
- Van công tác (van sự cố-sửa chữa) dùng để đóng đón ngăn dòng nước chảy vào đường dẫn khi có sự cố đường ống hoặc máy phải ngừng máy, hoặc khi dừng để sửa chữa chúng. Van này đóng trong khi dòng chảy dang chảy với vận tốc lớn. Do vậy van phải có đủ sức nặng, lực đóng phải lớn và phải luôn ở trạng thái sẳn sàng làm việc. Trường hợp van đặt sau ống thép lộ thiên thì cần phải tác động nhanh (đóng từ 2 - 3 phút); còn nếu đường ống áp lực dặt trọng đập bêtông trọng lực hoặc trong đường hầm có áp thì van không đòi hỏi phải là van đóng nhanh. Van sự cố có thê là van phẳng, van cung van đĩa hoặc van cầu (các van này đã có đề cập ở phần I - phần thiết bị thuỷ điện).
- Van sửa chữa dùng để đóng khi dòng nước tỉnh lặng, vì vậy nó không cần phải có lực đóng mở lớn và cũng không cần phải đóng nhanh. Trường hợp cột nước tương đối thấp, cửa van có thể dùng dạng phai độc lập.
Hình (10-6) sau đây trình bày cấu tạo của một cửa van phẳng sự cố - sửa chữa.

Hình 10-6. Cửa van phẳng sự cố - sửa chữa.
1- dầm ngang; 2 - dầm cột đứng; 3 - dầm tựa; 4 - bản chắn nước bằng thép tấm.
- Ống bình áp (hình 10-2): khi van ở vị trí đóng nếu độ sâu ngập nước của cửa van lớn khá lớn, áp lực thuỷ tĩnh tác dụng lên mặt trước cửa van lớn còn mặt sau van không có nước, để giảm lực kéo cửa van khi nâng cửa van cần loại bỏ độ chênh áp lực thuỷ tĩnh nầy. Để làm việc này người ta tháo nước từ thượng lưu qua ống 8 vào sau van để cân bằng áp lực nước tĩnh trước và sau van, sau đó mới nâng van.
X. 2. 3. Thiết bị nâng hạ và vận chuyển
Để đóng mở, tháo lắp các lưới chắn rác và cửa van các loại và tiến hành dọn rác trên lưới chắn rác cần phải có thiết bị đóng mở và nâng hạ vận chuyển. Thiết bị này có hai dạng: thiết bị đặt cố định dùng riêng (như tời điện, cầu trục, nâng thuỷ lực) và thiết bị di động dùng chung cho một số khoang (như cầu trục cổng).
1. Cầu trục di động
Cầu trục di động, dùng chung để nâng chuyển các lưới chắn rác và các cửa van, phai khi số khoang lấy nước nhiều. Cũng có thể bố trí một cầu trục phục vụ riêng cho van sửa chữa-sự cố một cầu trục dùng chung cho các lưới chắn rác và van sửa chữa. Nếu van sửa chữa-sự cố có yêu cầu đóng nhanh thì ngoài cầu trục chung còn phải đặt thêm cầu trục tĩnh tại cho từng khoang và trang bị hệ thống điều khiển từ xa hoặc tại chỗ nhằm để đóng nhanh khi sự cố, còn tháo lắp thì vẫn phải dùng cầu trục chung.
Hình 10-7. Cầu trục cổng
Hình (10-7) là cầu trục cổng có sức nâng 500 tấn, nhiệp 20 m, do Liên xô chế tạo. Cầu trục gồm khung thép 1, xe kéo tải 3 chạy trên ray của cầu 2. Móc chính 4 để nâng hạ vật nặng chính, móc 5 nâng hạ vật nhẹ hơn. Để di huyển cầu trục đến nơi cần thao tác, cầu trục được trang bị các bánh xe lăn 10, lăn trên ray chôn sẵn dọc tuyến. lăn.
2. Thiết bị nâng hạ tĩnh tại
Khi chỉ có một hoặc hai khoang lấy nước thì nên sử dụng các thiết bị nâng hạ đặt tĩnh tại, dùng riêng cho từng khoang lấy nước. Loại này có thể là tời điện, cầu trục (cầu trục xem ở phần Nhà máy) hoặc máy nâng thuỷ lực. Thiết bị tĩnh tại chỉ có thể dùng trong thao tác nâng hạ tại khoang, khi cần đưa đi sửa chữa nơi khác cần phải dùng cầu trục di động trên. Các thiết bị dùng đóng mở cố định thường dùng tời điện hoặc máy nâng thuỷ lực , có tốc độ nâng hạ từ 0,2 đến 2 m/s.Trường hợp dùng van đóng nhanh thì tốc độ nâng hạ có thể đạt (8 - 10) m/s.
Hình (10-8) trình bày máy nâng thuỷ lực sự cố-sửa chữa và sơ đồ động của nó. Máy nâng thuỷ lực là một xi lanh 1 đặt trên gối tựa 2, 3 chôn trong bê tông, đặt phía trên thiết bị cần thao tác. Đầu dưới của cần pít tông nối với van hoặc lưới 17 bởi cơ cấu nối.

Hình 10-8. Máy nâng thuỷ lực và sơ đồ hoạt động.
Việc nâng van được tiến hành nhờ áp lực dầu (thường áp lực dưới 40 atmốt phe) từ thiết bị dầu áp lực qua van điều phối 4 đưa vào bên dưới xi lanh 1 để đẩy trục nâng 18 kéo van lên. Để hạ van ta tháo dầu về thùng chứa 14, nhờ trọng lượng van hạ xuống, trường hợp cần lực đóng lớn thì kết hợp áp lực dầu đẩy từ trên xuống. Máy nâng thuỷ lực ngày nay đã chế tạo đạt đến sức nâng 900 tấn.
X. 3. CÔNG TRÌNH LẤY NƯỚC MẶT (LẤY NƯỚC KHÔNG ÁP)
X. 3. 1. Đặc điểm làm việc của cửa lấy nước mặt và việc chọn vị trí cửa lấy nước
Cửa lấy nước mặt của TTĐ đường dẫn thường được xây dựng ở miền núi trên các con sông có độ dốc lớn và tốc độ chảy lớn. Những con sông này vào mùa lũ mang theo nhiều bùn cát, về mùa kiệt thì lại thì lại rất ít nước, có khi không đủ nước cho TTĐ.
Bởi
vậy cần phải đưa vào đầu mối các đập dâng và đập tràn. Khi xây dựng các các công trình đầu mối này chế độ dòng chảy tự nhiên của sông bị thay đổi; đáy trước đầu mối bị bồi lấp dần khi lũ về mực nước dâng cao cuốn cả những hạt cát đáy vào cửa lấy nước. Ở hạ lưu công trình đầu mối lòng dẫn bị xói lở làm giảm mực nước hạ lưu. Cần phải tính đến những thay đổi trên khi thiết kế cửa lấy nước. Thường người ta xây dựng các công trình chỉnh trị (như đê hướng dòng ..v.v..) để hướng dòng nước trong vào cửa lấy nước, làm bể lắng cát để thu cát có kích thước nguy hiểm và tháo đi nơi khác tránh làm hỏng thiết bị qua nước của turbine. Đặt cửa lấy nước mặt ở bờ lõm để lấy nước trong.
X. 3. 2. Các kiểu và kết cấu của cửa lấy nước mặt
Có thể chia cửa lấy nước mặt làm ba loại: Cửa lấy nước đặt bên bờ, cửa lấy nước đặt chính diện dòng chảy và cửa lấy nước lưới đáy.
1. Cửa lấy nước đặt ở bờ
Hình (10-9) trình bày các loại cửa lấy nước đặt ở bờ sông.
Hình 10-9. Một số sơ đồ cửa lấy nước bờ không áp.
1- cửa lấy nước; 2- ngưỡng; 3- cửa van lỗ xói cát; 4- hành lang xói đáy; 4a- hành lang nhận cát; 5- trụ thượng lưu; 6- lưới; 7, 8- cửa van cửa lấy nước; 9- van xói cát; 12- đập tràn; 13- đập dâng; 14- kênh dẫn
- Cửa lấy nước có hành lang xói rữa cát ở đáy (hình 10-9,a, ). Hành lang xói rữa bùn cát đặt bên dưới ngưỡng lấy nước để tháo bùn cát về hạ lưu, còn nước trong được dẫn qua ngưỡng về đường dẫn. Đây là loại được dùng phổ biến do hiệu quả rữa bùn cát trước ngưỡng lấy nước cao. Hành lang đáy có thể chạy thẳng (sơ đồ ) hoặc chảy vòng như (sơ đồ a). Việc tạo dòng chảy xoáy trong hành lang (sơ đồ ) nâng cao hiệu quả xói rữa bùn cát khi chiều dài hành lang ngắn và tiết kiệm nước xả.
- Cửa lấy nước có hành lang thu cát (hình 10-9,b). Đây là dạng cải tiến của loại trên, cửa vào của hành lang thu cát được đặt ở vùng tập trung cát đáy. Khi bề rộng cửa lấy nước nhỏ (dưới 6 m) thì nên đặt chúng trong trụ thượng lưu (tường hướng dòng), khi lớn hơn 6 m thì đặt chúng ở cả trụ thượng lưu và ở ngưỡng cửa lấy nước. Khi lượng bùn cát ở trước cửa vào kênh dẫn nhiều thì hoặc là xây dựng bể lắng cát hoặc làm rãnh thu và dẫn cát vòng 10 (sơ đồ b) để thu và tháo bùn cát. Hành lang dạng vòng (bình đồ) tạo nên dòng chảy vòng hướng ngang nâng cao khả năng rữa bùn cát.
- Cửa lấy nước bờ không có hành lang tháo cát ở ngưỡng (hình 10-10,a). Đây là hình thức kết cấu đơn giản nhất trong các loại cửa lấy nước bờ. Bùn cát lắng đọng ngay trước ngưỡng cửa lấy nước 2 và được tháo qua lỗ tháo 3 khi mở van tháo cát. Hiệu






