
Hình 10-17. Các cửa lấy nước kiểu tháp.
a) Tháp lấy nước có các lỗ bố trí trên toàn chu ví: 1- lỗ lấy nước; 2- lưới chắn rác; 3- cửa van trụ; 4- ống thông khí; 5- thép lót; 6- ống tháo; 8- ống dẫn nước áp lực.
b) Tháp lấy nước một phía: 1- lưới chắn rác; 2- rãnh van sửa chữa; 3- ống thông khí; 4- đường ống dẫn nước áp lực; 5- máy nâng thuỷ lực.
- Hình (10-17,a) trình bày cửa lấy nước kiểu tháp có các lỗ nhận nước bố trí cả chu vi tháp. Cách lấy nước này tăng diện tích qua nước. Ở hình vẽ này lỗ nhận nước đặt sâu, có lưới chắn rác không tiến hành vớt rác và dùng van sửa chữa hình trụ bằng bêtông
để ngăn dòng nước. Thao tác van này bằng thiết bị nâng thuỷ lực đặt trong nhà phục vụ trên tháp. Cần van đặt trong ống kim loại kết hợp thông khí đường kính 1,2 m.
- Hình (10-17,b) là kiểu tháp lấy nước một phía, về kết cấu nó là một hệ thống các trụ đứng và các dầm ngang, hệ thống này liên kết với tấm móng. Các phân đoạn lưới chắn rác tựa trên các dầm ngang. Ở cửa lấy nước của hình này chỉ đặt van sửa chữa mà không có van công tác vì trước turbine có đặt van công tác và đường ống áp lực ngắn.
Có thể bạn quan tâm!
-
Trạm Thuỷ Điện Với Đập Dâng Bêtông Trọng Lực: -
Kết Cấu Lưới Chắn Rác Của Trạm Thuỷ Điện -
Cửa Lấy Nước Của Ttđ Nhà Máy Sau Và Trong Thân Đập -
Tính Chiều Dài Công Tác Lk Theo Vận Tốc Trung Bình Và Mạch Động -
Vận Tốc Cho Phép Và Điều Kiện Vận Hành Kênh -
Tính Toán Thuỷ Lực Xác Định Kích Thước Bể Áp Lực
Xem toàn bộ 317 trang tài liệu này.
X. 4. 4. Vấn đề tính toán thuỷ lực cửa lấy nước dưới sâu
Cửa lấy nước dưới sâu được sử dụng khi giao động mực nước trước cửa lớn. Ngưỡng vào cửa lấy nước đặt cao hơn mực bùn cát từ 3 - 5 m (đối với trạm lớn) và 0,5 - 1 mét (đối với trạm nhỏ) để bảo đảm bùn cát không bị cuốn vào đường ống. Mép trên cửa lấy nước đặt ngập dưới mực nước chết tối thiểu 0,3 - 0,5 m (đối với trạm nhỏ) và 1 - 1,5 mét (đối với trạm lớn) và không nhỏ hơn 3V2/2g để không tạo phểu xoáy trước cửa lấy nước.
Vận tốc trước lưới chắn rác tuỳ thuộc vào độ ngập của cửa lấy nước so với MNDBT, vào độ bẩn và điều kiện dọn rác trên lưới chắn rác. Đối với cửa có độ ngập không quá 20 - 25 m và nhiều rác thì dựa vào biện pháp vớt rác có thể lấy V = (1 - 1,2) m/s, nếu với điều kiện trên nhưng rác ít thì có thể lấy vận tốc lớn hơn. Khi độ ngập lớn hơn trên thì vận tốc cho phép từ 0,6 - 0,8 m/s. Trường hợp không tiến hành vớt rác trên lưới thì vận tốc cho phép không vượt quá 0,5 m/s. Khi độ ngập quá sâu và dòng chảy ít rác thường lưới chắn rác được đặt cố định, trường hợp này chỉ vớt rác khi ngừng máy.

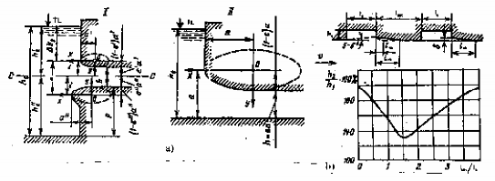
Hình dạng phần vào của cửa lấy nước của TTĐ là giảm tối thiểu tổn thất cột nước và giá thành xây dựng và thiết bị của nó. Theo thí nghiệm mô hình thấy rằng dạng trần và ngưỡng vào cửa lấy nước có dạng ellipse (hình 10-18,a) tổn thất ít nhất. Góc co hẹp của đoạn cửa vào phụ thuộc vào tỷ số vận tốc dòng chảy trước cửa lấy nước và trong ống, góc này giao động từ 15 - 350. Khi V 1,2 m/s thì tỷ số diện tích tại cửa vào và diện tích đường ống trong khoảng /0 = 4 - 7.
Hình 10-18. Sơ đồ tính toán thuỷ lực và hình dạng phần vào cửa lấy nước. Phương trình ellipse lấy như sau:
- Ngưỡng lấy nước đặt ngang đáy sông (sơ đồ II):
x 2 y 2
a 2 (1 ) 2 a 2 = 1 (10-2)
Trong công thức (10-2): là hệ số co hẹp đứng, được tính theo công thức:
0,57 0,043
1,1
, với a
h t
- Ngưỡng vào đặt cao hơn đáy sông (sơ đồ I): dùng công thức (10-2) nhưng thay bới các hệ số ' sau:
h
' a ' '
t
và ' a '' ''
h
t
tuỳ thuộc dạng ngưỡng hay trần cửa lấy nước. Vị trí trục
giới hạn C - C trên sơ đồ I được xác định theo hệ thức sau:
h '' ph ( h h ) ; h' h h'';
t t t t t t
Trong đó: ht - chiều sâu nước trước cửa lấy nước, h - chiều cao ống dẫn nước, các ký hiệu khác thể hiện trên hình (10-18,a). Biểu đồ bên phải (hình 10-18,b) cho thấy tổn thất thuỷ lực trong khe van sẽ nhỏ nhất khi khoảng cách hai mép sát nhau của hai rãnh khe van là lMK = 1,5lK . Theo kinh nghiệm để giảm tổn thất thuỷ lực, mép sau của khe van theo chiều dòng chảy cần làm vát sâu vao trụ pin một chút: = lK tg(50 60) và chiều dài phần vát đó lCK 12 nếu phần vát thẳng, và lCK 6 nếu phần vát lượn cong.
Việc tính toán thuỷ lực cửa lấy nước bao gồm xác định kích thước và hình dạng cửa lấy nước, tính toán tổn thất thuỷ lực và khả năng tháo lưu lượng của cửa lấy nước ... được tiến hành tuân theo môn học Thuỷ lực và Thuỷ công đã biết.
Chương XI. BỂ LẮNG CÁT CỦA TRẠM THUỶ ĐIỆN
XI. 1. CÔNG DỤNG VÀ PHÂN LOẠI BỂ LẮNG CÁT
XI. 1. 1. Công dụng và điều kiện xây dựng bể lắng cát
Các con sông trong quá trình chảy đều mang theo phù sa lơ lửng và dòng phù sa đáy, đặc biệt các sông miền núi, có sông với dòng chảy trung bình mang lượng phù sa lên tới 60 kg/m3. Cần phải lọc các hạt phù sa nầy ra khỏi dòng chảy để tránh làm mòn thành ống dẫn nước và các phần qua nước của thiết bị thuỷ lực nhằm khắc phục được sự cố và nâng cao tuổi thọ đường ống và thiết bị, tránh giảm hiệu suất turbine. Biện pháp công trình để lọc phù sa lơ lửng là xây dựng bể lắng cát trên đường dẫn.
Ở TTĐ kiểu đập do có hồ chứa lớn nên các hạt bùn cát nguy hiểm đã được lắng đọng ở đáy hồ và do đó không cần phải có giải pháp chống tác động của bùn cát cho các công trình dẫn nước. Ở các TTĐ đường dẫn với công trình đầu mối cột nước thấp, trong cửa lấy nước thường bố trí các bộ phận ngăn cản dòng bùn cát đáy xâm nhập vào công trình đường dẫn (xem chương X), còn các hạt bùn cát lơ lửng nguy hiểm được lắng đọng và tháo khỏi bể lắng cát đặt ngay đầu đường dẫn, sát sau cửa lấy nước. Trường hợp địa hình không cho phép bố trí trong thành phần đầu mối thì bể lắng cát được bố trí trên kênh dẫn cách đầu mối một đoạn, cũng có thể kết hợp lắng và tháo cát ở bể áp lực.
Để lắng được bùn cát thì vận tốc dòng chảy trong bể phải giảm nhỏ, thường lấy từ (0,1 - 0,5) m/s, do vậy mặt cắt ướt của bể lắng phải lớn hơn nhiều so với mặt cắt ướt của đường dẫn nước. Giải pháp bể lắng cát được đặt ra khi hàm lượng bùn cát trong dòng chảy lớn hơn 0,5 kg/m3 hoặc hàm lượng hạt nguy hiểm (các hạt bùn cát cứng có đường kính d 0,25 mm hoặc hạt mềm hơn có d > 0,4 mm được coi là hạt nguy hiểm) lớn hơn 0,2 kg/m3. Do kinh phí xây dựng bể lắng cát rất lớn , chiếm từ 20 - 25 % vốn đầu tư công trình thuỷ điện, do vậy việc xây dựng nó phải qua luận chứng kinh tế kỹ thuật các giải pháp công trình, ví dụ so sánh giữa việc xây dựng bể lắng với chi phí nạo
vét bùn cát trong công trình hoặc chi phí sửa chữa turbine trong trường hợp không xây bể ..v.v.. xem giải pháp nào lợi hơn để chọn.
XI. 1. 2. Nguyên lý về cấu tạo bể lắng cát.
Hình (11-1) trình bày ba bộ phận chính của bể lắng cát gồm: phần vào 2, phần thân (gồm đoạn chuyển tiếp 5 và đoạn công tác 4), phần cửa ra (gồm ngưỡng cửa ra 7 và đoạn nối tiếp với kênh dẫn 8):
- Phần vào là đoạn nối tiếp 2, nối với kênh dẫn ; đoạn này có tiết diện mở rộng dần trên mặt bằng từ kênh 1 đến ngưỡng vào 3, có tác dụng phân phối dòng chảy vào bể lắng. Ngưỡng vào 3 có tác dụng và cấu tạo như một cửa lấy nước mặt. Trên ngưỡng bố trí rãnh hướng cửa van 14 (để hé mở van khi tiến hành xói rữa cát trong thân bể, hoặc đóng van làm khô bể khi sửa chữa).
- Phần thân của bể gồm hai đoạn: đoạn chuyển tiếp có chiều dài l1, được đào sâu dần xuống theo dòng chảy theo độ dốc hợp lý để chảy thuận. Đoạn thân chính 4 có chiều dài lK là đoạn công tác của bể, có độ dốc nhỏ để dễ chuyển bùn cát xuống. Đây là nơi lắng đọng loại bùn cát nguy hiểm. Các tường dọc 6 có tác dụng phân đều vận tốc.
- Phần cửa ra của bể: đây là ngưỡng ra 7, bên trên bố trí khe van cửa ra 15, khe van sửa chữa 16 và khe van tháo cát 13. Van 15 đóng khi sửa chữa bể cùng với đóng van 14. Van 13 mở khi tiến hành xói rữa bùn cát qua hành lang xả cát 10 vào hành lang chung 11 dưới ngưỡng. Đoạn nối tiếp ra nối với kênh dẫn được thu hẹp dần để dẫn nước vào kênh dẫn.
Hình 11-1. Các bộ phận của bể lắng cát.
XI. 1. 3. Các loại bể lắng cát
Có nhiều cách phân loại bể lắng cát. Dựa theo số ngăn của bể phân ra bể lắng một ngăn hoặc bể lắng nhiều ngăn, dựa theo đặc tính làm việc của bể phân ra: bể tháo rữa định kỳ và bể tháo rữa liên tục... Biện pháp tháo rữa bùn cát trong các bể có thể có nhiều cách : dùng dòng nước tốc độ lớn để cuốn trôi bùn cát (gọi là biện pháp thuỷ lực); có thể dùng cơ giới để khuấy và tháo bùn cát (gọi là tháo rữa cơ giới); hoặc cũng có thể kết hợp cả hai biện pháp trên (gọi là biện pháp hỗn hợp). Sau đây chúng ta xem xét các loại bể theo đặc tính làm việc.
1. Bể lắng cát tháo rữa định kỳ
Bể lắng cát xói rữa định kỳ có thể một ngăn hoặc nhiều ngăn. Khi phần dung tích chết với độ sâu hc (xem hình 11-1) đã lắng đọng nhiều bùn cát và đầy dần lên làm dòng chảy thu hẹp khiến vận tốc tăng lên đến mức có thể kéo bùn cát nguy hiểm vượt qua ngưỡng 7 vào kênh dẫn, cần phải tháo chúng khỏi bể lắng bằng các biện pháp đã nêu trên. Thông thường hay dùng biện tháo rửa bằng thuỷ lực. Khi tháo bùn cát, do dòng chảy trước ngưỡng ra bị xáo trộn mạnh có nguy cơ kéo theo bùn cát đã lắng vào đường dẫn, do vậy nếu bể lắng chỉ có một ngăn thì khi xói rửa bùn cát phải tạm ngừng cấp nước. Nếu bể lắng có nhiều ngăn (hình 11-1 và 11-2) thì tiến hành xói rửa định kỳ lần lượt các ngăn và chỉ ngừng cấp nước ở ngăn đang xói rửa. Bể xói rửa nhiều ngăn được dùng nhiều hơn loại chỉ có một ngăn do tính chất cấp nước liên tục và khả năng phân phối đều vận tốc dòng chảy theo hướng ngang của nó, thường bể có từ 2 - 6 ngăn.
Công việc tháo rửa bùn cát trong các ngăn tiến hành cách sau (hình 11-1): trước tiên đóng các cửa van 14, 15 ở đầu và cuối ngăn bể cần rửa; sau đó mở cửa van tháo cát 13 để tháo cạn nước trong ngăn; tiếp đến hé mở cửa van đầu ngăn 14 để tạo dòng chảy xiết cuốn bùn cát vào các hành lang 10, 11 đưa bùn cát cần tháo về kênh tháo rửa 12.

Hình 11-2. Sơ đồ bể lắng cát nhiều ngăn (của TTĐ Tritrick ở Liên xô cũ).
1- các ngăn; 2- đoạn nối tiếp với kênh dẫn; 3- kênh dẫn; 4- tường ngực; 5- rãnh van sửa chửa; 6- van công tác; 7- tời điện; 8- lưới phân phối; 12- hành lang thu cát; 13- kênh tháo cát; 16- đập tràn.
Để tăng hiệu quả xói rửa, đáy dốc được chọn i = (0,01 - 0,05), nếu bể có chiều rộng lớn người ta làm các tường gân dọc có đỉnh cao hơn mực nước cao nhất của bùn cát một ít để tăng vận tốc tháo nước.
2. Bể lắng cát xói rửa liên tục

Hình 11-3. Sơ đồ một số loại bể lắng cát xói rửa liên tục .
Bể lắng cát xói rửa liên tục có có cấu tạo như sau (hình 11-3,a): dọc đáy bể của mỗi ngăn người ta bố trí một hành lang tập trung bùn cát tiết diện nhỏ 8, bên trên hành lang này đặt lưới chắn rác 7 với các thanh 14 đặt theo phương nằm ngang. Bùn cát đọng sẽ qua lưới vào hành lang tập trung chảy có áp với lưu lượng tăng dần và qua hành lang xả cát 13 nằm dưới ngưỡng trả bùn cát về lại sông. Đối với bể lắng có bề rộng lớn người ta xây các tường dọc (hình 11-3,b) và đặt một số hành lang tập trung bùn cát đáy riêng. Hình (11-3,c) trình bày loại bể lắng cát xói rửa liên tục của I. F. Iarôsen, ở bể này ở đáy có đặt nhiều hành lang đáy, các hành lang này chạy dọc theo chiều dài các ngăn và có những lỗ hình khe dọc từ đáy bể lắng xuống. Bùn cát liên tục được cuốn xuống và mang về hạ lưu cùng với nước xói rửa. Để bùn cát dễ lắng đọng và cuốn trôi thì đáy và từng ngăn được làm có độ dốc. Hình (11-3,e) là loại bể có hành lang xói rửa dọc có khe
đứng, nước mang bùn cát qua các lỗ đáy 4 lên khe đứng và đi vào các máng xả cát 6. Loại này tháo bùn cát rãi đều trên tuyến và đỡ tắc rác hơn các sơ đồ a, b, c và e.
Nhược điểm của bể lắng xói rửa liên tục là tốn nước liên tục trong quá trình vận hành (thường 10 - 15% lưu lượng qua bể lắng) và hành lang xói cát dễ bị tắc, khó dọn rác, do vậy mà trong mùa kiệt nó thường vận hành theo nguyên tắc xói rữa định kỳ để tiết kiệm nước. Tuy nhiên nó có ưu điểm là khi xói rửa không nghỉ vận hành trạm.
Việc tháo rửa bể lắng thường dùng chủ yếu là rửa bằng nước, tuy nhiên còn có thể dùng máy hút bùn để tháo rửa liên tục. Ngoài ra còn có thể kết hợp tháo cát bằng thuỷ lực và cơ giới (hình 11-3,g). Ở phương pháp này bùn cát từ các ngăn 1 chảy vào hành lang góp 2 rồi tập trung vào giếng 14, máy bơm bùn cát 8 sẽ bơm tháo xuống hạ lưu sông.
XI. 2. TÍNH TOÁN THUỶ LỰC BỂ LẮNG CÁT
Tính toán thuỷ lực bể lắng cát bao gồm xác định các kích thước công tác của bể (chiều dài lK, chiều rộng B, chiều sâu h0 xem ký hiệu trong hình 11-1) và xác định thời gian tháo rửa bùn cát lắng đọng trong bể.
Các kích thước B, h0 liên hệ nhau theo quan hệ B h0 = Q/V. Trong đó V là vận tốc trung bình trong bể theo phương ngang, thường lấy trong khoảng (0,2 - 0,5)m/s. Khi giảm h0 thì chiều dài công tác lK sẽ giảm và B sẽ tăng lên (hay số khoang tăng lên), hoặc ngược lại. Vì vậy phương án tối ưu phải là tối ưu cho các thành phần kích thước của bể. Để chọn phương án, ta giả thiết một số phương án h0 (thường lấy h0 từ 3- 3,5) m, trường hợp lưu lượng lớn có thể lấy 6 - 8 m), rồi tính ra B và lK và số ngăn bể, tính toán khối lượng phương án để so sánh chọn phương án có lợi. Đối với bể xói rửa định kỳ chiều cao tổng cộng của bể còn tính đến lớp bùn cát ứng với dung tích chết là hC (hình 11-1); thường lấy hC khoảng 20 - 25% chiều sâu toàn bộ của nước trong bể (đối với bể xói rửa liên tục thì hC = 0) và hC được chọn kết quả cuối cùng theo thời gian làm đầy dung tích chết của bể. Sau đây trình bày nội dung tính toán các thông số .
XI. 2. 1. Xác định chiều dài công tác của bể lắng cát
Xét quỹ đạo chuyển động của một hạt bùn cát M trong dòng chảy ở thời điểm bất kỳ tại mặt cắt 1-1 (hình 11-1, ở đầu chương). Hạt M tham gia đồng thời hai chuyển
động: chuyển động theo phương nằm ngang với vận tốc trung bình
V Q
x n Bn ho
( n -
số ngăn; Bn - chiều rộng mỗi ngăn; h0 - độ sâu công tác của bể tại tiết diện đang xét; Q - lưu lượng chảy qua bể) và chuyển động tương đối theo phương thẳng đứng dưới tác dụng của trọng lực với vận tốc lắng chìm của hạt trong nước ở trạng thái đứng yên là (còn gọi là độ thô thuỷ lực). Tổng hợp hai chuyển động này là vận tốc tuyệt đối của hạt.
Nếu xem vận tốc phân bố đều theo chiều sâu và bỏ qua ảnh hưởng của dòng chảy rối thì quỹ đạo chuyển động của hạt M sẽ là đường thẳng nghiêng góc với phương ngang (đường AO hình 11-4,b). Thực tế vận tốc phân bố không đều theo chiều sâu dòng chảy, do đó quỹ đạo chuyển động của hạt là đường cong, tốc độ chảy càng lớn thì chiều dài để lắng hạt cát càng dài. Mặt khác độ rối của dòng chảy làm cho phương chuyển động của hạt thay đổi thành đường dích dắc (hình 11-4,a). Mạch động theo phương đứng làm giảm tốc độ lắng chìm của hạt, làm tăng chiều dài lắng đọng l và chiều dài công tác lK của bể. Độ rối dòng chảy phụ thuộc nhiều yếu tố trong đó có sự phân bố lưu tốc không đều theo chiều sâu và chiều ngang.
Sau đây trình bày một số cách tính lK cho bể tháo rửa định kỳ:






