1. Buồng điều áp viên trụ
BĐA loại trụ (sơ đồ I): có mặt cắt ngang không đổi. Buồng loại này được sử dụng khi trạm thủy điện có cột nước thấp, xây lộ thiên trên mặt đất. Ở cửa vào buồng hầu như cột nước lưu tốc bị tổn hao, gây nên tổn thất phụ về năng lượng. BĐA viên trụ
có nhược điểm tắt sóng chậm và khối lượng lớn.
2. Buồng điều áp có cản phụ

BĐA loại có cản phụ (sơ đồ II hình 15-2): khác với loại hình trụ đơn giản ở trên, người ta đưa vào vị trí nối tiếp giữa đường dẫn áp lực và bể một kết cấu cản thủy lực có dạng mặt cắt co hẹp hoặc hình thức khác (như lưới, lỗ cản, màn cản). Ở chế độ làm việc ổn định cản phụ không làm việc do vậy cột nước lưu tốc ở cửa vào BĐA không bị mất. Ở chế độ làm việc không ổn định, trên cản phụ xuất hiện sự chênh áp lực gây nên việc tắt nhanh giao động trong BĐA và giảm biên độ giao động mực nước trong bể áp lực. Tuy nhiên do có cản phụ làm cho áp lực nước va trong ống turbine tăng so với không có cản phụ, thậm chí áp lực nước va còn lấn sang đường dẫn áp lực trước buồng điều áp. Loại này cũng được xây dựng lộ thiên, làm bằng kim loại hoặc bêtông cốt thép và dùng cho TTĐ cột nước vừa và thấp. Đây cũng là loại hay được dùng.
Hình 15-2. Các loại buồng điều áp.
Có thể bạn quan tâm!
-
Vẽ Biểu Đồ Áp Lực Nước Va Dọc Theo Tuyến Ống -
Chọn Toạ Độ Trường Và Biểu Diễn Các Nhóm Phương Trình Mắc Xích -
Một Số Quy Định Về Trị Số Giới Hạn Max Trong Tính Bảo Đảm Đc Tổ Máy -
Trường Hợp Không Xét Tới Sức Cản Thuỷ Lực -
Đồ Giải Đối Với Bđa Hình Trụ Có Cản Phụ -
Phân Loại Theo Điều Kiện Nhà Máy Chịu Áp Lực Nước Thượng Lưu
Xem toàn bộ 317 trang tài liệu này.
1 - BĐA loại trụ. 2- BĐA loại có cản. 3- BĐA loại hai buồng . 4- BĐA loại vi sai. 5- BĐA hơi nén
3. Buồng điều áp buồng
BĐA loại hai buồng (sơ đồ III ): gồm một giếng đứng tiết diện nhỏ nối buồng trên và buồng dướ. Buồng trên có tác dụng trữ nước khi giảm tải và buồng dưới có tác dụng bổ sung nước vào ống turbine khi tăng tải của các tổ máy.. Trong những điều kiện đó, khi giảm tải một lượng nước lớn được trữ vào buồng trên của bể. Buồng trên có thể làm ở dạng giếng đào hở (xem hình 15- ), với kết cấu này khi ngắt tải sẽ có một lượng nước lớn vào buồng trên và tháo qua đập tràn để giảm khối lượng xây dựng buồng điều áp. Loại BĐA này có khả năng phản sóng tốt, tắt giao động nhanh, ổn định sóng tốt. Nó được sử dụng hợp lý với TTĐ cột nước cao với BĐA đặt ngầm dưới lòng đá chắc và khi hệ thống dẫn nước áp lực dài.
4. Buồng điều áp vi sai
BĐA vi sai (sơ đồ IV, hình 15-2): đây là loại kết hợp đặc tính của loại hai buồng và loại có cản, nó gồm ống lớn bao ngoài và ống nhỏ nằm bên trong ống lớn. Ống nhỏ nối với đường dẫn và ống turbine bằng đoạn ống đứng ngắn. Ở đáy ống trong khoét những lổ, qua những lổ đó nước từ bể vào ống turbine khi tăng tải. Sự làm việc của các lổ này khi tăng tải giống như sự làm việc của nút cản trong BĐA có cản. Khi giảm tải, nước nhanh chóng dâng qua đỉnh ống trong và tràn vào khoảng giữa hai ống. Lượng nước tháo qua lổ cản lúc nầy không lớn. Khi tăng tải, mực nước trong ống trong nhanh chóng hạ xuống tạo nên độ dốc đo áp lớn trong đường dẫn áp lực làm tăng lưu lượng trong đó. Do chênh lệch mực nước giữa các ống, nước từ ống ngoài qua các lổ chảy vào ống dẫn turbine. BĐA vi sai thường được dùng trong trường hợp khi điều kiện địa hình không cho phép dùng loại hai buồng, cần phải xây dựng BĐA vi sai bằng thép hoặc bêtông cốt thép xây nổi trên mặt đất.
Ngoài bốn loại buồng điều áp cơ bản đã trình bày ở trên, đôi khi còn có thể dùng loại buồng khí nén và nửa khí nén sau đây:
Loại buồng điều áp khí nén (sơ đồ V) : Trên măt nước là khoảng không gian kín được giữ một áp lực khí tương đối cao, áp lực nước ổn định khi chế độ làm việc là ổn định. Khi giảm tải, mực nước trong buồng dâng lên làm tăng áp lực không khí, còn khi tăng tải mực nư giảm và áp lực không khí giảm. Loại BĐA khí nén có đặc điểm là phần trên của nó có thể đặt thấp hơn mực nước thượng lưu, điều này đôi khi là có lợi cho việc bố trí các công trình.
Loại buồng điều áp nửa khí nén (sơ đồ VI): loại này có đặt lỗ nhỏ thông khoảng không gian phía trên của buồng với khí trời. Khi làm việc ở chế độ ổn định thì áp lực mặt nước thoáng trong buồng bằng lực khí trời và khi mực nước tăng thì áp lực tăng còn khi mực nước hạ thì áp lực giảm. Việc thay đổi áp lực này tạo khả năng giảm kích thước của buồng điều áp. Cần lưu ý rằng BĐA nửa khí nén luôn phải đặt cao hơn mực nước hồ, đó là điểm khác biệt với loại BĐA khí nén.
XV. 2. 2. Kết cấu buồng điều áp
Các giải pháp kết cấu BĐA đảm bảo ba yêu cầu sau:
- Phải đảm bảo cho nó làm việc an toàn ở mọi chế độ làm việc không ổn định.
- Kết cấu buồng điều áp phải chọn đơn giản;
- Phải đảm bảo việc xây dựng BĐA đưa lại lợi ích cho các công trình và thiết bị khác của Trạm thuỷ điện về mặt kinh tế .
Nếu có điều kiện thì cố gắng xây dựng BĐA trong đá cứng chắc để giảm vật liệu xây dựng, tuy nhiên dối với đập đất thì thường chọn BĐA loại tháp nổi trên mặt đất. Sau đây chúng ta xem xét một số kết cấu BĐA đã được xây dựng trên thế giới.
Trạm TĐ Aphure ở Ma rốc (hình 15-3) có N = 92MW, giao động cột nước trong

Hình 15-3. Buồng điều áp của TTĐ Aphure
khoảng 228÷235m, Q = 48m3/s , tunel áp lực đường kính 4m, dài 10,5km. BĐA loai trụ có cản, đường kính 30 m cao 26 m. Buồng điều áp được nối với đường ống áp lực qua đoạn nối có chiều cao 7,1m đường kính 4m. Chỗ tiếp giáp đường dẫn và đoạn nối bố trí màng cản có đường kính d = 1,95m. Mực nước dâng cực đại trong buồng so với mực nước hồ cao nhất khi giảm tải là = 4,52m.
Trong điều kiện ở đây có đường dẫn dài, chọn BĐA kiểu buồng sẽ kinh tế hơn, tuy nhiên do điều kiện địa hình nên BĐA chỉ có thể đặt lên phía trên cách nhà máy 2 km, do vậy kéo dài đường ống turbine làm tăng áp lực nước va uy hiếp công trình. Ở đây thiết kế với hệ số sức cản làm cho nước va nhảy sang cả đường dẫn, tuy vậy áp lực nước va không vượt quá trị số áp lực trong đường dẫn khi mực nước trong BĐA lớn nhất, bởi vậy trị số sức cản lớn đã được bù đắp. Ở đây đường kính BĐA 30m qúa lớn vượt qúa yêu cầu ổn định sóng. Mực nước trong trụ dâng lên rất chậm, và tắt sóng lâu (sau TS = 10s mà mực nước chỉ dâng được có 0,5m). Mực nước dâng tương đối nhỏ, khoảng 4,52m là nhờ đường kính buồng lớn và hệ số sức cản lớn.
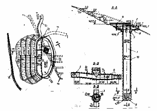
Trạm TĐ Inguri ở Nga (hình 15-4).Hồ lấy nươc sâu 90m, đường dẫn dài 15,3km

Hình 15-4. Buồng điều áp của TTĐ Inguri.
1- giếng điều áp; 2- buồng trên; 3- tunel đường dẫn; 4- cầu công tác; 5- đường hầm thi công; 6- ống turbine; 7- bêtông cốt thép; 8- màng xi măng; 9- áo thép; 10- cuối áo thép; 11- đường; 12- tường bêtông; 13- tường chắn bêtông cốt thép; 14- rãnh chắn đá núi.
đường kính tunel 9,5m. Với điều kiện này chọn BĐA loại buồng có tràn là hợp lý. Giao động cột nước của trạm từ 445 - 325m, lưu lượng tính toán là 460m3/s khi vận tốc 6,6 m/s. Theo điều kiện ổn định chọn đường kính BDA là 20m. Giếng BĐA nối với đường dẫn qua đoạn ống ngắn có đường kính bằng đường kính giếng. Chỗ nối tiếp này tạo nút
cản có hệ số cản = 2. BĐA này là loại chỉ có một buồng trên với sức chứa khi giảm tài đến độ mở không tải các turbine (ứng với lưu lượng không tải là 40 m3/s) là 60000m3 Điều này cho phép giảm thể tích buồng trên 30000m3. Do không có buồng dưới
nên khi tăng tải thể tích nước trong giếng đứng sẽ đảm nhận. BĐA nằm trong các lớp đá vôi chặt. Buồng trên được thông với mặt đất tạo điều kiện thi công theo các phương pháp giảm giá thàễnây dựng .
Trạm TĐ Pređasô ở Italia (hình 15-5), có công suất 10,4 MW, một tổ máy, cột nước tính toán 184 m, đường hầm dài10,6 km có đường kính 2,14 m, lưu lượng 12 m3/s.
Hình 15-5. Buồng điều áp của TTĐ Pređsô.
a) Cắt qua BĐA; ) Bình đô bố trí; b) Cắt qua buồng trên; c) Cắt qua buồng dưới.
1- đường dẫn; 2- ống turbine; 3- buồng trên; 4- buồng dưới; 5- ống thông khí; 6- giếng đứng; 7- đập tràn; 8- lỗ tràn nước từ buồng trên; 9- dầm của palăng xích; 10- thông khí; 11- van ống turbine.
Sử dụng BĐA loại hai buồng cao 79m, buồng trên có dung tích 550m3, ngăn dưới có dung tích 243m3, nối giữa chúng là giếng đứng có đường kính 3m. Ngăn trên có trần bằng bêtông cốt thép, dưới trần đặt ray của pa lăng xích và cung cấp khi vào buồng bởi ống 5. Để giảm tải trọng tác dụng lên trần của buồngtrên khi đột ngột thay đổi mực nước trong buồng người ta bố trí thông khí 10. Khi cửa van 11 ở đầu ống turbine đóng
nhanh, không khí sẽ theo ống 5 có đường kính 80cm đặt dọc theo giếng đứng để vào buồng trên. Việc tháo nước buồng trên qua bốn lỗ tràn. Từ BĐA đưa nước về nhà máy qua ống turbine có đường kính 1,9m và dài 385m.
Trạm TĐ Đenicon
ở Mỹ (hình 15-6). Nước được dẫn
đến năm turbine theo
những đường ống turbine riêng dài 314m có đường kính 6m. Trạm có cột nước giao động từ 22,7÷39,5m, tương ứng có lưu lượng giao động từ 157÷200m3/s. Hằng số quán tính Tl = 5,7÷7,8s do vậy tuy chiều dài đường dẫn không lớn vẫn phải xây dựng

Hình 15-6. Buồng điều áp của TTĐ Đenicon
BĐA hoặc đặt thiết bị tháo không tải. Đây là loại BĐA có cản phụ được đặt trực tiếp trước nhà máy và ống áp lực hoàn toàn được bảo vệ khỏi bị nước va. Vị trí BĐA bố trí như thế rất lý tưởng đối với TTĐ có cột nước thấp. BĐA làm bằng thép có đường kính 17,3m mỗi tháp, cao 29m và được đặt trên móng bêtông. Đoạn ống nối giữa tháp và đường dẫn có đường kính 6m và đặt màng cản có đường kính 5,06m tạo nên nút cản. Tuy vậy cần thấy rằng nếu thay BĐA bằng thiết bị tháo không tải ở đây sẽ rẻ hơn nhiều.
Trên đây là các BĐA thượng lưu nhà máy. Trên các TTĐ ngầm , khi đường tháo nước từ ống xả về hạ lưu có áp và chiều dài lớn thì có thể xây dựng BĐA hạ lưu ngay sau cửa ra ống xả. Diện tích mặt cắt ngang của BĐA hạ lưu được chọn dựa vào điều kiện làm việc ổn định của TTĐ, còn chiều cao của BĐA chọn xuất phát từ giao động mực nước khi giảm hoặc nhận tải với sự tính toán giao động mực nước ở hạ lưu. Ví dụ như BĐA hạ lưu của Trạm TĐ Xupic ở Ghinê (hình 15-7,a). BĐA ở trạm này xây dựng có chiều cao vừa đủ giao động mực nước hạ lưu. Nếu giao động mực nước hạ lưu thấp nên chọn hình thức tăng chiều dài của buồng vài trăm mét (hình 15-7,b) sẽ hợp lý hơn, và trên phần trần đường hầm xả bố trí màng cản dạng đục lỗ để tắt nhanh giao động
mực nước trong BĐA. Khi đường xả dài và giao động mực nước hạ lưu lớn thì ở cửa ra của đường hầm sử dụng BĐA hạ lưu kiểu có cản hoặc kiểu buồng.

Hình 15-7. Buồng điều áp hạ lưu kiểu trụ ở đường tháo TTĐ Xupichi.
Hình a) TTĐ Xupichi: 1- ống turbine; 2- nhà máy ; 3- BĐA hạ lưu; 4- đường hầm tháo nước.
b) Buồng điều áp hạ lưu: 1- BĐA; 2- màng cản (kết cấu cản); 3- giếng thông khí.
XV. 2. 3. Lựa chọn loại buồng điều áp
Việc lựa chọn loại BĐA tính đến những yếu tố sau: chiều dài đường dẫn và chiều dài đường tháo nước, lưu lượng turbine, độ thay đổi cột nước, điều kiện địa hình địa chất ở nút trạm và độ giao động mực nước thượng lưu. Chọn BĐA theo hướng sau:
- Khi đường dẫn kéo dài và chiều sâu tháo hồ lớn, cột nước tương đối lớn thì loại BĐA kinh tế nhất là loại buồng. Giếng đứng của loại này có kích thước mặt cắt ngang nhỏ, gần với kích thước mặt cắt ngang của đường dẫn, lượng nước tích cơ bản chủ yếu ở buồng trên với độ cao lớn, do vậy việc tắt giao động vận tốc trong đường dẫn sẽ nhanh .
- Cùng với việc giảm cột nước thoả mãn yêu cầu ổn định làm việc của TTĐ thì diện tích mặt cắt ngang của BĐA yêu cầu tăng và kiểu BĐA cần có dạng trụ. Tuy nhiên BĐA loại trụ không phải là loại công trình kinh tế (mặt dù nó hay được dùng) vì cột nước vận tốc ở chỗ tiếp giáp giữa BĐA với đường dẫn gần như mất hoàn toàn. Vì vậy để cải thiện kết cấu BĐA hình trụ người ta đưa vào nút cản thuỷ lực.
- Khi điều kiện địa hình - địa chất và điều kiện địa hình ở nút trạm bất lợi cho việc dùng BĐA loại buồng trong khối đá đào (do phải kéo dài ống turbine, làm tăng nước va trong ống turbine) thì nên dùng loại BĐA có cản thay thế. Để cải tiến loại BĐA có cản, người ta làm mặt cắt ngang tăng dần theo chiều cao để duy trì áp lực nước không đổi ở cuối đường dẫn trong giai đoạn dâng mực nước.
- Trên TTĐ đường dẫn ngắn và cột nước không lớn, khi hằng số quán tính từ Tl 4(s) thì loại BĐA có cản là loại kinh tế hơn cả.
Tuy nhiên chọn loại BĐA nào phải qua so sánh kinh tế để chọn.
XV. 3. PHƯƠNG TRÌNH VI PHÂN CƠ BẢN CỦA BUỒNG ĐIỀU ÁP
Để xác định kích thước BĐA và áp lực nước trên đường dẫn và ống turbine chúng ta cần phải xác định được giao động mực nước trong BĐA ở chế độ làm việc không ổn định của nó. Trước tiên ta lập các phương trình giao động mực nước trong nó.
XV. 3. 1. Phương trình động lực học
Cho sơ đồ ống áp lực có buồng điều áp dẫn nước đến turbine như hình (15-8,a). Giả thiết rằng nước không nén được và thành ống dẫn tuyệt đối cứng, áp lực tác động lên mặt nước thoáng của BĐA bằng áp suất khí trời, mặt cắt ngang của đường dẫn trong trường hợp tổng quát được chia ra một số đoạn như hình vẽ.

Hình 15-8. Sơ đồ tính toán để lập phương trình.
Phương trình Becnully đối với dòng chất lỏng không ổn định giữa hai mặt cắt trước cửa lấy nước A-A và mặt nước thoáng B-B của BĐA viết như sau:
pA V 2
pB V 2
1 dQ 2 dL
ZA
A A ZB
2g
B B h
2g tt g
dt f
(*)
1
Trong đó: là tổng tổn thất cột nước trên đoạn giữa các mặt cắt;
1 dQ 2 dL
1
g dt f
là cột nước quán tính trong hệ thống "đường dẫn - BĐA".
Các ký hiệu còn lại thể hiện qua hình vẽ. Gọi diện tích diện tích mặt cắt ngang các đoạn là f1, f2, gọi diện tích mặt cắt ngang BĐA là F, cột nước quán tính viết:
1 dQ 2 dL
1 dV
1 dV
dQ dL
1 2
1L 2L bda
(**)
g dt 1 f
g dt
g dt
dt F
Trong công thức (**): Qbda là lưu lượng qua BĐA. Vì quán tính của khối nước trong BĐA nhỏ, nên trong vế phải công thức (**) bỏ qua thành phần thứ ba. Gọi Z là chiều cao xác định mực nước trong BĐA, theo hình vẽ (15-8) thì:
p A
Z =
ZA
ZB
; từ công thức (*) và (**) bỏ qua thành phần thứ ba, ta rút ra công
thức tính Z như sau:
Z = htt +
1 dV1 L
1 dV2 L
(15-1)
g dt
1 g dt 2
Việc đưa vào phương trình động lực học (15-1) chiều dài và tiết diện các đoạn đường dẫn khác nhau làm phức tạp tính toán, để đơn giản người ta dùng đường dẫn
"tương đương" (có chiều dài L , tiết diện f , vận tốc trong đường dẫn V) thay cho đường dẫn phức tạp ở trên. Chiều dài đường dẫn tương đương có thể xác định được khi sử dụng sự cân bằng giữa các thành phần quán tính của đường dẫn thực với các thành phần quán tính của đường dẫn tương đương, như sau:
1 dV1 L
1 dV2 L
1
1 dV
L f 1
dV
2
L f , từ đây ta có:
g dt
1 g dt
2 gf dt 1
gf2 dt
⎛L1 L2 ⎞
Ltd
⎜⎜
f
⎝1
⎟⎟f
f
2 ⎠
(***)
Đưa các yếu tố của đường dẫn tương đương vào phương trình (15-1) và biến đổi ta nhận được kết quả cuối cùng của phương trình động lượng (15-2):
dV
dt
g Ltd
(Z h
tt )
(15-2)
Trong đó: htt là tổng tổn thất cột nước từ công trình lấy nước đến BĐA bao gồm: tổn
thất cục bộ ở cửa lấy nước khi thay đổi mặt cắt đường dẫn, tổn thất cột nước do ma sát dọc đường dẫn, tổn thất cột nước ở chỗ tiếp giáp BĐA với đường dẫn.
Nếu đường dẫn có tiết diện không đổi thì chiều dài L = Ltd
XV. 3. 2. Phương trình liên tục
Nghiên cứu tại nút nối tiếp giữa đường dẫn - BĐA - ống turbine (hình 15-8,b), theo định luật liên tục của dòng chảy thì lưu lượng qua turbine (QT) sẽ bằng lưu lượng nước từ đường dẫn (Qd) cộng (hoặc trừ) lưu lượng từ BĐA (Qbda) chảy ra, nghĩa là:
QT = Qd + Qbda , hay viết cụ thể sẽ là:
QT = f V + F dZ
dt
Chọn trục Z có chiều (+) như hình (15-8,a) hướng từ trên xuống và xét dấu của vận tốc
dòng nước trong BĐA ( tức
dZ QT fV
dZ ) cuối cùng ta có phương trình liên tục sau:
dt
(15-3)
dt F
Trong đó: F là tiết diện BĐA (m2),
f, V lần lượt là tiết diện và vận tốc dòng chảy trong đường dẫn.
Dựa vào hai phương trình vi phân cơ bản (15-2) và (15-3) ở trên chúng ta sẽ tiến hành tính toán mực nước trong buồng điều áp. Việc tính toán theo hai phương pháp sau: Phương pháp giải tích và Phương pháp đồ giải. Sau đây sẽ lần lượt trình bày các phương pháp tính đó theo từng loại BĐA.
XV. 4. TÍNH TOÁN THUỶ LỰC BĐA BẰNG GIẢI TÍCH
Mục đích toán thuỷ lực BĐA nhằm xác định biên độ giao động mực nước trong BĐA (mực nước cao nhất và thấp nhất) để chọn loại và kích thước của BĐA hợp lý nhất theo điều kiện kinh tế và kỹ thuật. Khi tính toán giao động mực nước cần chú ý:
- Khi tính toán mực nước cao nhất trong BĐA lấy trường hợp an toàn với mực nước hồ là lớn nhất, tổn thất thuỷ lực là nhỏ nhất có thể xảy ra trong đường dẫn trong






