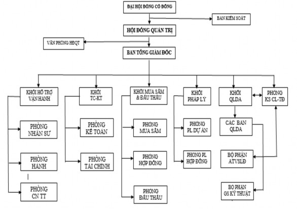
2.1.4. Cơ cấu tổ chức
- Hội đồng Quản trị:
- Ban Lãnh đạo Tập đoàn:
+ Tổng giám đốc
+ Phó Tổng giám đốc phụ trách các ban Quản lý dự án
+ Phó Tổng Giám phụ trách kinh doanh
+ Phó Tổng giám đốc phụ trách khối hỗ trợ vận hành
- Các Khối, Phòng ban chức năng:
+ Khối Hỗ trợ vận hành
+ Khối Tài chính - Kế toán
+ Khối Mua sắm & Đấu thầu
+ Khối Quản lý dự án
+ Phòng kiểm soát Chất lượng -Tiến độ
+ Các phòng chuyên môn khác.

Sơ đồ 2.1. Cơ cấu tổ chức Công ty cổ phần Tập đoàn MIK Group Việt Nam
(Nguồn: Phòng Kiểm soát Chất lượng - Tiến độ)
2.2. Thực trạng công tác quản lý an toàn vệ sinh lao động tại Công ty cổ phần Tập đoàn MIK GROUP Việt Nam
2.2.1. Những nguy cơ rủi ro về an toàn vệ sinh lao động tại các dự án xây dựng của Công ty
Xây dựng là một trong những ngành có nguy cơ cao gây tai nạn lao động cao nhất cả nước. Các tai nạn lao động, bệnh nghề nghiệp xảy ra trong lĩnh vực xây dựng chủ yếu liên quan đến quá trình sử dụng điện, ngã cao, các yếu tố liên quan đến quá trình mang vác và vận chuyển vật liệu, tiếp xúc vật liệu công nghiệp… Bên cạnh đó sự thiếu hiểu biết của lao động phổ thông trong xây dựng về An toàn vệ sinh lao động, thiếu các kỹ năng về đánh giá, phát hiện rủi ro và tư tưởng chủ quan cũng là một trong những nguyên nhân gây ra tỉ lệ tai nạn lao động và bệnh nghề nghiệp cao trong ngành này. Chính vì vậycác công trường xây dựng đều phải tuân theo các quy định của của nhà nước nhằm giảm thiểu rủi ro và con số các vụ tai nạn lao động xảy ra.
Công ty cổ phần Tập đoàn MIK GROUP Việt Nam là một trong những chủ đầu tư các dự án chủ yếu xây dựng nhà cao tầng. Do vậy, nguy cơ, rủi ro xảy ra tai nạn lao động không nằm ngoài các nguyên nhân dưới đây:
* Tai nạn do ngã cao
Nhiều vụ TNLĐ ngã cao thường có số người tử vong chiếm tỷ lệ cao so với những vụ TNLĐ do nguyên nhân khác. Hiện tại Công ty cổ phần Tập đoàn MIK GROUP Việt Nam là chủ đầu tư các dự án xây dựng và đặc biệt là nhiều dự án chung cư cao tầng. Do vậy, nguy cơ ngã từ trên cao trong quá trình người lao động thi công trên công trường không thể không có. Những công trình trong quá trình xây dựng thì mép biên trên các tầng, các lỗ mở thông tầng, hộp kỹ thuật, thang bộ thang máy hay làm việc trên dàn giáo bao che đều có rủi ro ngã cao nếu như không có các biện pháp kỹ thuật an toàn hay người lao động không tuân thủ đầy đủ, mang đeo PTBVCN.
* Vật rơi, văng bắn
Vật rơi văng bắn và nhất là từ trên cao xuống dưới cũng là một trong những nguyên nhân gây TNLĐ trên công trường xây dựng. Đó là các vật tư trong quá trình cẩu lên trên sàn không được bó buộc chắc chắn, rời vụn , các vật tư văng bắn từ trên cao do thao tác kỹ thuật không chuẩn, không có biện pháp che chắn vật rơi theo quy định.
* Tai nạn do điện
Các công trình để phục vụ thi công bắt buộc phải sử dụng hệ thống điện tạm. Nếu như hệ thống điện tạm lắp đặt không tuân thủ theo quy chuẩn an toàn về điện trong xây dựng thì nguy cơ xảy ra TNLĐ do điện cao. Tai nạn chết người do điện giật thường do dây điện hở tiếp xúc vào cấu kiện sắt, máy móc thiết bị tiêu thụ điện không an toàn,dây điện để dưới đất, nền sàn thi công, hư hỏng hệ thống đường điện ngầm, đường dây điện trên cao.… nếu như hệ thống điện không có thiết bị an toàn chống rò điện, quá tải, hay không được nối đất.
* Tai nạn do xe máy xây dựng, thiết bị nặng
Tại các dự án xây dựng củaCông ty cổ phần Tập đoàn MIK GROUP Việt Nam , TNLĐ có thể xảy ra do máy thiết bị có yêu cầu nghiêm ngặt về ATVSLĐ như cần trục tháp, cẩu tự hành, vận thăng, cần phân phối bê tông. Các thiết bị này trong quá trình sử dụng nếu không được kiểm định trước khi lắp đặt theo quy định. Trong quá trình sử dụng không được định kỳ kiểm tra bảo dưỡng tình trạng thiết bị.Thợ vận hành không được đào tạo đúng chuyên môn cũng như trong khi vận hành không tuân thủ quy trình làm việc an toàn. Ngoài ra, các phương tiện vận tải, máy xây dựng như: ô tô, xe cẩu, máy xúc khi di chuyển trên đường giao thông nội bộ trong công trường cũng dễ gây TNLĐ nếu như không có biển hạn chế tốc độ và tuân thủ các quy định về giao thông trên công trường.
* Tai nạn do thi công phần ngầm công trình
Các nhà chung cư cao tầng khi thiết kế đều phải tạo phần móng vững chắc bằng cọc khoan nhồi. Tiếp đó phải tiến hành đào đất để thi công tầng
hầm. Tùy theo công năng sử dụng của tòa nhà mà tính toán sao cho số lượng tầng hầmđáp ứng theo quy chuẩn trong xây dựng. Toàn bộ giai đoạn thi công này gọi là thic ông phần ngầm công trình. Vì vậy trong quá trình thi công cọc khoan nhồi và đào đất có nhiều hố móng sâu có nguy cơ rơi ngãhoặc đất đá khi đaò được đắp lên mép hố móng quá cao có thể gây sạt nở đất đá rơi xuống dẫn đến TNLĐ. Rủi ro gây TNLĐ chết người đối với công nhân xây dựng làm việc trên các công trường có hố sâu, hào rãnh được cho là cao hơn 112% so với các khu vực thi công khác.
* Chấn thương do mang vác
Hiện nay khoa học công nghệ phát triển, trong nghành xây dựng có sử dụng rất nhiều máy móc thiết bị để thay thế sức người đáng kể không những tăng năng suất lao động và đảm bảo an toàn hơn cho người lao động. Tuy nhiên các dự án xây dựng vẫn phải có nhiều công việc thủ công như mang vác vật liệu nặng dẫn đến chấn thương.
* Tai nạn do cháy, nổ
Tần suất xảy ra cháy nổ lớn tại các dự án xây dựng thấp nhưng không phải không phải không có, nhưng nếu để xảy ra hỏa hoạn, cháy nổ thì để lại hậu quả vô cùng to lớn, thiệt hại về người và tài sản nghiêm trọng. Tại công trường xây dựng thường có những nguy cơ xảy ra cháy nổ chủ yếu là:
- Khi hàn cắt gần khu vực nhiều chất dễ cháy, trong kho chứa thiết bị điện nước trong giai đoạn hoàn thiện căn hộ có thể dẫn đến cháy và nổ bình gas, oxy và thiết bị áp lực khác.
- Hút thuốc và vứt tẩu thuốc cháy dở vào khu vực có chất dễ cháy
- Sử dụng lửa hay các công việc phát sinh nhiệt tại các khu vực có biển báo cấm lửa.
- Các vật liệu dễ cháy gần khu vực phát sinh nhiệt.
- Cất giữ và mang chất lỏng dễ cháy vào nơi làm việc: Xăng dầu, hóa chất…
2.2.2. Chính sách quản lý an toàn sức khỏe nghề nghiệp của Công ty cổ phần Tập đoàn MIK GROUP Việt Nam
Công ty cổ phần Tập đoàn MIK GROUP Việt Nam hoạt động chính trong lĩnh vực kinh doanh đầu tư bất động sản. Các dự án đang triển khai chủ yếu là xây dựng chung cư cao tầng tại Hà Nội, Thành phố Hồ Chí Minh và Phú Quốc. Nhận thức rằng con người là tài sản vô giá, Ban Lãnh đạo Công ty luôn đặt chính sách ưu tiên hàng đầu là đảm bảo tính mạng,sức khỏe nghề nghiệp cho toàn thể người lao động, các nhà thầu thi công và các đơn vị đối tác. Đây cũng là sự khẳng định giá trị thương hiệu, sự tồn tại và phát triển bền vững của công ty. Nội dung chính sách quản lý AT&SKNN là:
- Tuân thủ pháp luật chung và tiêu chuẩn, quy chuẩn liên quantrong ngành xây dựng.
- An toàn là trên hết, các hoạt động thi công xây dựng phải được đảm bảo an toàn và sức khỏe cho người lao động.
- Khuyến khích áp dụng hệ thống AT&SKNN đạt tiêu chuẩn quốc tế đối với các nhà thầu thi công tại dự án MIK Group đầu tư.
- NLĐ phải được đào tạo, huấn luyện theo quy định của pháp luật.
- Luôn tạo môi trường và điều kiên làm việc đảm bảo ATVSLĐ và người lao động được quyền từ chối trong khi làm việc nếu có nguy cơ mất an toàn.
- Xây dựng văn hóa an toàn và là mục tiêu quan trọng nhất của công ty.
- Giảm thiểu ô nhiễm môi trường , tiết kiệm năng lượng, hạn chế xử lý chất thái nguy hại, độc hại.
- Đảm bảo tính tuân thủ của mọi cấp trong công ty với chính sách này.
- Chính sách này sẽ được xem xét hàng năm và sửa đổi theo tình hình hoạt động thực tế, đồng thời đượctuyên truyền rộng rãi trong toàn công ty, được phổ biến đến khách hàng, nhà cung ứng và các bên có liên quan.
2.2.3. Tổ chức bộ máy làm công tác an toàn vệ sinh lao động
Công ty cổ phần Tập đoàn MIK GROUP Việt Nam trong quá trình thành lập và phát triển chưa lâu nhưng đến nay là một trong những nhà đầu tư trong lĩnh vực bất động sản lớn mạnh. Sự hài lòng của khách hàng qua nhiều dự án đã và đang đầu tư là kết quả tất yếu của cơ chế, hệ thống quản lý chuyên nghiệp của Ban lãnh đạo Công ty mà trong đó Hệ thống quản lý An toàn vệ sinh lao động cũng luôn được quan tâm. Để thống nhất công tác quản lý ATVSLĐ áp dụng cho các dự án trong quá trình thi công, công ty đã xây dựng “Quy định An toàn vệ sinh lao động” trên cơ sở các Văn bản pháp luật liên quan của nhà nước. Ban kiểm soát Chất lượng -Tiến độ -Thanh tra chịu trách nhiệm trước công ty về Công tác ATVSLĐ.
Ban kiểm soát Chất lượng -Tiến độ -Thanh tra:
![]()
![]()
Hiện tại Công ty có thành lập Bankiểm soát Chất lượng -Tiến độ - Thanh tra chịu sự chỉ đạo trực tiếp của Tổng giám đốc và chịu trách nhiệm trước Công ty về chức năng và nhiệm vụ được giao. Ban kiểm soát Chất lượng -Tiến độ -Thanh tra biên chế gồm có 01 Trưởng ban, 01 phó ban và 03 chuyên viên. Định kỳ mỗi tháng một lần kiểm tra các Ban Quản lý dự án tại các dự án của công ty đang triển khai thi công xây dựng
TỔNG GIÁM ĐỐC
PHÒNG KIỂM SOÁT CHẤT LƯỢNG - TIẾN ĐỘ
CHUYÊN VIÊN
KIỂM SOÁT ATVSLĐ
CÁN BỘ AN TOÀN DỰ ÁN | CÁN BỘ AN TOÀN DỰ ÁN | CÁN BỘ AN TOÀN DỰ ÁN |
Có thể bạn quan tâm!
-
Nghiên cứu đánh giá thực trạng công tác an toàn vệ sinh lao động và đề xuất các giải pháp quản lý cải thiện môi trường và điều kiện làm việc tại Công ty Cổ phần tập đoàn MIK Group Việt Nam - 2 -
Chương Trình Quốc Gia Về An Toàn – Vệ Sinh Lao Động -
Nguồn Lực Đầu Tư Cho Công Tác An Toàn Vệ Sinh Lao Động -
Tình Hình Tai Nạn Lao Động Và Bệnh Nghề Nghiệp Tại Các Dự Án Của Công Ty -
Một Cuộc Họp Của Nhà Thầu Thi Công Tại Dự Ánimperia Smart City, Quận Nam Từ Liêm, Hà Nội -
Phân Cấp Trách Nhiệm Cụ Thể Đối Với Các Dơn Vị Nhà Thầu Trong Công Tác Quản Lý An Toàn Vệ Sinh Lao Động Tại Các Dự Án
Xem toàn bộ 122 trang tài liệu này.
![]()
Sơ đồ 2.2. Tổ chức Phòng kiểm soát Chất lượng-Tiến độ
(Nguồn: Phòng Kiểm soát Chất lượng -Tiến độ)
* Chuyên viên kiêm nhiệm phụ trách công tác ATVSLĐ:
Ban kiểm soát Chất lượng-Tiến độ-Thanh tra được bố trí 01 cán bộ kiêm nhiệm về ATVSLĐ có nhiệm vụ kiểm tra định kỳ tại các dự án đang triển khai thi công. Việc kiểm tra thực hiện các nội dung hồ sơ pháp lý ATVSLĐ, Môi trường và PCCC của nhà thầu thi công và công tác chấp hành tuân thủ tại hiện trường thi công. Sau kiểm tra lập biên bản những tồn tại, sai phạm và yêu cầu Ban QLDA chỉ đạo nhà thầu khắc phục và xử phạt hành chính (nếu có).
* Cán bộ quản lý công tác ATVSLĐ của dự án:
Mỗi dự án khi triển khai thi công, công ty đều có quyết định bổ nhiệm cán bộ làm công tác quản lý an toàn vệ sinh lao động theo quy định tại khoản 1 điều 72 luật An toàn vệ sinh lao động và điều 36 Nghị định 39/2016/NĐ- CP. Tùy theo quy mô của dự án công ty sẽ bố trí nhân lực cho phù hợp để quản lý kiểm soát công tác an toàn lao động, vệ sinh môi trường, phòng chống cháy nổ của nhà thầu thi công. Nhìn chung cán bộ an toàn của mỗi dự án đều thực hiên tốt chức năng nhiệm vụ của mình, không ngừng sáng tạo, đề xuất những mặt tồn tại hạn chế các biện pháp an toàn thi công cũng như hoàn thiện hồ sơ pháp lý về an toàn của công ty và nhà thầu thi công. Tuy nhiên, là doanh nghiệp hoạt động trong lĩnh vực đầu tư xây dựng bất động sản, mỗi dự án đều có khó khăn riêng trong công tác quản lý ATVSLĐ. Mỗi dự án việc lựa chọn các các nhà thầu thi công cũng có năng lực khác nhau, vì vậy việc quan tâm đến công tác ATVSLĐ cũng không phải công ty nhà thầu nào cũng chuyên nghiệp dẫn đến việc thực hiện triển khai công tác an toàn cũng đạt được những hiệu quả khác nhau. Cán bộ an toàn dự án có nhiệm vụ sau:
- Trợ giúp Ban Kiểm soát Chất lượng - Tiến độ -Thanh tra trong việc quản lý và thực hiện công tác HSE.
- Triển khai kế hoạch HSE với các nhà thầu.
- Đảm bảo công tác kiểm tra hệ thống an toàn của dự án được thực hiện và báo cáo chuyên viên an toàn.
- Phổ biến đến các Nhà thầu các vấn đề liên quan đến an toàn, sức khỏe và phục hồi sức khỏe.
- Xem xét việc thực hiện của các Nhà thầu nhằm phát hiện ra những tồn tại cần được cải tiến tốt hơn.
- Kiểm tra các biện pháp thi công, đánh giá rủi ro công việc và đề xuất ý kiến để giảm thiểu các rủi ro.
- Tham gia họp để lập kế hoạch và thảo luận các vấn đề về HSE.
- Tham dự huấn luyện an toàn tuần công nhân toàn dự án để đánh giá việc thực hiện công tác an toàn trong tuần, thông báo các vi phạm an toàn và công bố các thẻ phạt.
- Tham gia kiểm tra công tác an toàn tuần và triển khai các vấn đề tồn tại đã được kiểm tra đến nhà thầu.
- Lập kế hoạch thực hiện các công tác huấn luyện HSE.
- Đôn đốc, kiểm tra và làm báo cáo các vấn đề HSE hàng ngày trên công trường.
- Dừng bất kỳ công việc nào có nguy cơ, rủi ro mất an toàn với sự phán quyết của mình và đưa các giải pháp rồi thông báo cho Trưởng BQLDA, trưởng bộ phận an toàn.
- Lưu giữ hồ sơ HSE của dự án.
- Thực hiện các công việc khác về công tác HSE khi được Trưởng BQLDA giao nhiệm vụ và ủy quyền.
2.2.4. Phân cấp trách nhiệm đối với cán bộ quản lý tại các ban Quản lý dự án
- Trưởng ban quản lý dự án:
+ Là người quản lý cao nhất tại dự án.
+ Phê duyệt các biện pháp thi công xây dựng.
+ Tổ chức và sắp xếp các nguồn lực cần thiết cho các vấn đề về HSE.
+ Thực hiện các đề xuất của cán bộ phụ trách an toàn liên quan đến công tác ATVSLĐ theo quy định của nhà nước.






