- Tháo nắp chụp đầu ti phuộc, một số dòng xe nắp đó là ốc lục giác tháo ra dễ dàng, đa số dòng xe đời mới hiện nay thì muốn tháo nắp chụp này phải kẹp đầu ti phuộc để ấn nắp xuống và tháo phe cài.


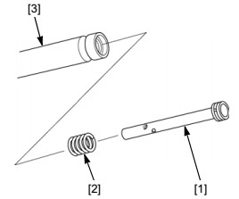
Hình 5.4. Tháo giảm xóc và tháo đai ốc pít tông
- Lấy lò xo chính ra ngoài, đổ dầu trong ti phuộc ra.
- Tháo phớt chắn bụi (1), vòng hãm (2), ra khổi ống giảm xóc (3), tháo phớt O (5).
Hình 5.5. Tháo phớt giảm xóc
- Tháo pít tông giảm xóc (1) và lò xo hồi vị (2) ra khỏi ống (3), tiếp théo tháo ống giảm xóc
Có thể bạn quan tâm!
-
Thứ Tự Các Chi Tiết Tháo Rời Của Phanh Xe -
Các Bộ Phận Tháo Rời Của Cụm Phanh Dưới ( Ngàm Phanh) -
Hư Hỏng Của Lò Xo Chạm Vào Giảm Chấn Gây Tiếng Kêu -
Nội Dung Tổng Quát Và Phân Phối Thời Gian: -
Sửa chữa xe máy - Trường CĐ Cộng đồng Lào Cai - 28 -
Sửa chữa xe máy - Trường CĐ Cộng đồng Lào Cai - 29
Xem toàn bộ 240 trang tài liệu này.


Hình 5.6. Tháo pít tông, ống giảm xóc
* Kiểm tra sửa chữa
- Kiểm tra ống giảm xóc (1) đo độ đảo giới hạn là 0.2 mm; kiểm tra ông giảm xóc (2); pít tông (3) xác đinh độ mòn, xước; kiểm tra độ mòn của xéc măng (4) lò xo hồi vị (5)


Hình 5.7. Kiểm tra các chi tiết của giảm xóc
- Vệ sinh các chi tiết, tiến hành đo đạc độ dài lò xo chính và lò xo phụ, kiểm tra độ dài các bước xoắn. kiểm tra phốt chắn dầu, phốt chắn bụi trên vỏ phuộc, vòng chắn dầu trên ống sáo.
*Lắp các chi tiết của giảm xóc.
Trước khi lắp vệ sinh sạch kiểm tra các chi tiết
- Lắp các chi tiết lại theo thứ tự, lưu ý chiều của lò xo chính, phần có bước xoắn nhỏ nằm dưới, phần có bước xoắn lớn nằm trên.

Hình 5.8. Thứ tự các chi tiết của giảm xóc
- Lắp vòng hãm phớt dầu đúng rãnh, lắp chắn bui


Hình 5.9. Lắp vòng hãm và phớt giảm xóc
- Kéo hết ti phuộc lên trên, đổ đủ lượng dầu phuộc mới vào theo như tài liệu sửa chữa hoặc theo như lượng dầu mình đã đổ ra.
- Giữ vỏ phuộc, đẩy ti lên xuống để dầu phuộc chảy xuống buồng chứa dầu ở vỏ phuộc.
- Kéo hết ti phuộc lên trên, đo khoảng cách từ đầu ti phuộc cho đến mực dầu phuộc, cân chỉnh cho mực dầu cả hai bên phuộc là như nhau.
- Lắp nắp bít đầu phuộc lại.
Hình 5.10. Đổ dầu và lắp lò xo
- Lắp chặt một bên phuộc vào chảng ba, xỏ cốt bánh qua hai bên phuộc, dịch chuyển bên phuộc còn lại, bảo đảm rằng cốt bánh quay trơn trong vỏ phuộc. Việc đó sẽ giúp cho hai bên phuộc được cân bằng.
1.3.3. Kiểm tra sửa chữa
2. Sửa chữa cổ phốt xe
2.1. Cấu tạo

Hình 5.11. Cấu tạo cổ phốt ( cổ lái)
2.2. Hiện tượng nguyên nhân hư hỏng
* Tay lái nặng.
- Nguyên nhân.
+ Bánh trước non hơi.
+ Mở cổ phuốc bị khô hoặc hết.
+ Cổ phuốc xiết chặt.
+ Bi cô phốc bị vỡ, kẹt.
- Khắc phục. + Bơm hơ bánh đủ áp suất
+ Bảo dưỡng và điều chỉnh đia ốc trục lái.
+ Tháo kiểm tra thay thế bi, bát phuốc
* Khi lái có tiếng kêu.
- Nguyên nhân.
+ Bi cổ phuốc mon, vỡ, kho dầu.
+ Bát phốt bị mòn, rỗ, mòn không đều.
+ Trúc láI cong, cổ phuốc lỏng.
- Khắc phục. + Bảo dưỡng, thay bi, bát phuốc và điều chỉnh.
+ Kiểm tra nắn lai trục lái.
2.3. Thực hành sửa chữa
2.3.1. Chuẩn bị
2.3.2. Các bước tháo lắp
- Tháo các ốp trên tay lái; tháo các bó dây ra khỏi kẹp cổ phuộc.
- Tháo ốc tay lái (1), bu lông(2), các ống nót trước và sau (3,4), tháo trục tay lái.


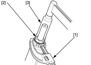
Hình 5.12. Tháo tay lái, đai ốc cổ phốt ( cổ lái)
- Tháo cổ lái gồm tháo bánh xe có thế tháo cả giảm xóc sau đó tháo các đai ốc hãm trên cổ.
- Tháo đai ốc chỉnh cổ lái, tháo mặt trong vòng bi, vòng bi và lấy cổ lái ra ngoài. Chú ý không làm rơi cổ



Hình 5.13. Tháo đai ốc chỉnh vong bi, cổ phốt ( cổ lái)
- Tháo vòng bi dưới và phớt chắn bụi ra
- Tháo ca vòng bi phía trên và phía dưới. ( nếu ca không hư hỏng khồng cần tháo)


Hình 5.14. Tháo ca bi cổ lái
* Kiểm tra sửa chữa
Vệ sinh sạch các chi tiết trên cổ lái
- Kiểm tra vòng bi và ca bi phía trên và dưới nếu thấy mòn xước thay mới
- Kiểm tra các phớt chắn bụi, hư hong thay mới
- Kiểm tra cong, nứt của trục lái.
* Lắp cổ tay lái.
Trình tự lắp ngược tháo, khi lắp cần cú ý:
- Lắp ca bi không bị lệch đóng vào hết hành trình; bôi mỡ đủ vào các ca bi, đối với bi rời không làm lệch bi và rơi bi khi hãm đai ốc chỉnh.
- Xiết đai ốc điều chỉnh vào hết và thực hiện kiểm tra bằng cách xoay cổ lái vài lần để vòng bi khít đều với ca.
- Xiết đai ốc và điều chỉnh tay lái sao cho nhẹ vag không có độ rơ.


Hình 5.15. Lắp cổ phốt ( cổ lái)
- Giữ đai ốc điều chỉnh và xiết chặt đai ốc hãm bảo đảm cổ lái vận hành êm không bị rơ hoặc bó. Lắp các bó dây và tay lái xiết chặn bu lông đai ốc xuyên tâm .


Hình 5.16. Điều chỉnh cổ lái và lắp tay lái
3. Bảo dưỡng xe máy
3.1. Quy trình bảo dưỡng xe máy
Phần khung sườn: kiểm tra vành xe, nan hoa, bảo dưỡng cổ phuốc, bảo dưỡng giảm sóc trước/ sau, bảo dưỡng phanh trước, bảo dưỡng các loại dây cáp, bôi trơn các chi tiết chuyển động, bảo dưỡng tra dầu tay ga cũng như dây ga.
Phần động cơ: bảo dưỡng chế hoà khí, rửa bầu lọc khí, chỉnh chế độ nhiên liệu, vệ sinh bugi, căn chỉnh xúp páp, điều chỉnh côn, đổ thêm nước nạp ắc quy, (kiểm tra) thay dầu máy. Đối với xe phun xăng điện tử, cần kiểm tra & vệ sinh vòi phun, kiểm tra/ thay thế lọc bơm xăng (nếu cần), kiểm tra hoạt động các cảm biến, các chi tiết trong hệ thống phụ xăng.
Hệ thống truyền lực: bảo dưỡng nhông xích tải, bảo dưỡng phanh sau, tra mỡ trục càng sau, kiểm tra cần khởi động, giàn để chân, xiết lại toàn bộ ốc trên hệ thống khung xe và công đoạn cuối cùng là rửa xe.

3.2. Các bộ phận cần bảo dưỡng xe máy số và tay ga
3.2.1. Thay dầu nhớt
Theo thời gian, dầu nhớt trong xe trở nên kém chất lượng làm giảm khả năng bôi trơn. Do vậy, bạn cần thay nhớt cho xe theo định kỳ khoảng 1.500-2.000 km một lần. Ngoài ra, cũng nên thay nhớt xe máy sau khi xe bị ngập nước.
Để xe được thay nhớt với chất lượng tốt nhất, bạn nên thay dầu theo đúng tiêu chuẩn được hãng xe đề nghị. Hiện nay trên thị trường có 3 loại dầu nhớt chính là: dầu nhớt tổng hợp (100% Synthetic-oil), dầu bán tổng hợp ( Semi-synthetic oil) và dầu khoáng (Mineral oil). Tuỳ vào loại xe bạn đang sử dụng để lựa chọn dầu nhớt thích hợp.
3.2.2. Thay dầu phanh và má phanh
Má phanh là bộ phận chuyển động năng thành nhiệt năng, giúp xe giảm tốc, do đó sẽ mòn dần theo thời gian. Má phanh mòn là một trong những nguyên nhân gây vênh đĩa






