chất độc hại từ các đối tượng mẫu khác nhau, chất phân tích có trong mẫu ở trạng thái rắn, bột, vật mẫu xốp khô (lá cây), v.v. Kỹ thuật trích ly này được ứng dụng chủ yếu để trích ly các HCBVTB từ các mẫu cây, lá, rau quả, thực phẩm, mẫu đất.
Ngày nay, kỹ thuật được cải tiến bằng cách sử dụng kỹ thuật siêu âm để hỗ trợ. Đó là kỹ thuật trích ly siêu âm. Nguyên tắc chung chung của kỹ thuật này cũng vẫn dựa trên cơ sở chung của kỹ thuậttrích ly là sự phân bố của chất vào hai pha không trộn lẫn vào nhau, chỉ có khác là ở đây được thực hiện trong môi trường có thêm tác dụng của năng lượng sóng siêu âm. Pha chứa mẫu phân tích cần trích ly là pha nước và pha lỏng để trích ly chất phân tích là dung môi hữu cơ (pha thứ hai) đều được cho vào bình trích ly, sau đó được đặt vào trong hộp trích ly của hệ trích lydưới tác dụng của sóng siêu âm thích hợp trong một thời gian nhất định (1,5 2 giờ). Kỹ thuật
trích ly này có thể được thực hiện ở hai trạng thái mẫu đồng thể và dị thể.
1.10.2.5 Kỹthuật trích ly lỏng có áp lực (PFE)
Kỹ thuật
này sử
dụng dung môi được tăng tốc gần tới vùng chảy tới
hạn, khi đó khả năng trích ly tốt hơn. Ở nhiệt độ cao, tốc độ trích ly tăng do độ nhớt và sức căng bề mặt của dung môi giảm trong khi tính hòa tan và tốc độ khuyếch tán của nó vào mẫu tăng lên. Áp suất giữ cho dung môi nằm ở dưới điểm sôi và khiến nó xâm nhập qua các lỗ nhỏ trên bề mặt mẫu. Sự kết hợp giữa nhiệt độ cao và áp suất đem lại hiệu quả trích ly cao hơn, do đó sẽ tối thiểu hóa lượng dung môi sử dụng và giúp trích ly triệt để hơn.
Thời gian
cần trích ly trên thực tế
có sự
độc lập với khối lượng mẫu và
hiệu quả trích ly chủ yếu phụ thuộc vào nhiệt độ. Hình 2 là một mô hình thiết bị PFE.
Mẫu được cho vào ngăn trích ly bằng thép không rỉ mà tại đó dung môi được bơm vào và đưa lên nhiệt độ và áp suất xác định. Thông thường nhiệt độ được giữ trong khoảng từ 80ºC đến 200ºC và áp suất trong khoảng từ 10 đến 20 MPa. Các điều kiện này được giữ nguyên trong vài phút để tạo sự dịch chuyển ổn định chất phân tích từ mẫu vào dung môi. Dịch trích ly được đẩy vào ống thu nhận bởi một lượng dung môi thứ 2 và lượng dung môi thứ 2 này cũng được đẩy vào ống đó bởi một dòng khí trơ. Toàn bộ quá trình diễn ra trong 15 – 20 phút.
Khi thao tác với mẫu ẩm, để tránh hiện tượng vón cục, có thể sử dụng điatomit (kizegua). Điatomit khi tro hóa có chứa khoảng 65 – 87% SiO2, 2,3 – 11,7% Al2O3, gần 3% Fe2O3 và vết CaO, MgO, Na2O và K2O.
Phương pháp thực hiện thường cho kết quả trung thực vì các điều kiện gần giống như trích ly bằng Soxhlet

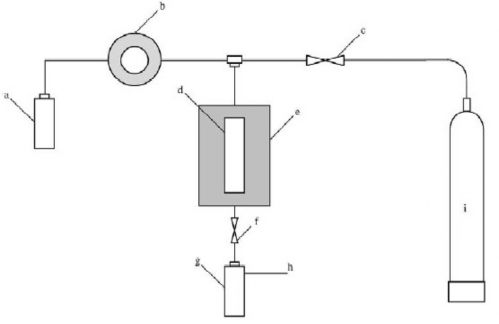
Hình 2.4 Mô hình thiết bị PFE
(a) Bình chứa dung môi, (b) Bơm, (c) Van lọc, (d) Ngăn trích ly, (e) Lò nung,
(f) Van cố định, (g) Ống thu nhận, (h) Lỗ thông khí, (i) Bình khí trơ
Trích ly lỏng có áp lực được ứng dụng chủ yếu trong kiểm soát các thông số ô nhiễm và gần đây là tiền xử lý thực phẩm. Bảng 6 giới thiệu một vài ứng dụng của nó.
Bảng 2.3 Trích ly lỏng có áp lực trong phân tích thực phẩm
Chất phân tích | Dung môi | t (0C) / p (MPa) | |
Rau quả, bột | Thuốc trừ sâu, thuốc diệt cỏ | Hexane+10% acetone, acetonitrile | 125/10 |
Rau quả, nước ép trái cây, bột | Thuốc trừ sâu chứa Photpho hữu cơ | Ethyl acetate | 100/10,4 |
Rau quả, trái cây | n Methylcarbamate | Acetonitrile | 100/13,8 |
Trái cây | Polyphenol | Methanol | 40/6,9 |
Dược phẩm | Vitamin K1 | ||
Thức ăn trẻ em | Chlorpyrifos, malathion, 4.4’DDE, 4,4’–DDT | Acetonitrile | 80/13,8 |
Thịt xông khói | Hydrocarbon chứa vòng thơm | Methylene chloride + 10% acetonitrile | 80/10 |
Cá | Chất béo, polychlorinated biphenyls | Hexane | 125/10 |
Cá | Arsenobetaine, arsenocholine, dimethylarsenic acid | Methanol + 50% H2O | |
Cá | Hợp chất có mùi | Hexaneethyl acetate | 80/10 |
Thịt | Chất béo | Hexane | 125/10 |
Bột ngũ cốc, thịt gà, trứng | Axit béo | Isopropyl alcohol + hexanemethanol + | 120/0,8 |
Có thể bạn quan tâm!
-
Kỹ Thuật Vô Cơ Hóa Ướt Bằng Dung Dịch Kiềm Mạnh Đặc Nóng -
Thiết Bị Và Dụng Cụ Để Xử Lý Khô -
Kỹ Thuật Trích Ly Thường Sử Dụng Khi Xử Lý Mẫu -
Trích Ly Bằng Dòng Siêu Chảy Trong Phân Tích Thực Phẩm -
Kỹ Thuật Trích Ly Hấp Phụ Pha Khí (Rắnkhí) -
Phương Pháp Nội Suy Gián Tiếp Để Ước Tính Lượng Nước Bằng Cách Đo Obrix
Xem toàn bộ 176 trang tài liệu này.
chloroform | |||
Bột sữa | Chất béo | Hexane + methylene + chloride + methanol | 80/10,4 |
Dầu gan cá tuyết, bột sữa, thức ăn gia súc | Polychlorinated biphenyls | Hexane | 100/10,3 |
Sản phẩm từ sữa, thịt, bột ngũ cốc, chất béo và dầu thực vật. | Chất béo | Ether dầu hỏa | 100/13,8 |
Malt | Proanthocyanidins | Acetone + 20% H2O | 60/100 |
So sánh giữa trích ly lỏng có áp lực với phương pháp Soxhlet, ưu điểm của nó là giảm lượng dung môi sử dụng và thời gian trích ly nhưng nhược điểm là sử dụng thiết bị dụng cụ chuyên dụng rất đắt tiền nhằm đảm bảo sự an toàn tránh mối nguy do dung môi bị quá nhiệt và dụng cụ chịu áp suất cao.
1.10.2.6 Kỹ thuật trích dòng siêu chảy (SFE)
Trích ly bằng dòng siêu chảy với thực phẩm được giới thiệu nhiều năm trước đây trên quy mô công nghiệp nhưng nó chỉ được ứng dụng vào công đoạn chuẩn bị mẫu phân tích vào thời gian gần đây.
Dung môi sử dụng là một dòng siêu chảy, là một chất nằm ở trạng thái có nhiệt độ và áp suất tới hạn, tạo nên những tính chất kết hợp đặc biệt. Dòng siêu chảy khuếch tán qua chất rắn cũng như chất khí nhưng có thể hòa tan chất phân tích ở pha lỏng, để tốc độ trích ly tăng và ít bị tổn thất nhiệt. Ngoài ra, nhiều quá trình tiền xử lý mẫu có thể thực hiện với dòng siêu chảy
không bị
nhiễm bẩn, không gây ngộ
độc, chẳng hạn như
CO2, là sự
lựa
chọn hoàn hảo so với việc phải chấp nhận những nguy cơ tiềm tàng và sử dụng dung môi đắt tiền trong trích ly bằng Soxhlet.
Tốc độ thấm nhanh của dòng siêu chảy vào thực phẩm, ngay cả khi độ
xốp thấp, cho phép sự thẩm thấu ngược các chất cần phân tích một cách
nhanh chóng, làm giảm thời gian trích ly. Công đoạn hoàn tất diễn ra dưới
20 phút thay vì nhiều giờ
đồng hồ
như
trong trích ly lỏng – rắn truyền
thống. Kỹ thuật này cũng được sử dụng đối với các chất phân tích không ổn định nhiệt khi chọn dòng siêu chảy với nhiệt độ tới hạn thấp.
Một trong tính chất thú vị nhất của các dòng chảy này là mối liên quan trực tiếp giữa nồng độ dung môi với tỷ trọng. Do tỷ trọng của dòng chảy là một hàm của nhiệt độ và áp suất nên điều chỉnh chính xác các thông số này sẽ cho phép sử dụng được một dung môi có khoảng nồng độ hòa tan thấp.
Từ đó cho phép thay thế nhiều loại dung môi truyền thống với một dòng
siêu chảy duy nhất. Ví dụ như CO2 siêu chảy ở 7,515 Mpa và 80ºC (d = 0,15 g/ml) được xem như một dung môi có độ hòa tan cao như những chất khí như pentan, trong khi ở 38,265 Mpa và 40ºC (d = 0,95 g/ml) độ hòa tan của
nó gần giống như
các chất lỏng chẳng hạn như
metylen clorua, cacbon
tetraclorua, toluen hay benzen. Khi chọn áp suất trích ly, cần lưu ý là khi tăng áp suất, hợp chất có khối lượng phân tử cao hơn sẽ trở thành chất tan, trong khi giảm áp suất dòng siêu chảy sẽ mất đi một vài phần khả năng hòa tan
của nó. Nếu giảm áp suất đến áp suất khí quyển, dòng chảy sẽ mất gần
như toàn bộ khả năng hòa tan và những hợp chất đã trích ly sẽ tách ra khỏi dung dịch.
Nước là một lựa chọn kém với kỹ thuật này vì nhiệt độ và áp suất tới
hạn cao của nó. Dòng siêu chảy được sử dụng phổ biến là CO2 với giá trị tới hạn thấp và độ hoạt động hóa học thấp. CO2 dễ thu nhận được ở dạng siêu tinh khiết với giá thành hợp lý, nó là chất thân thiện với môi trường và có thể tách trích ly ra khỏi các chất phân tích thu nhận được dễ dàng không có trở ngại gì cũng như không gây tổn thất đáng kể.
Nitơ oxyt cũng là dòng siêu chảy tốt nhưng nó rất dễ cháy nổ. Amoniac là chất phân cực với độ hòa tan tốt nhưng nó dễ tương tác hóa học và gây ăn
mòn. Hydrocacbon cũng thường có khả được với kỹ thuật phân tích SFE.
năng cháy nổ
và cũng không dùng
Một phương pháp thực hiện thông thường trong trích ly bằng dòng siêu
chảy được đề cập trong mối liên quan với tính chất hóa lý của dòng siêu
chảy đó là việc sử dụng các chất hỗ trợ (đồng dung môi). Đó là những hợp chất được thêm vào dòng chảy nguyên thủy để tăng hiệu suất trích ly. Ví dụ
như thêm vài phần trăm (1 – 10%) dung môi metylic vào cacbon dioxyt sẽ
mở rộng khoảng trích ly với những chất phân tích có độ phân cực cao hơn.
Kỹ thuật trích ly với dòng siêu chảy
ứng dụng trong thiết bị
đơn giản
được giới thiệu trong Hình 3.

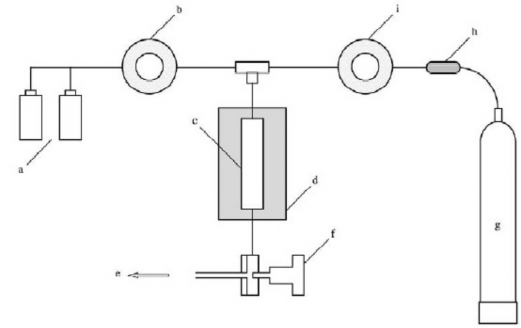
Hình 2.5 Sơ đồ thiết bị SFE
(a) Nguồn chất hỗ trợ, (b) Bơm, (c) Ngăn trích ly, (d) Lò nung, (e) Thu hồi, (f) Bộ phận hãm dòng, (g) Nguồn dòng chảy, (h) Bộ lọc (i) Bơm pittong cao áp tác dụng
kép
Mẫu được đưa vào ngăn trích ly bên trong, mà dòng chảy được bơm vào đó ở một áp suất trên điểm tới hạn. Nhiệt độ của ngăn tăng trên giá trị tới hạn của dòng chảy. Lượng thực phẩm cần khoảng 1 – 3 g trong mỗi ngăn. Trong trường hợp thực phẩm rắn cần đồng nhất mẫu, còn thực phẩm lỏng thì cần hấp thụ lên một chất trơ và có lỗ xốp để tránh trở ngại trong việc điều chỉnh 2 pha khi có áp suất. Thành phần nước trong mẫu phải được điều chỉnh kỹ lưỡng vì nước, được coi là một đồng dung môi mạnh, có thể làm thay đổi khả năng trích ly của dòng siêu chảy và đồng thời nó bị đóng băng khi dòng chảy bay hơi gây tắc nghẽn các van và bộ phận hãm dòng.
Sự trích ly có thể thực hiện ở chế độ tĩnh hay động, hoặc chế độ tuần hoàn. Khi thực hiện trích ly chế độ tĩnh, ngăn trích ly được lấp đầy bởi dòng
siêu chảy, được tăng áp và giữ
yên cân bằng.
Ở chế độ
động, dòng siêu
chảy liên tục chảy qua ngăn trích ly. Ở chế độ tuần hoàn, dòng chảy được bơm tuần hoàn qua mẫu và sau khi đạt được số lần tuần hoàn yêu cầu, nó được bơm về bộ phận thu hồi.
Trong suốt quá trình trích ly, chất phân tích hòa tan được phân tách từ mẫu vào dòng siêu chảy đã bị giảm áp, không bị tổn thất, đi qua 1 bộ phận thay đổi tốc độ dòng, về ống thu nhận. Ống thu nhận này có thể rỗng hay có chứa chất hấp phụ thích hợp hay những chất chuẩn cần thiết của phân tích theo yêu cầu của việc chuẩn độ sau đó. Trong phân tích thực phẩm, chất béo
và dầu thường được thu nhận trong 1 ống rỗng hay trong một dung môi.
Tương tự như vậy, thuốc trừ sâu và các vitamin tan trong béo cũng đươc thu nhận trong 1 dung môi hay hấp thụ lên bề mặt chất triết ở pha rắn, trong khi đó mùi và hương được thu nhận trong một ống đông lạnh.
Bản chất dòng siêu chảy, nhiệt độ và áp suất, thời gian trích ly, hình
dạng ngăn trích ly, cỡ mẫu và loại hợp chất dùng trong thu nhận chất phân tích là những yếu tố chung ảnh hưởng đến sự trích ly.
Ngay từ ban đầu, kỹ thuật trích ly này được sử
dụng rộng rãi để
phân
chia các thành phần hữu cơ trong phân tích thực phẩm, đặc biệt là trích ly
chất béo và dầu. Theo thời gian,
ứng dụng của kỹ
thuật SFE trong thực
phẩm được củng cố nhiều và vì vậy bảng 7 chỉ tổng hợp một vài cách phân chia gần đây trong thực phẩm, hương thơm và gia vị.
Các dòng siêu chảy góp phần tiến bộ đáng kể về dung môi trích ly trong phân tích thực phẩm. Các chất trích ly sạch hơn so với các dung môi hữu cơ và giảm sựu tổn thất nhiệt. Không cần phải cô đặc trước khi phân tích hóa học. Mặc dù những ưu việt đã được chứng minh và ứng dụng đáng kể của nó vào việc phân chia trong lĩnh vực công nghiệp, kỹ thuật này vẫn bị thất






