- Mối hàn góc: hai tấm ghép không nằm song song với nhau, thường có bề mặt vuông góc với nhau. Mối hàn góc có hai loại: mối hàn góc kiểu hàn giáp mối (hình 5.11,a), và mối hàn góc theo kiểu hàn chồng (hình 5.11,b).


Hình 5.11. Mối hàn góc
- Mối hàn dọc: phương của mối hàn song song với phương của lực tác dụng.
- Mối hàn ngang: phương của mối hàn vuông góc với phương của lực tác dụng.
- Mối hàn xiên: phương của mối hàn không song song và không vuông góc với phương của lực tác dụng.
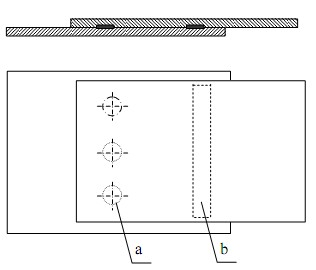
- Mối hàn điểm: là mối hàn tiếp xúc, dùng để hàn các tấm ghép mỏng, các điểm hàn thường có dạng hình tròn (hình 5.12, a).
- Mối hàn đường: là mối hàn tiếp xúc, dùng để hàn các tấm ghép rất mỏng, mối ghép hàn là một đường liên tục (hình 5.12, b).

Hình 5.12. Mối hàn điểm và mối hàn đường
Có thể bạn quan tâm!
-
Tổng Phản Lực Và Tổng Lực Ma Sát Trong Khớp Quay -
Các Dạng Hỏng Của Mối Ghép Và Chỉ Tiêu Tính Toán -
Trị Số Ứng Suất Cho Phép Dùng Cho Tính Toán Mối Ghép Bằng Đinh Tán -
Ứng Suất Cho Phép Của Mối Hàn Thép Khi Chịu Tải Trọng Tĩnh -
Các Kích Thước Chủ Yếu Của Mối Ghép Then Bằng -
Hiện Tượng Tự Nới Lỏng Và Các Biện Pháp Phòng Lỏng
Xem toàn bộ 167 trang tài liệu này.
5.2.2.2. Các kích thước chủ yếu của mối hàn
- Chiều dày tấm ghép S1, S2, mm
- Chiều rộng tấm ghép b1, b2, mm
- Chiều dài mối hàn l, mm
- Chiều dài mối hàn dọc ld, mm
- Chiều dài mối hàn ngang ln, mm
- Chiều rộng mối hàn chồng k, mm. Thông thường lấy k = Smin
- Chiều dài phần chồng lên nhau của mối hàn chồng C, mm thường lấy C ≥ 4Smin
5.2.3. Tính mối ghép hàn giáp mối; chồng; góc
5.2.3.1. Tính mối ghép hàn giáp mối
- Khi chịu tải, mối hàn giáp mối có thể bị phá hỏng tại tiết diện chỗ miệng hàn hoặc tại tiết diện kề sát miệng hàn.
- Hai tấm ghép được ghép với nhau bằng mối hàn giáp mối, sau khi hàn xong có thể coi như một tấm nguyên. Các dạng hỏng của mối hàn giáp mối, giống như các dạng hỏng của một tấm nguyên. Khi chịu uốn mối hàn sẽ bị gãy, khi chịu xoắn mối hàn sẽ bị đưt…Mối hàn được tính toán theo các điều kiện bền:
σ ≤ [σ]’; hoặc τ ≤ [τ]’
Trong đó σ và τ là ứng suất sinh ra trong mối hàn, được xác định theo công thức của sức bền vật liệu như những tấm nguyên chịu tải.
[σ]’, [τ]’: ứng suất cho phép của mối hàn. [σ]’ = υ. [σ] và [τ]’ = υ. [τ]
[σ], [τ]: ứng suất cho phép của tấm nguyên.
υ: hệ số giảm độ bền của mối hàn, giá trị của υ lấy trong khoảng 0,9 ÷ 1
5.2.3.2. Tính mối hàn chồng
a. Sự phá hỏng mối hàn chồng và chỉ tiêu tính toán
k
- Mối hàn chồng có ba loại tiết diện ngang khác nhau (hình 5.13), ứng với đường 1 là mối hàn, hàn bình thường, đường 2 là mối hàn lòm, đường 3 là mối hàn lồi. Mối hàn bình thường được dùng rộng rãi nhất. Mối hàn lồi gây tập trung ứng suất. Mối hàn lòm giảm được sự tập trung ứng suất nhưng phải qua gia công cơ mới tạo được.
Hình 5.13. Tiết diện ngang của mối hàn chông
- Khi chịu bất cứ loại tải trọng nào, mối hàn chồng cũng bị cắt đứt theo tiết diện pháp tuyến n – n, ứng suất trên tiết diện nguy hiểm là ứng suất cắt τ. Do đó điều kiện bền của mối hàn có thể viết:
τ ≤ [τ]’ (5.1)
Trong đó τ là ứng suất cắt sinh ra trên mối hàn, [τ]’ là ứng suất cắt cho phép của mối hàn.
Bất đẳng thức (5.1) cũng là chỉ tiêu dùng để tính toán kiểm tra bền hoặc thiết kế mối hàn.
b. Tính mối hàn chồng chịu lực
n2
Xét mối hàn chồng chịu lực kéo F, mô tả trên hình 5.14
![]()
![]()
Hình 5.14. Mối hàn chồng chịu lực
Nhận xét
- Dưới tác dụng của lực F, ứng suất sinh ra trên mối hàn ngang thường lớn hơn ở mối hàn dọc, trên mối hàn dọc ứng suất phân bố không đều dọc theo mối hàn.
- Để đơn giản cho việc tính toán, trong trường hợp ld ≤ 50.k người ta coi ứng suất phân bố đều trên mối hàn dọc, và ứng suất τd trên mối hàn dọc được coi như bằng ứng suất τn trên mối hàn ngang. Sai số do giả thiết trên được bù lại bằng cách chọn hợp lý giá trị ứng suất cho phép của mối hàn.
- Có thể viết được phương trình cân bằng giữa nội lực và ngoại lực: F = Fd1 + Fd2 + Fn1 + Fn2
Fd1 = τ. k. cos 450. ld1
Fd2 = τ. k. cos 450. ld2 Fn1 = τ. k. cos 450. ln1 Fn2 = τ. k. cos 450. ln2
- Từ phương trình trên, lấy gần đúng cos 450 =0,7; ta có công thức tính ứng suất τ sinh ra trên mối hàn chồng:
F
0, 7k ld1 ld2 ln1 ln2
(5.2)
Kiểm tra bền mối hàn chồng chịu lực
Đã có mối hàn với đầy đủ các kích thước, và lực tác dụng F, cần phải kết luận xem mối hàn có đủ bền hay không. Các bước tính toán theo trình tự sau:
- Xác định ứng suất cho phép [τ] bằng cách tra bảng hoặc tính theo công thức kinh nghiệm.
- Xác định kích thước l và k của mối hàn. Kiểm tra điều kiện ld≤ 50k
- Tính ứng suất sinh ra trong mối hàn theo công thức (5.2)
- So sánh [τ] và [τ]’, từ đó rút ra kết luận:
+ Nếu [τ] > [τ]’, mối ghép không đủ bền, sẽ bị hỏng trong quá trình làm việc.
+ Nếu [τ] << [τ]’ (quá nhỏ hơn) mối ghép quá dư bền, có tính kinh tế không cao.
+ Nếu [τ] ≤ [τ]’, độ lệch không nhiều lắm, mối ghép đủ bền và có tính kinh tế cao.
Thiết kế mối hàn chồng chịu lực
Chúng ta có các tấm ghép, và biết lực tác dụng, cần phải vẽ kết cấu của mối hàn.
Các bước tính toán theo trình tự sau:
- Xác định ứng suất cho phép [τ]’, bằng cách tra bảng hoặc tính theo công thức kinh nghiệm.
- Xác định kích thước k của mối hàn, có thể lấy k ≤ Smin.
- Giả sử chỉ tiêu (5.1) thỏa mãn, ta có:
F
0, 7k(ld1 ld 2 ln1 ln 2 )
'
- Hay
F
0, 7kli
'
Suy ra
li
F
0, 7k '
- Chia chiều dài tổng
li
thành các mối hàn dọc và mối hàn ngang. Các mối
hàn dọc phải chọn sao cho chiều dài ldi ≤ 50k. Các mối hàn ngang phải chọn sao cho chiều dài lni ≤ bmin
- Vẽ kết cấu của mối hàn
c. Tính mối hàn chồng chịu mô men uốn trong mặt phẳng ghép
n2
Xét mối hàn chồng chịu mô men uốn M, biểu diễn trên hình 5.15.
Hình 5.15. Mối hàn chồng chịu mô men
Nhận xét
- Khi chịu mô men uốn M, mối hàn có xu hướng xoay quanh trọng tâm O. Ứng suất phân bố dọc theo các mối hàn là không như nhau, phương của ứng suất tại mỗi điểm vuông góc với bán kính kể từ tâm O đến điểm đang xét. Giá trị của ứng suất tỷ lệ với độ lớn của bán kính.
- Song để đơn giản cho việc tính toán, với mối hàn có chiều dài ldi ≤ 50k người ta coi ứng suất τd trên mối hàn dọc phân bố đều và có phương dọc theo mối hàn. Còn ứng suất τn trên mối hàn ngang phân bố giống như quy luật phân bố ứng suất uốn trên thanh có tiết diện hình chữ nhật 0,7k×ln. Người ta cũng giả thiết là τn = τd = τ. Sai số của giả thiết này được bù lại bằng cách chọn giá trị ứng suất cho phép của mối hàn thích hợp.
- Với giả thiết trên, ta viết được phương trình cân bằng giữa ngoại lực và nội lực trong mối hàn là:
M= Md1+ Md2 + Mn1+ Mn2
Trong đó: Md1= τ. ld1. 0,7k.r1
Md2= τ. ld1. 0,7k.r2
l
2
Mn1 .0, 7kn1
6
l
2
Mn2 .0, 7kn2
6
- Từ phương trình cân bằng trên, ta tính được ứng suất trên mối hàn chịu mô men.
M
l2 l2
(5.3)
0, 7.k(ld1.r1 ld 2 .r2 n1n2)
6 6
Kiểm tra bền mối hàn chịu mô men uốn M
Ta đã có mối hàn với đầy đủ kích thước, và biết giá trị mô men M, cần kiểm tra xem mối hàn có đủ bền hay không. Các bước tính toán theo trình tự sau:
- Xác định ứng suất cho phép [τ]’ bằng cách tra bảng hoặc tính theo công thức kinh nghiệm.
- Xác định kích thước chiều dài li và k của các mối hàn, xác định khoảng cách r1 và r2 của mối hàn dọc. Kiểm tra điều kiện ld ≤ 50k.
- Tính ứng suất sinh ra trong mối hàn theo công thức (5.3).
- So sánh τ và [τ]’, từ đó rút ra kết luận:
+ Nếu τ > [τ]’, mối ghép không đủ bền, sẽ bị hỏng trong quá trình làm việc.
+ Nếu τ << [τ]’ (quá nhỏ hơn) mối ghép quá dư bền, có tính kinh tế không cao.
+ Nếu τ ≤ [τ]’, độ lệch không nhiều lắm, mối ghép đủ bền và có tính kinh tế cao.
Thiết kế mối hàn chịu mô men M
Có các tấm ghép và biết mô men tải trọng M, cần phải vẽ kết cấu của mối hàn.
Các bước tính toán theo trình tự sau:
- Xác định ứng suất cho phép [τ]’, bằng cách tra bảng hoặc tính theo công thức kinh nghiệm.
- Xác định kích thước k của mối hàn, có thể lấy k≤ Smin.
- Giả sử chỉ tiêu (5.1) thỏa mãn, ta có
M
l2 l2
'
0, 7.k(ld1.r1ld2 .r2 n1 n2)
6 6
- Chọn ln1 = ln2 = bmin, chọn r1 = r2 = bmin/2 lúc đó ta sẽ tính được ∑ld = ld1 + ld2
M l2 l2 2
ld
n1n2.
0, 7.k '
6 6
bmin
- Chia chiều dài tổng ∑ld thành các mối hàn dọc, phải đảm bảo ldi ≤ 50k.
- Vẽ kết cấu của mối hàn.
Ghi chú:
Có thể tính thiết kế mối hàn chồng chịu mô men, bằng phương pháp gần đúng dần dần như sau: ta chọn sơ bộ kích thước chiều dài của mối hàn, vẽ kết cấu, kiểm tra bền. Nếu quá dư bền thì giảm chiều dài, vẽ lại và kiểm tra tiếp. Nếu thiếu bền thì tăng chiều dài, vẽ lại và kiểm tra tiếp. Đến khi nào vừa đủ bền, vừa đảm bảo tính kinh tế cao thì dừng. Vẽ kết cấu chính xác của mối hàn.
d. Tính mối hàn chồng chịu đồng thời lực và mô men trong mặt phẳng ghép
Tính mối hàn chồng chịu đồng thời lực F và mô men uốn M, được thực hiện:
+ Sử dụng các giả thiết và tính ứng suất τF do tác động của riêng lực F, dùng công thức (5.2).
+ Tính ứng suất τM do tác động của riêng mô men M, dùng công thức (5.3).
+ Ứng suất cực đại trong mối hàn sẽ là tổng của hai ứng suất thành phần:
τ = τF + τM (5.4)
5.2.3.3. Tính mối hàn góc
Mối hàn góc hàn theo kiểu giáp mối được tính tương tự như mối hàn giáp mối. Mối hàn góc hàn theo kiểu hàn chồng được tính tương tự như mối hàn chồng.
5.2.4. Tính mối hàn tiếp xúc
- Mối hàn tiếp xúc theo kiểu hàn giáp mối được tính tương tự như tính mối hàn giáp mối.
- Mối hàn tiếp xúc hàn điểm dùng để ghép các tấm có chiều dầy nhỏ, tấm 1 dầy không quá 3 lần tấm 2. Điểm hàn thường có dạng hình tròn, đường kính d. Kích thước của điểm hàn có thể chọn như sau (hình 5.16).

Hình 5.16. Mối hàn điểm
d = 1,2. S + 4 mm, khi S ≤ 3mm d = 1,5. S + 5 mm, khi S > 3mm t= 3d, t1 =2d, t2 = 1,5d.
Mối hàn điểm được tính tương tự như tính mối ghép đinh tán.
F.4 z.i..d 2
'
Trong đó F là lực tác dụng, i là số tiết diện chịu cắt, z là số điểm hàn, [τ]’ là ứng suất cho phép của mối hàn.
- Mối hàn hàn đường (hình 5.16) dùng ghép các tấm mỏng và yêu cầu kín. Ứng suất sinh ra trong mối hàn là ứng suất cắt, điều kiện bền của mối hàn được viết như sau:
F
a.l
'
Trong đó a là chiều rộng và l chiều dài của mối hàn.
l
Hình 5.17. Mối hàn đường
5.2.5. Độ bền của mối hàn và ứng suất cho phép
5.2.5.1. Độ bền của mối hàn
Độ bền của mối hàn phụ thuộc vào các nhân tố chính sau đây:
- Chất lượng của que hàn và vật liệu được hàn (vật hàn có tính hàn tốt hay xấu).
- Trình độ kỹ thuật hàn
- Đặc tính của tải trọng (tải trọng tĩnh hay tải trọng thay đổi).
Nếu dùng que hàn chất lượng không tốt, không thích hợp và vật liệu được hàn không có tính hàn tốt, mối hàn sẽ có nhiều khuyết tật và bị nứt nóng hoặc nứt nguội... các loại thép ít và vừa cacbon là những vật liệu có tính hàn tốt.
Chất lượng của mối hàn phụ thuộc nhiều vào trình độ kỹ thuật hàn. Nếu kỹ thuật hàn không đảm bảo, hàn còn sót hoặc hàn không thấu, mối hàn có xỉ và ô xít... sẽ làm cho độ bền mối hàn bị giảm nhiều, nhất là khi chị tải trọng thay đổi.
Sự tập trung ứng suất và ứng suất trong mối ghép bằng hàn có ảnh hưởng rất lớn đến độ bền mỏi của mối hàn. Vì vậy trong trường hợp mối ghép chịu tải trọng thay đổi phải đặc biệt chú ý đến vấn đề hình dạng kết cấu. Trong các kiểu mối hàn, mối hàn giáp mối có độ bền mỏi cao hơn cả vì ít tập trung ứng suất hơn so với các kiểu khác, nhất là khi được vát bớt các chỗ hàn lồi. Không nên dùng mối hàn dọc để chịu tải trọng thay đổi vì như đã nói trên, mối hàn có sự tập trung ứng suất lớn. Cần tránh hàn ở những chỗ có tập trung ứng suất do hình dạng kết cấu tạo nên. Mối hàn phải có chiều dày đồng đều nhau, không nên để tập trung một lượng kim loại nóng chảy lớn ở chỗ giao nhau của các mối hàn. Nên bố trí mối hàn cho dễ hàn và dễ kiểm tra.
Để nâng cao độ bền của mối ghép hàn chịu tải trọng thay đổi, có thể dùng phương pháp phun bi hoặc miết mối hàn.
5.2.5.2. Ứng suất cho phép
Vì có nhiều nhân tố ảnh hưởng đến độ bền của mối hàn, mặt khác, các công thức tính toán lại có tính chất gần đúng và quy ước, cho nên cần thiết phải dùng thực nghiệm để xác định ứng suất cho phép của mối hàn.
Ứng suất cho phép của mối hàn chịu tải trọng tĩnh cho trong bảng 5.2, tùy theo phương pháp hàn và loại que hàn. Cũng cần chú ý là các số liệu cho trong bảng chỉ đúng đối với các chi tiết máy hàn bằng thép ít và vừa các bon hoặc thép ít hợp kim và trong trường hợp chất lượng mối hàn đạt các yêu cầu tiêu chuẩn. Đối với các trường hợp khác cần làm thí nghiệm về độ bền để lấy số liệu.
Trường hợp chịu tải trọng thay đổi, các ứng suất cho phép lấy theo bảng 5.1 phải nhân với hệ số giảm γ nhỏ hơn một đơn vị. Ứng suất để tính toán là ứng suất cực đại của chu kỳ ứng suất (σmax hoặc τmax).






