Trong đó pmin được tính theo công thức (5.10), Nmin được tính theo công thức (5.7). Nếu dùng phương pháp lắp ép, thì lấy Nmin = ei – ES – (Rz1 +Rz2).
- Tính lực tác dụng F:
Nếu tải trọng là lực dọc trục, lấy F = Fa
Nếu tải trọng là mô men xoắn, lấy F = 2.T/d
F
2
4T 2
a
d
2
Nếu tải trọng là cả hai, lấy F
- Kiểm tra chỉ tiêu (5.8), bằng cách so sánh Fms và F rút ra kết luận: Nếu Fms ≥ KF, các tấm ghép không bị trượt tương đối so với nhau
Nếu Fms < KF, mối ghép chưa thỏa mãn chỉ tiêu chống trượt.
- Nếu mối ghép đồng thời thỏa mãn cả hai chỉ tiêu theo công thức (5.8) và (5.9), mối ghép đảm bảo chất lượng tốt.
- Nếu kích thước d1, d2 tham gia vào các mối ghép khác, thì phải tính Δd1, Δd2 theo công thức (5.13), và kiểm tra xem có làm hỏng các mối ghép đó hay không.
Bài toán thiết kế
Đầu bài: cho biết kích thước của chi tiết trục và bạc, biết vật liệu, độ nhám bề mặt, biết tải trọng tác dụng, cần chọn kiểu lắp thích hợp cho mối ghép.
Bài toán được tiến hành theo các bước sau:
- Căn cứ vào vật liệu, cách nhiệt luyện, chất lượng bề mặt của chi tiết trục và bạc, tra bảng để xác định E1, E2, μ1, μ2, f, RZ1, RZ2, σch1, σch2, K…Xác định [p]: tính giá trị pth1 và pth2 theo công thức (5.12). Lấy [p] = min (pth1, pth2)
- Giả sử chỉ tiêu (5.8) thỏa mãn, ta có: pmax ≤ [p], theo công thức (5.11) ta tính được:
N [p].d.C1 C2
(5.14)
max
E E
1 2
- Tính lực tác dụng F
Nếu tải trọng là lực dọc trục, lấy F = Fa. Nếu tải trọng là mô men xoắn, lấy F = 2.T/d
F
2
4T 2
a
d
2
Nếu tải trọng là cả hai, lấy F
- Giả sử chỉ tiêu (5.8) thỏa mãn, ta có pmin.πdl.f ≥ KF hay
công thức (5.11) ta tính được:
pmin
KF
dl. f
, theo
Nmin
KF
C1 C2
(5.15)
.l. f E1
E2
- Tra bảng của các kiểu lắp ưu tiên, sau đó là các kiểu lắp không ưu tiên, để tìm một kiểu lắp thích hợp nhất, sao cho es – EI ≤ Nmax thỏa mãn điều kiện (5.14) và ei – ES ≥ Nmin thỏa mãn điều kiện (5.14).
Các kiểu lắp ưu tiên: H 7 , H 7 , H 7 , H 7 , N 7 , P7
n6 p6 r6 s6 h6 h6
Các kiểu lắp không ưu tiên:
H 7 , H8 , H 7 , H 7 , H 7 , H 7 , S7 , T 7 , U8
n7 s7 s7 t7 u7 h6 h6 h6 h7
- Nếu kích thước d1, d2 tham gia vào các mối ghép khác, thì phải tính Δd1, Δd2 theo công thức (5.11), và kiểm tra xem có làm hỏng các mối ghép đó hay không.
5.4. Mối ghép then, then hoa và trục định hình
5.4.1 Mối ghép then
5.4.1.1. Giới thiệu mối ghép then
Mối ghép then dùng để cố định các chi tiết máy trên trục theo phương tiếp tuyến, truyền tải trọng từ trục đến chi tiết máy lắp trên trục và ngược lại.
Ví dụ: dùng để ghép bánh răng, bánh vít, bánh đai, bánh đà, đĩa xích trên trục.
Các mối ghép then thường dùng trong thực tế:
+ Mối ghép then bằng, biểu diễn trên hình 5.24, dùng để cố định bạc theo phương tiếp tuyến.

Hình 5.24. Mối ghép then bằng
+ Mối ghép then dẫn hướng, như trên hình 5.25. Then vừa truyền mô men xoắn, vừa dẫn hướng cho bạc di chuyển dọc trục.

Hình 5.25. Mối ghép then dẫn hướng
+ Mối ghép then bán nguyệt, trên hình 5.26. Khi trục bị uốn cong, bạc và then không bị xoay theo.

Hình 5.26. Mối ghép then bán nguyệt
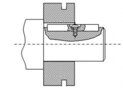
+ Mối ghép then vát, biểu diễn trên hình 5.27. Then có một mặt côn, chêm vào rãnh then trên trục và trên bạc. Mối ghép cố định bạc trên trục theo phương tiếp tuyến và phương dọc trục.

Hình 5.27. Mối ghép then vát
+ Mối ghép then ma sát, biểu diễn trên hình 5.28. Then ma sát có hình dạng gần giống như then vát, một mặt côn, một mặt trụ ôm lấy trục, trên trục không có rãnh then.

Hình 5.28. Mối ghép then ma sát
+ Mối ghép then tiếp tuyến.
Các mối ghép then được chia ra làm hai nhóm. Các nhóm có cách lắp ghép và nguyên lý liên kết khác nhau:
- Then ghép lỏng, bao gồm: then bằng, then dẫn hướng và then bán nguyệt. Then nằm trong rãnh then trên trục và trên bạc, đóng vai trò một cái chốt ngăn cản chuyển động xoay tương đối giữa trục và bạc.
- Then ghép căng, bao gồm: then vát, then ma sát, then tiếp tuyến. Then ghép căng tạo nên áp suất lớn trên bề mặt tiếp xúc giữa bạc và trục, tạo lực ma sát. Lực ma sát là lực liên kết, cản trở sự trượt tương đối giữa bạc và trục.
Chương này tập trung giới thiệu then ghép lỏng, đặc biệt là mối ghép then bằng vì nó được dùng nhiều hơn cả.
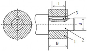
Mối ghép then bằng bao gồm chi tiết bạc (hay mayơ) 1, chi tiết trục 2, và then 3 (hình 5.29). Then là chi tiết quan trọng, dùng để liên kết trục và bạc.

Hình 5.29. Kích thước của mối ghép then bằng
- Trên bạc có rãnh then, được gia công bằng phương pháp xọc hoặc bào.
- Rãnh then trên trục được gia công bằng dao phay ngón, hoặc dao phay đĩa. Rãnh then được gia công bằng dao phay đĩa ít gây tập trung ứng suất hơn so với gia công bằng dao phay ngón.
- Then thường làm bằng kim loại, dưới dạng thanh thẳng, tiết diện ngang là hình chữ nhật b×h. Tiết diện then được tiêu chuẩn hóa, then bằng bình thường theo TCVN 2261-77, then bằng cao theo TCVN 2218 – 86, và được chọn tùy theo đường kính trục. Chiều dài l của then được chọn tùy thuộc vào chiều dài của chi tiết máy lắp trên trục (mayơ).
- Then bằng có hai loại (hình 5.30), loại đầu tròn thường lắp với rãnh then gia công bằng dao phay ngón, loại đầu bằng lắp với rãnh then được gia công bằng dao phay đĩa.

Hình 5.30. Then đầu tròn và then đầu bằng
5.4.1.2. Các kích thước chủ yếu của mối ghép then bằng
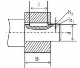
Kết cấu của mối ghép then bằng được xác định qua một số kích thước chủ yếu:
- Đường kính của trục, ký hiệu là d, mm
- Chiều rộng của bạc, ký hiệu là B, mm
- Chiều dài của then, ký hiệu là l, mm. Thường lấy chiều dài l = 0,8. B
- Chiều rộng của then, ký hiệu là b, mm
- Chiều cao của then, h, mm. Chiều cao then nằm trong rãnh trên trục là h1, nằm trong rãnh trên bạc là h2. Mối ghép thường sử dụng có h1≥ h2.
- Chiều sâu rãnh then trên trục lấy bằng h1, chiều sâu rãnh then trên bạc lấy lớn hơn h2 một lượng từ (0,5 ÷ 3)mm, tùy theo giá trị của h.
- Thông thường then lắp với rãnh trên trục theo kiểu lắp
N 9 , trường hợp sản
h9
xuất đơn chiếc có thể dùng kiểu lắp
P9 .
h9
- Thông thường then lắp với rãnh trên bạc theo kiểu lắp
Js 9 , trong trường hợp l
h9
>2.d nên dùng kiểu lắp
D10 .
h9
Để đảm bảo sức bền đều cho trục và then, kích thước b và h phải chọn theo đường kính d.
Ví dụ: như trên bảng 5.5 cho giá trị của kích thước chiều rộng b và chiều cao h của then theo đường kính d của trục:
Bảng 5.5. Kích thước tiết diện then.
Chiều rộng b | Chiều cao h | |
14 ÷ 18 | 5 | 5 |
19 ÷ 24 | 6 | 6 |
25 ÷ 30 | 8 | 7 |
31 ÷ 36 | 10 | 8 |
37 ÷ 42 | 12 | 8 |
Có thể bạn quan tâm!
-
Trị Số Ứng Suất Cho Phép Dùng Cho Tính Toán Mối Ghép Bằng Đinh Tán -
Mối Hàn Điểm Và Mối Hàn Đường -
Ứng Suất Cho Phép Của Mối Hàn Thép Khi Chịu Tải Trọng Tĩnh -
Hiện Tượng Tự Nới Lỏng Và Các Biện Pháp Phòng Lỏng -
Dùng 2 Đai Ốc, Đệm Vênh, Núng, Tán Đầu Bu Lông Để Phòng Lỏng -
Tính Bu Lông Xiết Chặt Chịu Đồng Thời Lực Dọc Và Lực Ngang
Xem toàn bộ 167 trang tài liệu này.
5.4.1.3. Tính mối ghép then bằng
- Khi mối ghép chịu tải, then có thể bị hỏng do dập bề mặt tiếp xúc của then và các rãnh then, hoặc cắt đứt then qua tiết diện b×l.
- Điều kiện để tránh các dạng hỏng của mối ghép then là: σd ≤ [σd], và τc ≤ [τc]
- σd là ứng suất dập trên bề mặt tiếp xúc giữa then và rãnh trên bạc được xác
d
định theo công thức: 2.K.T
(5.16)
d.l.h2
Trong đó: K là hệ số tải trọng, có thể lấy k =1÷1,3
T là mô men xoắn tác dụng lên mối ghép, Nmm.
- [σd] là ứng suất dập cho phép, giá trị của [σd] có thể chọn như sau: Then trong hộp giảm tốc, làm việc với chế độ nặng, lấy 50 ÷ 70MPa.
Then trong hộp giảm tốc, làm việc với chế độ trung bình, lấy 130 ÷ 180 MPa
- τc là ứng suất cắt trên tiết diện then, ứng suất cắt được xác định theo công thức:
2.K.T
(5.17)
c d.l.b
- [τc] là ứng suất cắt cho phép, giá trị của nó được chọn như sau:
Khi mối ghép chịu tải trọng tĩnh, lấy [τc]= 130MPa.
Khi mối ghép chịu tải trọng va đập nhẹ, lấy [τc]= 90MPa. Khi mối ghép chịu tải trọng va đập mạnh , lấy [τc]= 50MPa.
Bài toán kiểm tra mối ghép then bằng được thực hiện như sau:
+ Xác định ứng suất cho phép [σd] và [τc].
+ Tính ứng suất dập σd và ứng suất cắt τc theo công thức (5.16) và (5.17).
+ So sánh giá trị σd với [σd] và τc với [τc], rút ra kết luận.
Bài toán thiết kế mối ghép then bằng được thực hiện như sau:
+ Xác định ứng suất cho phép [σd] và [τc].
+ Chọn kích thước b và h của then theo đường kính trục d.
+ Giả sử chỉ tiêu τc ≤ [τ] thỏa mãn, kết hợp với công thức 5.17 ta tính được:
lct
KF
d.b.c
(5.18)
Nếu lct ≤ 0,8B ta lấy chiều dài then l = 0,8B.
Nếu 0,8B < lct ≤ 1,4B ta làm hai then, chiều dài mỗi then là l1 =0,8B.
Nếu lct > 1,4B không nên dùng mối ghép then, nên dùng mối ghép then hoa.
+ Tính ứng suất dập theo công thức 5.16, so sánh với ứng suất dập cho phép, xem mối ghép có đủ sức bền dập hay không. Nếu không đủ, phải điều chỉnh lại kích thước của then.
5.4.2. Mối ghép then hoa
5.4.2.1. Giới thiệu mối ghép then hoa
- Có thể coi mối ghép then hoa như một mối ghép then bằng gồm có nhiều then làm liền với trục. Mối ghép then hoa thường dùng khi tải trọng lớn, yêu cầu độ đồng tâm giữa trục và bạc cao, hoặc cần di trượt bạc dọc trục (hình 5.30).

Hình 5.31. Mối ghép then hoa
- Trục có z then phân bố đều trên chu vi, có hình dạng giống như bông hoa, nên được gọi là trục then hoa. Tiết diện ngang của then trên trục có thể là hình chữ nhật, hình thang, hoặc hình răng thân khai (hình 5.31).



Hình 5.32. Các dạng tiết diện của then
- Bạc then hoa có z rãnh then, tương ứng với trục then hoa, hình dạng mặt cắt ngang của rãnh giống như hình dạng tiết diện then (hình 5.32).

Hình 5.33. Bạc then hoa
- Tạo mối ghép bằng cách lồng bạc then hoa vào trục then hoa. Để đảm bảo độ đồng tâm giữa trục và bạc then hoa, có thể thực hiện theo ba cách sau:
+ Định tâm theo đường kính ngoài D. Mặt trụ đường kính D được gia công chính xác cao, giữa hai mặt không có khe hở (hình 5.33). Do kích thước D lớn hơn d nên dễ đạt độ chính xác đồng tâm cao. Nhưng rãnh then trên may ơ không mài được. Do đó kiểu định tâm này không dùng được khi may ơ cần có độ rắn bề mặt cao. Tải trọng phân bố trên các then không đều nhau.

Hình 5.34. Định tâm theo đường kính ngoài D
+ Định tâm theo đường kính trong d. Mặt trụ có đường kính d được gia công chính xác, giữa hai mặt không có khe hở (hình 5.34). Kiểu này đạt được độ chính xác đồng tâm tương đối cao. Rãnh trên trục có thể mài, do đó phương pháp này có thể dùng ngay cả khi yêu cầu độ rắn bề mặt của trục và bạc then hoa cao. Tải trọng phân bố không đều trên các then. Kiểu định tâm này được dùng khá phổ biến trong thực tế.

Hình 5.35. Định tâm bằng mặt trụ trong, đường kính d
+ Định tâm theo cạnh bên. Mặt bên của then tiếp xúc với rãnh then, giữa các mặt trụ có đường kính D, đường kính d có khe hở (hình 5.35). Độ chính xác đồng tâm giữa trục và bạc không cao. Cần phải đàm bảo chính xác bước then, do đó tải trọng phân bố đều trên các then. Kiểu định tâm này dùng khi mối ghép chịu tải trọng lớn, yêu cầu độ chính xác đồng tâm không cao.






