Lf =h/4
Lf =h/2
Lf = 2h
Lf =h
Độ mở rộng vết nứt,mm
Mô men,KN.m
Hình 1.6. Mối liên hệ giữa chiều dài sợi (Lf) và độ mở rộng vết nứt (w) với mô men trong dầm theo tác giả De-Montaignac và các cộng sự [53]
Hình 1.6 chỉ ra ảnh hưởng của chiều dài sợi tới ứng xử của dầm bê tông CST có tiết diện chữ nhật kích thước rộng 15cm, cao 40cm với chiều dài sợi thay đổi từ h/4 tới 2h (h là chiều cao dầm). Theo đó cho thấy, tăng chiều dài cốt sợi thì giảm cường độ chịu uốn, theo đó vết nứt do mômen rông hơn. Đối với dầm bê tông cốt sợi, một số nhà nghiên cứu cho rằng nên chọn chiều dài cốt sợi là không đổi, một số khác lại cho rằng chiều dài sợi nên thay đổi phù hợp với mức độ tải trọng. De-Montaignac và các cộng sự [53] cũng khẳng định: Sợi thép với hàm lượng cao (0.75% -1.5%) ứng xử của bê tông cốt sợi là tốt nhất, tăng độ cứng chống uốn cho dầm, hạn chế độ mở rộng vết nứt và tăng ứng xử dẻo. Nếu ứng xử của kết cấu được điều chỉnh bởi độ mở rộng tối đa của vết nứt, việc sử dụng loại sợi có chiều dài không đổi cho kết quả phù hợp với thử nghiệm.
Khoảng cách sợi tiêu chuẩn
Khoảng cách giữa các cốt sợi (s) ảnh hưởng đáng kể đến sự phát triển vết nứt của đá ximăng. Khoảng cách càng gần thì tải trọng nứt ban đầu của đá ximăng càng cao. Điều này là do cốt sợi giảm hệ số nhạy cảm ứng suất và hệ số này ảnh hưởng đến sự xuất hiện vết nứt. Giải pháp được thực hiện bởi Romualdi và Batson để tăng
cường độ chịu kéo của phần vữa bằng cách tăng hệ số nhạy cảm ứng suất thông qua việc giảm khoảng cách giữa các cốt sợi giống như là việc kìm hãm vết nứt.
(1-5) |
Có thể bạn quan tâm!
-
Nghiên cứu ứng xử cắt của dầm bê tông cường độ cao cốt sợi thép - 2 -
Tổng Quan Về Bê Tông Cốt Sợi Thép Và Ứng Xử Cắt Của Dầm Btcst Chương 2. Nghiên Cứu Xây Dựng Mô Hình Dự Báo Sức Kháng Cắt Của Dầm -
Lực Dính Bám Giữa Sợi Thép Và Chất Nền Bt, Dính Bám Của Cốt Thép Và Btcst -
Các Vết Nứt Do Lực Cắt Gây Ra Trong Dầm Bt Cđc Và Btcđc Cst [101] -
Ứng Xử Cắt Trong Dầm Bt Cđsc Có Bố Trí Cốt Đai Và Cốt Sợi Kết Hợp [58] -
Cơ Chế Truyền Lực Của Bê Tông Thông Qua Ma Sát Giữa Các Bề Mặt Vết Nứt Khi Có Cốt Thép Chịu Cắt [29]
Xem toàn bộ 184 trang tài liệu này.
Trong đó:
Df - đường kính của cốt sợi;
Vf - Hàm lượng cốt sợi,
Ảnh hưởng của hàm lượng sợi theo thể tích
Hàm lượng sợi thường nhỏ hơn 2%. Hàm lượng sợi cao là trên 2% ít được sử dụng. Hướng của sợi tăng cường sẽ liên quan đến tải trọng quyết định tính hiệu quả mà sợi được định hướng một cách ngẫu nhiên có thể chống lại sức căng theo hướng của nó. Nếu chọn ngẫu nhiên, hệ số hiệu quả là 0,41l, tuy nhiên có thể dao động giữa 0,33l và 0,65l gần với bề mặt của vật mẫu khi trát bằng tay hoặc san bằng có thể làm thay đổi hướng của thớ sợi.
Ảnh hưởng của loại sợi với bê tông: Khả năng truyền tải trọng của cốt sợi phụ thuộc vào mô đun đàn hồi của sợi. Nếu mô đun đàn hồi của sợi lớn hơn mô đun đàn hồi của hồ lúc nứt nẻ, khi đó sợi có tác dụng hạn chế biến dạng tương ứng với một độ mở rộng vết nứt nhỏ. Ngược lại nếu mô đun đàn hồi của sợi nhỏ hơn mô đun đàn hồi của phần hồ thì việc hạn chế các vết nứt không chấp nhận được. Như vậy, khi lựa chọn các loại sợi thì tùy theo mục đích sử dụng việc xem xét mô đun đàn hồi của sợi là rất quan trọng.
Ảnh hưởng của sợi thép lên vết nứt cắt (bề rộng và khoảng cách vết nứt):
Sợi thép ảnh hưởng rất lớn đến hiện tượng hiệu ứng chốt, kìm hãm, kiểm soát sự lan truyền và mở rộng vết nứt. Do bề rộng bết nứt giảm sự đan cài của cốt liệu tốt hơn và làm gia tăng độ bền của kết cấu.
Sự tăng hàm lượng cốt sợi làm cho vết nứt nhiều nhưng nhỏ hơn, các vết nứt nhỏ thay vì vết nứt lớn và tập trung. Các vi vết nứt giúp ứng suất trong vùng chịu cắt phân phối lại, giúp cảnh báo được nguy hiểm trước khi phá hoại [48]. Sợi thép bắt đầu tác dụng sau khi vết nứt hình thành, kháng lại lực kéo cho đến khi sợi bị kéo tuột hoặc chảy dẻo tại vết nứt.
Cốt sợi thép có khả năng làm tăng thuộc tính chịu kéo của bê tông như làm tăng khả năng kháng nứt, tăng khả năng chống kéo tuột của cốt thép thanh chịu kéo. Do đó tăng cường độ chịu kéo của bê tông CST [48], [70]. Cốt sợi thép đóng vai trò truyền ứng suất kéo trên suốt chiều dài vết nứt nghiêng. Cốt sợi thép cải thiện đáng kể sức kháng kéo trên cả phạm vi sườn dầm cũng như ở miền chịu kéo của tiết diện dầm [48]
Ảnh hưởng của cốt sợi thép lên độ cứng khi kéo. Độ cứng khi kéo được phản ánh ở chỗ khả năng chịu ứng suất kéo của bê tông cốt sợi thép ngay tại vết nứt. Chính độ cứng chịu kéo của BTCST làm tăng khả năng chịu lực kéo của dầm BTCST trước khi cốt thép thanh chảy dẻo [48], [70], [91]. Độ cứng kéo của bê tông CST phụ thuộc ở cả hai phạm vi đó là giữa khoảng cách các vết nứt và ngay tại vết nứt. Độ cứng kéo cải thiện việc kiểm soát vết nứt và cho phép sử dụng được bê tông cốt thép cường độ cao mà vẫn việc kiểm soát được bề rộng vết nứt. Kết quả của độ cứng kéo cho phép ta xác định được cường độ chịu kéo trung bình của bê tông cốt sợi thép khi nứt, tượng trưng cho ứng xử trong khoảng giữa của các vết nứt của dầm bê tông CST.
1.3. Tổng quan về nghiên cứu ứng xử cắt của dầm BT CST và BTCĐC CST trong nước và thế giới
Trên thế giới, từ những năm 80 thế kỷ thứ 20 tới nay đã có nhiều công trình nghiên cứu về ứng xử cắt của dầm bê tông cốt sợi (BTCS) nói chung và BTCST nói riêng. Trong đó, dầm BTCST đã được nhiều nhà khoa học trên thế giới quan tâm hơn. Ứng xử cắt của dầm BTCST cường độ thông thường được nghiên cứu sớm hơn. Sau đó, ứng xử cắt của dầm BTCĐC CST được một số nhà khoa học trên thế giới nghiên cứu. Đến nay, nhiều tác giả đã công bố các kết quả về ứng xử cắt của dầm BTCST cường độ thường. Ứng xử cắt của dầm BTCĐC CST và bê tông cường độ siêu cao (BTCĐSC) cũng đã có một số công bố.
Nghiên cứu ứng xử cắt của dầm BTCST trên thế giới và Việt nam bao gồm các nội dung như sau: nghiên cứu nguyên nhân, hình thức phá hoại do cắt; nghiên cứu các yếu tố ảnh hưởng đến sức kháng cắt của dầm BTCST và nghiên cứu xây dựng mô hình dự báo sức kháng cắt của dầm BTCST.
Phương pháp nghiên cứu về cắt của dầm BTCST trên thế giới hiện nay chủ yếu là nghiên cứu lý thuyết kết hợp thực nghiệm [70], [91] [59], [90] hoặc nghiên cứu dựa theo các mô hình tính toán sức kháng cắt trong các tiêu chuẩn hiện hành [48], [109]. Một số nghiên cứu hoàn toàn dùng thực nghiệm để đưa ra được mô hình tính toán sức kháng cắt dầm BTCST [59], [79].
*) Tổng quan nghiên cứu các mô hình tính toán sức kháng cắt dầm BTCST trong các tiêu chuẩn hiện hành trên thế giới:
Trong các tiêu chuẩn hiện hành, khi tính toán về cắt dầm BTCST đang coi đóng góp của sợi như là một phần riêng biệt. Các mô hình tính toán về cắt dầm BTCST trong các tiêu chuẩn RILEM TC162 TDF [104], ACI 544-4R88 [32], EHE-
08 [57], Fib Model code- 2010 [46] đều coi sự đóng góp của cốt sợi thép một cách độc lập… Các công thức tính sức kháng cắt của dầm BTCST trong hầu hết các tiêu chuẩn đều để tách riêng phần sức kháng cắt của cốt sợi thép. Trong đó, phần sức kháng cắt của cốt sợi thép phụ thuộc chủ yếu vào các yếu tố như hàm lượng sợi, hình dạng, kích thước sợi, hệ số sợi và đặc biệt là các cường độ đặc trưng cho vật liệu BTCST. Ngoài ra các yếu tố khác ảnh hưởng đến tính toán lực cắt gồm: Kích thước dầm, tỷ số nhịp cắt chia chiều cao, hình dạng mặt cắt…
Các mô hình trong các tiêu chuẩn hiện nay dựa trên các nghiên cứu thực nghiệm hoặc bán thực nghiệm của các nhà khoa học đi trước. Để tính toán được sức kháng cắt của dầm BTCST theo các mô hình tính trong các tiêu chuẩn hiện nay cần rất nhiều các thông số thí nghiệm đầu vào. Trong tiêu chuẩn RILEM TC62 TDF [104], để tính toán sức kháng cắt dầm BTCST cần các thông số đầu vào là các cường độ chịu kéo uốn đặc trưng thông qua thí nghiệm uốn mẫu dầm. Trong tiêu chuẩn ACI 544-4R 88 [32], để có thể tính sức kháng cắt của dầm BTCST cần có thông số cường độ chịu kéo trực tiếp hoặc gián tiếp thông qua thí nghiệm… Các thông số thí nghiệm đôi khi không sẵn có vì vậy gặp nhiều khó khăn cho việc dự báo sức kháng cắt dầm BTCST, nhất là khi không có các số liệu thí nghiệm.
Hiện tại, các tiêu chuẩn chỉ đưa ra công thức tính toán sức kháng cắt cho dầm BTCST nhưng không cho ta dự báo được ứng xử của dầm BTCST, đặc biệt là dự báo góc nghiêng ứng suất kéo chủ. Các tiêu chuẩn chưa đưa ra mô hình dự báo sức kháng
cắt của riêng dầm BTCĐC CST. Trong hầu hết các mô hình tiêu chuẩn hiện nay đều coi góc nghiêng ứng suất kéo chủ (θ) là 45o. Thực tế, góc nghiêng này thường nhỏ hơn 45o và thay đổi khi hàm lượng sợi thép thay đổi. Ngoài ra các yếu tố khác như: độ mở rộng vết nứt, ảnh hưởng của biến dạng trong cốt thép dọc và cốt đai, mối quan hệ giữa ứng suất biến dạng trong tiết diện nghiêng cần được xem xét khi nghiên cứu ứng xử cắt dầm BTCST. Hàm lượng cốt thép dọc và đai có mối liên quan chặt chẽ tới sự làm việc cắt của dầm BTCST đặc biệt có sự khác biệt ở dầm BTCĐC CST. Tuy nhiên trong các tiêu chuẩn hiện nay, khó có thể xem xét được các yếu tố nói trên.
* Tổng quan về nghiên cứu ứng xử cắt của dầm BTCST trên thế giới và ở Việt Nam.
Khi thực hiện nghiên cứu, để đánh giá được sự đóng góp của riêng cốt sợi thép đối với sức kháng cắt, nhiều nhà khoa học thường sử dụng dầm BTCST không cốt đai. Khi đó, các nhà nghiên cứu có thể dễ dàng hơn trong việc đánh giá được sự đóng góp của sợi cho sức kháng cắt. Tuy nhiên đối với dầm BTCST có sử dụng cốt đai và cốt sợi thép, mối quan hệ ứng suất biến dạng rất phức tạp. Khi có mặt của cốt thép đai truyền thống trong dầm BTCST, sự hỗ trợ lẫn nhau của hai loại cốt thép này giúp cho sức kháng cắt tăng lên. Ứng xử cắt của dầm BTCST có cốt đai có sự khác biệt so với ứng xử cắt dầm BTCST không cốt đai. Sau đây đề cập đến các nghiên cứu thực nghiêm và bán thực nghiệm về ứng xử cắt của hai loại dầm BTCST có và không có cốt đai:
Nghiên cứu ứng xử cắt của dầm BTCST không sử dụng cốt đai
Trên thế giới, nhiều nghiên cứu về ứng xử cắt của dầm BTCST không sử dụng cốt đai đã được thực hiện. Sử dụng phương pháp thực nghiệm, bán thực nghiệm và các mô hình tính toán trong các tiêu chuẩn hiện hành các nhà khoa học đã nghiên cứu về ứng xử cắt của dầm BTCĐC CST. Các nghiên cứu khảo sát về đóng góp của cốt sợi thép đối với sức kháng cắt của dầm BTCST, về các yếu tố ảnh hưởng đến sức kháng cắt của dầm BTCST. Nghiên cứu ứng xử sau nứt và hình thức phá hoại cắt của dầm BTCST. Một số nghiên cứu đã xây dựng được mô hình dự báo sức kháng cắt dầm BTCST cường độ thông thường. Đối với dầm BTCĐC CST cũng đã có một vài
nghiên cứu để đánh giá vai trò của cốt sợi thép khi chịu cắt. Một số nghiên cứu đã xây dựng được mô hình dự báo sức kháng cắt dầm BTCĐC CST không cốt đai. Tuy nhiên để dự báo được sức kháng cắt dầm BTCST cần các thông số thí nghiệm như lực dính bám, cường độ đặc trưng của vật liệu…
Trong dầm BTCST các thành phần tham gia trong sức kháng cắt bao gồm: Bê tông miền chịu nén (bê tông vùng chưa nứt), cốt đai, cốt thép dự ứng lực và cốt sợi thép phân tán. Sự phá hoại do cắt xảy ra trên tiết diện nghiêng. Cơ chế truyền lực cắt trong dầm BTCST gồm: Sự truyền lực cắt thông qua miền bê tông chưa nứt (miền chịu nén), sự truyền lực cắt thông qua hiện tượng cài vào nhau của cốt liệu, sự truyền lực cắt thông qua hiệu ứng chốt của cốt thép dọc chủ, sự truyền ứng suất thông qua cốt thép đai, xiên, cốt sợi thép và hiệu ứng do cốt dự ứng lực. Ngoài các thành phần tham gia chịu lực cắt như trong dầm BTCT thông thường còn có thêm phần đóng góp của cốt sợi thép phân tán. Sức kháng cắt của dầm BTCST phụ thuộc vào các yếu tố như sau: Cường độ chịu nén của bê tông (fc’), hàm lượng cốt sợi (Vf), hàm lượng thép dọc (ρ) và tỷ lệ giữa nhịp cắt và chiều cao có hiệu của dầm (a/d)… Các nghiên cứu trước đây đều cho rằng cốt sợi thép đóng góp rất lớn cho khả
năng chịu cắt của dầm BTCST [48], [70], [59], [71], [69], [109], [117]. Đối với bê tông cấp cao thì khả năng chịu cắt của dầm khi có cốt sợi tăng nhiều hơn bê tông thông thường [55], [107]. Khả năng chịu cắt của dầm theo các nghiên cứu có phạm vi tăng rất khác nhau: tăng từ 13% đến 170% theo Narayanan and Darwish [95], tăng (22-89)% theo như Swamy và cộng sự [41]. Tùy theo loại sợi, hàm lượng sợi, tỷ lệ hướng sợi và cường độ chịu nén của bê tông mà lượng tăng sức kháng cắt khác nhau. Tùy thuộc vào loại bê tông cấp cao hay thấp, bê tông nặng hay nhẹ mà mức độ đóng góp của sợi khác nhau.
Các nghiên cứu ban đầu về cắt dầm BT CST được thực hiện bởi các tác giả như: Sharma [41], Narayanan và Darwish [95], Naaman và các công sự [94], Lim và Oh [99]… Các tác giả tập trung vào khảo sát ảnh hưởng của các yếu tố như hình dạng sợi, hàm lượng sợi và tỷ số giữa khoảng cách đặt lực với chiều cao hữu hiệu dầm (gọi tắt là tỷ lệ nhịp cắt và chiều cao có hiệu). Một số nghiên cứu dựa trên các phương
pháp lý thuyết và thực nghiệm, đề xuất ra các công thức tính ứng suất cắt trung bình trên tiết diện dầm (νu).
Năm 1987, Narayanan and Darwish [95] đã nghiên cứu thực nghiệm và khẳng định rằng khi tăng tỷ lệ hình dạng hay cò gọi tỷ lệ hình học (Lf/Df) của sợi dẫn đến cải thiện đáng kể sức kháng cắt của dầm, trong khi đó tăng hàm lượng cải thiện không nhiều khả năng chịu cắt của dầm BTCST. Tuy nhiên, một số tác giả cho rằng khả năng chịu cắt của dầm bê tông tăng đáng kể chỉ với hàm lượng nhỏ cốt sợi thép [41], [99].
Năm 2001, các tác giả K. S. Elliott, C. H. Peaston and K. A. Paine [79] đã nghiên cứu sức kháng cắt của dầm bê tông dự ứng lực có cốt sợi thép và đã khẳng định đóng góp của sợi thép cho sức kháng cắt là rất đáng kể. Nghiên cứu đã chỉ ra rằng, hàm lượng sợi, tỷ lệ hình dạng sợi, cường độ chịu kéo sau nứt của BTCST có ảnh hưởng rất lớn đến sức kháng cắt của dầm BTCST. Các tác giả đã đề xuất mô hình tính toán sức kháng cắt của dầm bê tông dự ứng lực cốt sợi thép (BT DUL CST).
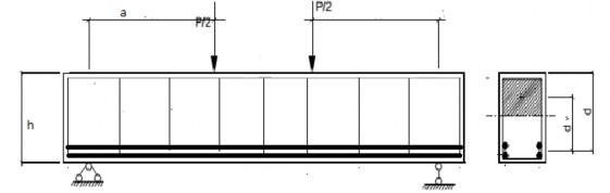
Yoon Keunt Kwak, Mack O. Eberhard, Woo-Suk Kim, và Jubum Kim [117] đã nghiên cứu thực nghiệm trên 12 dầm BTCST tiết diện chữ nhật, với các tỷ lệ giữa nhịp cắt (a) và chiều cao hữu hiệu của dầm (d) xem Hình 1.7. Tỷ số này thay đổi lần lượt là 2,3,4.

Hình 1.7 Chiều dài nhịp cắt(a) và chiều cao hữu hiệu(d)
Hàm lượng sợi tương ứng là 0; 0,5 và 0,75% với 2 cấp bê tông 31MPa và 65MPa và đã có kết luận rằng: Tỷ lệ tăng khả năng chịu cắt của dầm rất cao (từ 69 đến 80%) khi tỷ số a/d nhỏ nhất (a/d=2). Mô hình phá hoại dầm là do cắt. Ngược lại khi tỷ số a/d lớn hơn thì cường độ chịu cắt thay đổi trong phạm vi nhỏ hơn (22% đến
Độ võng, mm
Lực, KN
38%). Khi sử dụng cốt sợi thép trong dầm bê tông cường độ cao dẫn tới ứng xử nứt thay đổi: khoảng cách và bề rộng vết nứt giảm. Tăng khả năng biến dạng (tăng độ dẻo). Đồ thị quan hệ giữa độ võng và tải trọng như Hình 1.8. Đồng thời, các tác giả đã sử dụng kết quả thử nghiệm từ 139 dầm BTCST sưu tập, để đánh giá sự chính xác các mô hình tính toán sức kháng cắt dầm BTCST của các tác giả trước đó. Trong nghiên cứu khi khảo sát ứng suất cắt trung bình trên tiết diện nghiêng của dầm BTCST, đã khẳng định rằng công thức tính ứng suất cắt trung bình đề xuất bởi Narayanan và Darwish [95]là chính xác nhất. Nghiên cứu đã cho thấy rằng khi sử dụng cốt sợi thép, mô hình phá hủy chuyển từ giòn sang dẻo.
Hình 1.8 Biểu đồ liên hệ giữa lực tác dụng và độ võng dầm BTCST [117]
Khi nghiên cứu lý thuyết kết hợp thực nghiệm về khả năng chịu cắt của dầm BT CST không sử dụng cốt thép đai cường độ thường, các tác giả Hai H. Dinh; Gustavo J. Parra-Montesinos, M.ASCE; và James K. Wight [71] đã chỉ ra rằng ứng suất cắt trung bình trong tiết diện nghiêng khi dầm phá hoại cao hơn so với dầm không có sợi thép. Ứng suất cắt trung bình trong dầm BTCST là 0,33√f’c (MPa) khi hàm lượng cốt thép là 0,75% - 1,5%. Số lượng vết nứt trong phạm vi nghiên cứu này cho thấy cũng thay đổi khi có sợi thép. Số lượng vết nứt nhiều hơn nhưng bê rộng vết nứt nhỏ hơn so với dầm không có cốt sợi thép. Trong nghiên cứu cho thấy rằng bề rộng vết nứt khi phá hủy sẽ lớn hơn khi dùng loại sợi ngắn (30mm). Tuy nhiên thí nghiệm cho thấy bề rộng vết nứt bằng khoảng 0,5% của chiều dài sợi. Điều này phụ thuộc vo hình dạng móc ở hai đầu của sợi.




![Các Vết Nứt Do Lực Cắt Gây Ra Trong Dầm Bt Cđc Và Btcđc Cst [101]](https://tailieuthamkhao.com/uploads/2023/10/22/nghien-cuu-ung-xu-cat-cua-dam-be-tong-cuong-do-cao-cot-soi-thep-6-1-120x90.jpg)
![Ứng Xử Cắt Trong Dầm Bt Cđsc Có Bố Trí Cốt Đai Và Cốt Sợi Kết Hợp [58]](https://tailieuthamkhao.com/uploads/2023/10/22/nghien-cuu-ung-xu-cat-cua-dam-be-tong-cuong-do-cao-cot-soi-thep-7-5-120x90.gif)
![Cơ Chế Truyền Lực Của Bê Tông Thông Qua Ma Sát Giữa Các Bề Mặt Vết Nứt Khi Có Cốt Thép Chịu Cắt [29]](https://tailieuthamkhao.com/uploads/2023/10/22/nghien-cuu-ung-xu-cat-cua-dam-be-tong-cuong-do-cao-cot-soi-thep-8-1-120x90.jpg)