Câu 3: Xét cơ cấu nâng vật Q (N) như hình 3. Có hiệu suất ròng rọc ηr (các ròng rọc có hiệu suất như nhau), tang c đường kính D0, hiệu suất ηt, tỷ số truyề trên trục I và II là i1 và i2, vận tốc nâng vật là vn (m/ph). Hãy: a. Tính mô men trên các trục I, II, III trên tang khi nâng vật. b. Tính vận tốc dây cuốn lên tang. c. Tính số vòng quay n của tang, trục I, II, III. d. Tính công suất của động cơ. | III II I Q Hình 3 | |||||
Câu 4: Cho sơ đồ như hình 4 a. Hãy phân biệt các loại ròng rọc và nêu tác dụng của các ròng rọc đó trong hệ thống. b. Xác định bội suất a c. Tính lực căng lớn nhất của dây quấn vào tang khi hạ vật với tải trọng Q, biết hiệu suất của mỗi ròng rọc là ηr (cho các ròng rọc giống nhau). d. Tính vận tốc nhả dây trên tang và số vòng quay của tang. Biết vận tốc hạ vật là vh (m/ph). | ||||||
Tang Q Hình 4 | ||||||
Có thể bạn quan tâm!
-
Máy nâng chuyển - 9 -
Phanh Tự Động Giữ Vật Có Mặt Ma Sát Không Tách Rời -
Sơ Đồ Cơ Cấu Nâng Dẫn Động Bằng Điện -
Bệ Máy; 2- Tang Cuốn Cáp; 3- Hộp Giảm Tốc; 4- Tay Gạt Điều Khiển; -
Các Phương Án Dẫn Động Cơ Cấu Di Chuyển Cầu Trục -
Gối Tựa Trên Và Dưới; 2- Cơ Cấu Nâng; 3- Thanh Giằng Cứng; 4- Palăng Nâng Vật; 5- Cần; 6- Cơ Cấu Quay
Xem toàn bộ 159 trang tài liệu này.
ó n
CHƯƠNG 2: CÁC MÁY TRỤC THÔNG DỤNG
2.1. Thiết bị nâng đơn giản
2.1.1. Kích
Kích là một thiết bị nâng có hành trình ngắn. Khi làm việc được đặt dưới tải và nâng tải bằng cách đẩy lên với hành trình tương đối nhỏ. Kích được sử dụng để lắp ráp và sửa chữa. Do đặc điểm sự dụng đòi hỏi chúng phải gọn, trọng lượng nhỏ để dễ mang vác nên đại đa số được dẫn động bằng tay. Vật liệu chế tạo là gang hoặc kim loại nhẹ. Do cấu tạo đơn giản và được chế tạo hàng loạt nên giá thành thấp. Phổ biến nhất là kích thanh răng, kích vít và kích thủy lực.
a. Kích thanh răng
Kích thanh răng có cấu tạo đơn giản, hiệu suất tương đối cao, được chế tạo với sức nâng từ 2 đến 25 tấn, chiều cao nâng 0,3 ÷ 0,7 m. Hình 2.1 mô tả cấu tạo của một kích thanh răng.

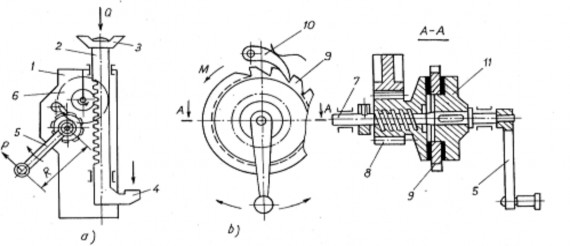
Hình 2.1: Kích thanh răng
a) Cấu tạo chung; b) Tay quay an toàn
1- Vỏ kích; 2- thanh răng; 3- mũ kích; 4- bàn nâng phụ; 5 – tay quay; 6- bộ truyền bánh răng; 7 – trục dẫn; 8 – bánh răng; 9- bánh răng cóc; 10- cóc hãm; 11- đĩa chủ động
Theo quy định về an toàn, trên kích thanh răng phải sử dụng tay quay an toàn có phanh tự động với mặt ma sát tách rời. Muốn nâng vật , quay tay quay thuận chiều, đĩa 11 và bánh răng 8 ép chặt vào bánh cóc 9 tạo thành một khối. Nhờ ma sát mà mômen được truyền đến bánh răng dẫn, đẩy thanh răng lên. Vật được giữ ở độ cao mong muốn nhờ cóc hãm 10. Khi hạ vật, chỉ cần vặn ngược tay quay. Loại này cho phép khống chế tốc độ hạ vật rất tốt. Ở nhiều kích thanh răng, người ta còn bố trí thêm bàn nâng phụ 4 dùng để nâng hàng dưới thấp. Do lực tác dụng lệch tân nên sức nâng giảm xuống còn một nửa.
Ngoài loại kích thanh răng có cấu tạo trên, còn có loại thanh răng cố định, vỏ kích dịch chuyển lên xuống gọi là kích thanh răng tay đòn.
Để nâng tải có trọng lượng Q, trên trục tay quay cần có mômen có giá trị:
Trong đó:
M = Q.r.
1
i.η
b. Kích vít
r- bán kính vòng chia bánh răng dẫn ăn khớp với thanh răng; i – tỷ số truyền các cặp truyền động bánh răng;
η – hiệu suất, η = 0,65 ÷ 0,67
Kích vít có chiều cao nâng thường nhỏ hơn kích thanh răng với sức nâng đến 30 tấn và chiều cao nâng 0,2 ÷ 0,4 m. Kích vít làm việc theo nguyên tắc truyền động vít đai ốc.
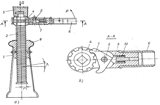
Cấu tạo kích vít gồm đầu kích 3 (hình 2.2, a) đóng vai trò như một ổ chặn có thể quay tròn được. Trục ren vít 2 được truyền động nhờ cơ cấu bánh cóc hai chiều có bánh cóc kẹp chặt trên trục vít (hình 2.2, b). Khi tạo chuyển động cho tay đòn, trục vít sẽ quay và chuyển động tịnh tiến dọc thân kích. Ren thường dùng cho vít là ren thang và lợi dụng tính tự hãm của ren để hãm giữ vật nâng với góc nâng ren 4o – 5o.

Hình 2.2: Sơ đồ cấu tạo kích vít
1- thân kích; 2- trục ren vít; 3- đầu kích; 4- bánh cóc; 5- chốt;
6- tay đòn; 7- cơ cấu cóc hai chiều; 8- đai ốc; 9- cá hãm; 10- lò xo
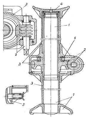
Hình 2.3 mô tả cấu tạo của một loại kích vít khác. Trục ren vít cùng chân tựa 1 được đặt cố định. Bộ truyền bánh vít trục vít 2 có khả năng tự hãm. Bánh vít được liên
kết với vỏ kích 3 thông qua ổ chặn 5 và đóng vai trò như một đai ốc ăn khớp ren với trục vít 1. Khi quay tay quay gắn trên trục vít, bánh vít vừa quay vừa chuyển động tịnh tiến. Vỏ 3 trượt dọc theo thân trục vít, nâng mũ kích 4 lên.

Hình 2.3. Cấu tạo kích vít có trục vít đặt cố định
1- trục vít và chân tựa; 2- bộ truyền bánh vít trục vít; 3- vỏ kích; 4- mũ kích; 5- ổ chặn
Lực trên tay đòn P ở loại kích mô tả trên hình 2.2, a
P = Q tgλ ± ρD + f
d1
trong đó:
r
2 1 2
D- đường kính trung bình trục ren vít;
d1 – đường kính trung bình mặt tựa mũ kích; λ- góc nâng ren (4o – 5o);
f1- hệ số ma sát tại mặt tựa mũ kích; dấu “+” khi nâng hàng;
dấu “-” khi hạ hàng.
Công suất yêu cầu khi sử dụng động cơ dẫn động:
trong đó:
N = Q.v 60.103.η .η
r o
, kW
v- tốc độ nâng, m/ph;
Q- trọng lượng vật nâng, N;
ηr- hiệu suất truyền động ren vít, ηr = 0,25 ÷ 0,4; ηo- hiệu suất truyền động của hệ thống.
c. Kích thủy lực
Kích thủy lực có chuyển động êm như kích vít nhưng có hiệu suất cao hơn và được chế tạo với sức nâng lớn hơn, có thể đạt đến 750 tấn, chiều cao nâng từ 0,15 đến 0,7m.
Nguyên tắc làm việc của kích là áp lực dầu từ bơm được truyền đến xylanh công tác để nâng vật. Cấu tạo kích gồm hai bộ phận chính: bơm và pittông – xy lanh công tác. Vật được nâng lên khi chất lỏng vào xylanh của kích và được hạ xuống nhờ chất lỏng đi qua van xả. Điều chính tốc độ dòng chảy cũng tức là điều chỉnh tốc độ hạ vật bằng van xả. Chất lỏng trong kích là dầu khoáng hoặc nước pha glyxêrin có tỷ lệ 2:1. Đẩy chất lỏng vào kích bằng bơm tay hoặc bơm có động cơ dẫn động. Bơm gắn trực tiếp với kích hoặc nối vào kích qua hệ ống dẫn. Một bơm có thể dẫn động cho một kích hoặc nhiều kích.
Hình 2.4 giới thiệu sơ đồ kích thủy lực liền với bơm, dẫn động tay. Chuyển động lắc của tay bơm cùng trục cam 8 tạo nên chuyển động tịnh tiến của pittông bơm 6 trong xylanh 7. Dầu từ bình chứa sẽ qua van một chiều 3 vào xylanh bơm sau đó được đẩy qua van áp lực 9 vào xylanh công tác và đẩy pittông 1 lên. Vật nâng được nâng lên một cách gián đoạn theo nhịp điệu lặc của tay đòn bơm. Khi hạ vật, mở van 4, dưới tác dụng của trọng lượng vật nâng, đầu kích sẽ được hạ xuống. Chất lỏng trở về bình chứa qua van 4.
Từ điều kiện cân bằng áp lực p tại hai xylanh khi nâng vật nặng có trọng lượng
Q:
p = Q = P
F f
Ta có lực trên tay bơm P:
f r 1
d 2 r 1
P = Q. . .
QH . .
o
trong đó :
F l η
dA l η
f và F- diện tích tiết diện ngang của các pittông; dH, dA- đường kính tương ứng.
Tốc độ nâng của kích :
d 2
S.n.γ
trong đó :
v H
dA
. , cm/s 60
S- hành trình của pit tông bơm, cm;
n- tốc độ làm việc của tay bơm, lần/ph; γ- hệ số tổn thất, γ = 0,9 ÷ 0,95.

Hình 2.4: Kích thủy lực
a) Kết cấu bơm thủy lực; b) Sơ đồ nguyên lý
1- pit tông; 2- xylanh công tác có phớt dầu bằng da; 3- van hút; 4- van xả; 5- cam; 6- pit tông; 7- xylanh bơm; 8- trục cam và tay bơm; 9- van áp lực
Dễ thấy lực trên tay bơm phụ thuộc vào tỷ số
dH . dA
Vì dễ đạt được tỷ số dH
dA
nhỏ nên có thể tạo được kích thước thủy lực có sức
nâng lớn mà kích thước và trọng lượng không lớn. Trong thực tế thường dụng kích có sức nâng 100 ÷ 200 tấn, chiều cao nâng 0,15 ÷ 0,2 m. Khối lượng bản thân từ 180 đến 330 kg.
2.1.2. Tời
Tời làm một thiết bị dùng để nâng vật lên cao hoặc kéo tải dịch chuyển trong mặt phẳng ngang hay nghiêng. Tời có thể sử dụng riêng biệt hoặc kết hợp với các cơ cấu khác nhau như cần trục, máy đào,…
Cấu tạo chung của tời gồm có: tang cuốn cáp với một hoặc nhiều lớp cáp, hệ thống truyền lực, bộ phận dẫn động và bộ phận phanh hãm… Tời có nhiều loại khác nhau, theo nguồn dẫn động có thề phân thành: tời tay và tời máy; theo số tang cuốn cáp có tời một tang và tời nhiều tang. Theo công dụng có tời nâng, tời kéo, tời cho cơ cấu quay.
a. Tời tay
Tời tay để nâng các vật nhẹ hoặc kéo xe có tải trọng nhỏ. Khi làm việc tời được kẹp chặt trên nền hoặc gắn trên tường. Việc kẹp chặt phải đảm bảo chắc chắn, chịu được hai lần lực kéo danh nghĩa.

Hình 2.5: Tời gắn tường
1- vỏ hàn; 2- trục vít và tay quay; 3- bánh vít gắn với tang
Tời gắn trên tường (hình 2.5) không sử dụng phanh mà lợi dụng khả năng tự hãm của bộ truyền bánh vít – trục vít.
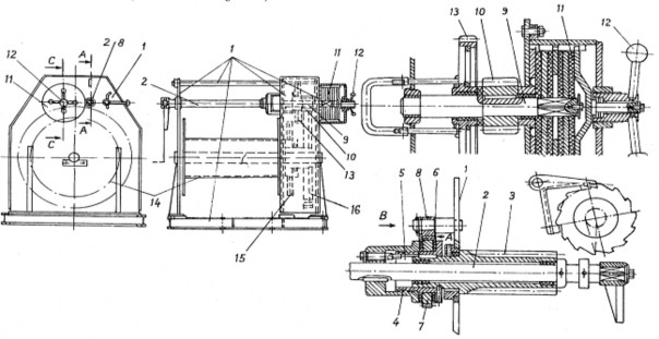
Tời có khung bệ gắn trên nền mô tả trên hình 2.6 có hai tốc độ. Trên trục tay quay an toàn 2 gắn bánh răng dẫn 3 có chiều rộng đủ lớn để đảm bảo ăn khớp với bánh răng trượt 13 khi bánh răng này đến vị trí giới hạn trên trục 9. Hai bánh răng gắn trên tang có đường kính khác nhau. Bánh có đường kính lớn luôn ăn khớp với bánh răng 10 lắp trên trục 9. Để có tốc độ nhanh, trượt bánh răng 13 sang trái ăn khớp với bánh răng có đường kính nhỏ 15, lúc này bánh 13 đóng vai trò là một bánh trung gian cho 3 và
15 (tỷ số truyền i =
Z15 ).
Z3
Khi tang treo tải, muốn chuyển sang tốc độ chậm, đóng phanh đĩa 11 bằng cách quay tay quay 12 để giữ vật nhờ phanh đĩa 11, sau đó trượt 13 sang phải khớp với
bánh răng 10 bằng khớp vấu. Tỷ số truyền của hệ thống lúc này là i =
Z13 . Z16 .
Z3 Z10
Khi bánh răng 13 trượt ở vị trí trung gian, tang sẽ không có liên kết cứng với tay quay an toàn, do vậy việc bố trí phanh 11 là cần thiết. Tay quay an toàn được sử dụng nhằm mục đích loại bỏ khả năng quay tự do của tay quay do trọng lượng vậy nâng gây ra khi hạ vật. Nó sử dụng nguyên lý làm việc của phanh tự động với mặt ma sát tách rời.

Hình 2.6: Tời khung bệ gắn trên nền
1- các tấm thép thành bên; 2- trục dẫn có lắp tay quay an toàn; 3- bánh răng dẫn; 4- ống ren; 5- đai ốc; 6- đĩa ma sát; 7- bánh cóc; 8- cóc hãm; 9- trục trung gian;
10- bánh răng trung gian; 11- phanh đĩa; 12- tay quay; 13- bánh răng trượt; 14- tang cuốn cáp; 15- bánh răng có đường kính nhỏ; 16- bánh răng có đường kính lớn.
b. Tời máy
Tời máy được dẫn động bằng động cơ, thường là động cơ điện. Tời được gắn trên khung bệ để dễ dàng vận chuyển, cũng như định vị chống lực kéo ngang hoặc nghiêng. Tời máy hay được phối hợp với tổ hợp ròng rọc (palăng cáp) để kéo hoặc nâng những vật rất nặng. Lượng cáp chứa trên tời rất lớn, có thể đến 200 – 400 m. Có nhiều loại tời khác nhau như: tời một tang quay hai chiều, tời nhiều tốc độ, tời ma sát. Khi nguồn động lực là động cơ đốt trong thường dùng sơ đồ tời nhiều tang dẫn động chung.
Trên hình 2.7 trình bày một kiểu tời một tang quay hai chiều dẫn động điện. Tời này được dùng nhiều trong xây dựng và ở các bãi lắp ráp. Động cơ điện được nối với hộp giảm tốc đồng thời là bánh phanh. Điện trở 8 dùng để khởi động cho động cơ dây cuốn 7 với ba đến bốn nấc điện trở chuyển đổi nhờ hộp điều khiển cần gạt 4.
Điều kiện lắp ráp các kết cấu xây dựng, các thiết bị nặng đòi hỏi tời phải có nhiều tốc độ. Các tốc độ cao dùng để nâng tải và hạ móc không tải. Các tốc độ thấp dùng để đặt và điều chỉnh tải vào vị trí lắp rắp.
Khác với tời điện đảo chiều, tời ma sát có liên hệ ma sát giữa tang và động cơ qua nối trục ma sát (ly hợp). Ở tời ma sát, động cơ luôn quay một chiều theo chiều nâng, khi hạ vật ly hợp được mở và vật rơi tự do. Tốc độ hạ vật được khống chế bằng phanh đai. Nguyên lý này có thể sử dụng một động cơ dẫn động cho nhiều tang, mỗi tang sẽ có một ly hợp và một phanh riêng (hình 2.8).






