
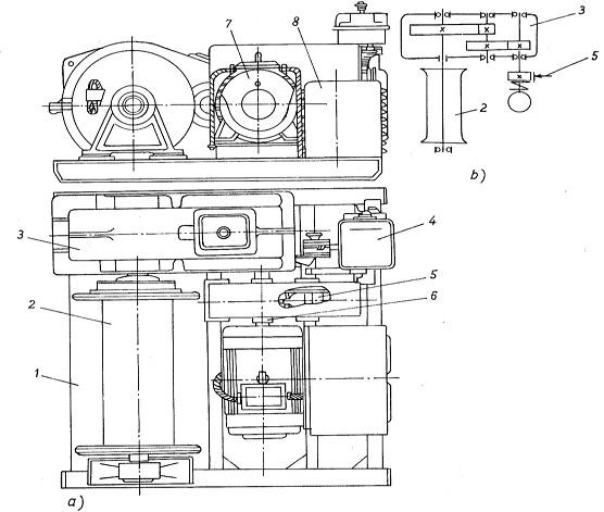
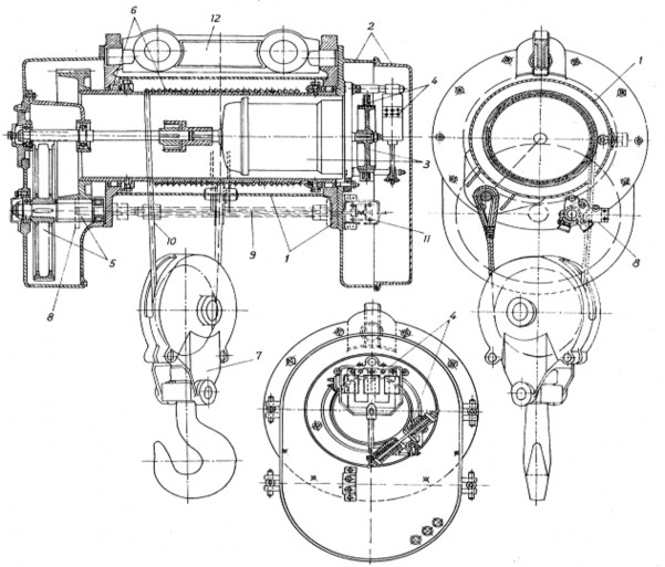
Hình 2.7: Tời điện đảo chiều có lực kéo 5000 daN
a) Kết cấu tời; b) Sơ đồ truyền động
1- bệ máy; 2- tang cuốn cáp; 3- hộp giảm tốc; 4- tay gạt điều khiển;
5- phanh hai má điện thủy lực; 6- khớp nối đàn hổi; 7- động cơ dây cuốn; 8- hộp trở.

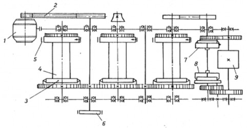
Hình 2.8: Tời ma sát nhiều tang dẫn động chung
1- động cơ; 2- bộ truyền đai; 3- ly hợp ma sát; 4- tang cuốn cáp; 5, 6- phanh; 7, 8- ly hợp của tang quay hai chiều; 9- tang quay hai chiều
So sánh hai loại tời trên, ta thấy tời điện đảo chiều làm việc có độ tin cậy cao, điều khiển đơn giản do vậy được sử dụng rộng rãi. Tời ma sát một chiều có ưu điểm
khởi động êm, có thể sử dụng động cơ đốt trong để dẫn động nhiều tang. Tuy nhiên làm việc không chắc chắn, khó khống chế tốc độ hạ vật và khó thực hiện việc điều khiển tự động nên ít được dùng, hiện chỉ thấy ở một số cần trục tự hành và một số cơ cấu khác chuyên dùng.
Có thể bạn quan tâm!
-
Phanh Tự Động Giữ Vật Có Mặt Ma Sát Không Tách Rời -
Sơ Đồ Cơ Cấu Nâng Dẫn Động Bằng Điện -
Vỏ Kích; 2- Thanh Răng; 3- Mũ Kích; 4- Bàn Nâng Phụ; 5 – Tay Quay; 6- Bộ Truyền Bánh Răng; 7 – Trục Dẫn; 8 – Bánh Răng; 9- Bánh Răng Cóc; 10- Cóc Hãm; 11- Đĩa -
Các Phương Án Dẫn Động Cơ Cấu Di Chuyển Cầu Trục -
Gối Tựa Trên Và Dưới; 2- Cơ Cấu Nâng; 3- Thanh Giằng Cứng; 4- Palăng Nâng Vật; 5- Cần; 6- Cơ Cấu Quay -
Tính Toán Kết Cấu Kim Loại Trong Cần Trục Thông Dụng
Xem toàn bộ 159 trang tài liệu này.
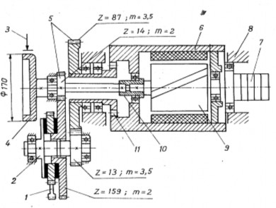
Khi cần phải kéo hàng, kéo toa xe, … với lượng cáp khá lớn người ta dùng tời ma sát kiểu tang lòm. Cáp chỉ vòng qua tang dẫn vài vòng, sau đó rời khỏi tang và được xếp vào bên cạnh hoặc cuốn lên một tang riêng. Dạng lòm của tang đảm bảo cáp không bị chạy dọc theo tang trong quá trình làm việc mà nó luôn trượt lại và nằm ở giữa tang. Thông qua lực ma sát giữa cáp và tang, lực kéo được truyền cho cáp (hình 2.9).

kéo):
Hình 2.9 : Tời ma sát tang lòm
1- động cơ ; 2- hệ thống truyền động ; 3- tang lòm
Quan hệ giữa lực kép FZ và lực kéo tại đầu cáp nhả FH (thường do công nhân
FZ = FH.efα
trong đó:
f- hệ số ma sát giữa cáp và tang, f = 0,185 α - góc ôm của cáp trên tang, rad.
Tời máy ngày nay được chế tạo với lực kéo lên đến 10000daN. Một số loại tời
dùng trong công nghiệp đóng tàu có lực kéo đến 80000 daN và có hệ thống dẫn động làm việc theo nguyên tắc điện- thủy lực.
2.2. Palăng
Palăng là một thiết bị nâng được treo ở trên cao, gồm một cơ cấu nâng, trong nhiều trường hớp được trang bị thêm cơ cấu di chuyển. Đặc điểm của nó là kích thước nhỏ gọn, kết cấu không phức tạp, trọng lượng nhẹ. Pa lăng thường được treo vào các dầm, cột chống, giá chuyên dùng hoặc vào xe con di chuyển. Dẫn động pa lăng có thể bằng tay hoặc điện, cũng có pa lăng dẫn động bằng khí nén. Dây treo hàng có hai loại là xích và cáp.
a. Palăng xích kéo tay
Palăng xích kéo tay được sử dụng trong các công việc lắp ráp, sửa chữa hoặc khi không có nguồn điện với tải nâng nhỏ, chiều cao nâng không lớn và sử dụng không thường xuyên.
Dẫn động bằng xích kéo tay vòng qua bánh kéo làm quay trục dẫn của palăng. Đĩa xích kéo thường có số răng nhỏ hoặc đường kính nhỏ. Tùy theo loại truyền động có palăng xích kieur trục vít và kiểu bánh răng. Loại sau so với loại trước có hiệu suất cao hơn nên có thể sử dụng để nâng vậu nặng với tốc độ lớn hơn. Hiệu suất pa lăng xích kiểu bánh răng là 0,7 - 0,85 còn ở loại bánh vít trục vít là 0,55 – 0,8.
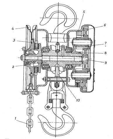
Palăng trục vít (hình 2.10) gồm móc treo 1, bộ khung 2 trong đó có lắp bánh vít 3 gắn liền với đĩa xích treo tải. Trục vít 4 được dẫn động nhờ đĩa xích kéo 9. Bộ truyền trục vít được chế tạo không tự hãm, do vậy pa lăng nhất thiết phải được trang bị phanh, ví dụ trên hình vẽ là phanh tự động với mặt ma sát không tách rời.

Hình 2.10: Palăng xích kéo tay kiểu trục vít
1- móc treo pa ăng; 2- khung treo; 3- bánh vít cùng đĩa xích treo tải;
4- trục vít có gắn đĩa phanh nón; 5- bánh răng cóc đồng thời là phanh nón thứ hai; 6- cóc hãm; 7- bi cầu chịu nén; 8- chốt treo xích tải; 9- đĩa xích kéo.
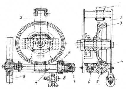
Palăng kiểu bánh răng sử dụng bộ truyền hành tinh (hình 2.11) có kết cấu nhỏ gọn. Mômen được truyền từ bánh kéo 4 sang trục dẫn 9. Nhờ các bánh răng hành tinh 7 luôn ăn khớp với vành răng cố định 5 gắn trên trục của bánh răng 7 làm cần 8 quay dẫn động cho đĩa xích tải 2. Palăng được trang bị phanh tự động với mặt ma sát tách rời 3.
Pa lăng xích kéo tay được chế tạo với sức nâng từ 0,5 đến 20 tấn.

Hình 2.11: Pa lăng xích kéo tay kiểu bánh răng
1- xích kéo; 2- đĩa xích tải; 3- phanh tự động; 4- đĩa xích kéo;
5- vành răng cố định;6- bánh răng trung gian; 7- bánh răng hành tinh; 8- cần của truyền động hành tinh; 9- trục dẫn; 10- xích tải
b. Palăng điện
Pa lăng điện có ưu điểm là trọng lượng nhỏ, độ tin cậy cao, chi phí bảo dưỡng, sửa chữa thấp, dễ thay thế các chi tiết hư hỏng, dễ sử dụng, hiệu suất cao. Palăng điện được sẻ dụng nhơ là một máy độc lập hoặc làm nhiệm vụ cơ cấu nâng trong các máy như cầu trục, cổng trục, cần trục côngxôn, … khi này nó được trang bị thêm cơ cấu di chuyển. Cấu tạo chung của pa lăng điện cho trên hình 2.12. Cơ cấu di chuyển pa lăng có kiểu treo di chuyển trên một hoặc hai ray là cánh dưới của dầm thép đình hình chữ
I. Cũng có khi là kiểu đặt di chuyển trên hai ray.
Do yêu cầu nhỏ gọn nên các bộ truyền bánh răng trong palăng điện thường được chế tạo bằng các loại thép hợp kim crôm, crôm- niken, … thường sử dụng các bánh răng có số răng nhỏ, hay dùng truyền động hành tinh. Ngày nay pa lăng được chế tạo với sức nâng 0,32 – 32 tấn, chiều cao nâng có thể đến 30m. Tốc độ nâng 3- 15 m/ph. Trong trường hợp cần thiết có thể có thêm tốc độ nhỏ hơn tốc độ chính vài ba lần.

Hình 2.12: Palăng điện
a) Pa lăng điện với cơ cấu di chuyển kiểu treo;
b) Pa lăng điện với cơ cấu di chuyển kiểu đặt
1- pa lăng điện; 2- cụm bánh xe di chuyển kiểu treo; 3- động cơ cơ cấu di chuyển; 4- hộp nút bấm điều khiển; 5- cơ cấu di chuyển kiểu đặt
Kết cấu của pa lăng điện rất đa dạng, khác nhau chủ yếu về cách bố trí động cơ. Có thể phân biệt ba loại: động cơ bố trí đồng trục với tang, động cơ bố trí ngay trong tang và động cơ bố trí song song với tang. Hình 2.13 mô tả cấu tạo của pa lăng điện với động cơ đặt trong tang. Hai tấm đỡ 1 được liên kết với nhau nhờ vỏ bằng ống thép tạo ra khoang chứa trong. Trong khoang chứa này bố trí tang cuốn cáp. Tang 6 được đỡ bởi hai vành lăn. Vòng trong gắn với tang, vòng ngoài được đỡ bởi các tấm đỡ 1. Để giảm chiều dài của thiết bị, người ta bố trí động cơ nằm trong lòng tang bằng cách gắn côngxôn trên tấm đỡ 1 thông qua khoang chứa phụ. Phía trong khoang phụ này có chứa phanh đai điện từ 4 và bộ đóng ngắt điện kiểu ren vít để hạn chế hành trình nâng. Hộp truyền động với hai cặp bánh răng trụ được lắp đối diện với khoang phụ.
Giữa trục động cơ và trục của bánh răng dẫn thứ nhất được nối với nhau bằng khớp.
Để rải cáp đều trên tang, sử dụng bộ rải cáp gồm đai ốc 10 dịch chuyển dọc trên trục ren vít 9 với bước ren phù hợp với bước rãnh cáp. Dẫn động quay tròn cho trục ren vít nhờ bánh răng trên tang ăn khớp với 8. Trục ren vít cũng dẫn động cho cả bộ đóng ngắt 11. Động cơ 3 là động cơ rôto lồng sóc điều khiển bằng hộp nút bấm.

Hình 2.13: Cấu tạo pa lăng với động cơ đặt trong tang
1- tấm đỡ; 2- khoang chứa phụ; 3- động cơ điện; 4- phanh đai điện từ; 5- truyền động bánh răng hai cấp; 6- tang cuốn cáp; 7- cụm móc treo;
8- bánh răng dẫn cho trục dẫn cáp; 9- trục dẫn cáp; 10- đai ốc dẫn cáp; 11- bộ đóng ngắt kiểu ren vít; 12- dầm đỡ cụm tời.
Trên hình 2.14 mô tả sơ đồ pa lăng điện dạng khác. Ở loại này có tang cuốn cáp đóng vai trò như là vỏ của động cơ chứa các cuộn dây stato ở bên trong. Trong palăng có đặt hai phanh, phanh đai kiểu điện từ 3 có nam châm điện hành trình lớn đặt trên trục dẫn. Phanh trọng vật 1 đặt trên trục bị dẫn làm việc theo nguyên tắc phanh tự động với mặt ma sát tách rời. Phanh đai dùng để khắc phục động năng rô to động cơ trong quá trình phanh còn phanh trọng vật để hãm giữ vật nâng và điều chỉnh tốc độ hạ vật.
Để tiện cho việc thay thế, sửa chữa, một số loại palăng có động cơ điện lắp đồng trục và được bố trí ở ngoài đầu tang. Cách bố trí này còn tạo điều kiện thoát nhiệt tốt cho động cơ. Cũng nhằm mục đích đảm bảo gọn, người ta còn sử dụng động cơ lồng sóc có rôto dạng côn. Đầu trục phía đuôi động cơ có bánh phanh gắn tấm ma sát dạng côn. Bánh phanh này luôn ép vào một đĩa côn khác gắn cố định trên vỏ p lăng
nhờ một lò xo nén. Lúc này giữa rôto và stato có khe hở khá lớn. Khi cấp điện cho động cơ, từ trường do stato sinh ra sẽ hút rôto vào phía trong, khắc phục lực ép của lò xo, hai bánh phanh tách rời nhau. Đồng thời với quá trình trên, mô men quay của rôto tăng lên đảm bảo chuyển động ổn định cho vật nâng. Hệ thống truyền động sử dụng bộ truyền hành tinh làm phức tạp nhiều về kết cấu nhưng tạo được tỷ số truyền cao, kích thước palăng nhỏ, gọn.

Hình 2.14: Sơ đồ pa lăng điện động cơ liền tang
1- phanh trọng vật; 2- trục dẫn; 3- phanh đai; 4- bánh phanh; 5- bánh răng lớn; 6- tang; 7- bộ lấy điện; 8- khung treo; 9- động cơ; 10- khớp nối ống; 11- khớp răng.
2.3. Cầu trục và cần trục quay
2.3.1. Cầu trục
a. Công dụng và phân loại
Cầu trục được dùng chủ yếu trong các phân xưởng, nhà kho để nâng hạ và vận chuyển hàng hóa với lưu lượng lớn. Cầu trục là một kết cấu dầm hộp hoặc dàn, trên đó đặt xe con có cơ cấu nâng. Dầm cầu có thể chạy trên các đường ray đặt trên cao dọc theo nhà xưởng còn xe con có thể chạy dọc theo dầm cầu. Vì vậy mà cầu trục có thể nâng hạ và vận chuyển hàng theo yêu cầu tại bất kỳ điểm nào trong không gian của nhà xưởng.
Cầu trục được sử dụng trong tất cả các lĩnh vực của nền kinh tế quốc dân với các thiết bị mang vật rất đa dạng như móc treo, thiết bị cặp, nam châm điện, gầu ngoạm,… Đặc biệt, cầu trục được sử dụng phổ biến trong ngành công nghiệp chế tạo máy và luyện kim với các thiết bị mang vật chuyên dùng.
Cầu trục được chế tạo với tải trọng nâng từ 1 đến 500 tấn, khẩu độ dầm cầu đến 32m, chiều cao nâng đến 16m, tốc độ nâng vật từ 2 đến 40 m/ph, tốc độ di chuyển xe con đến 60 m/ph và tốc độ di chuyển cầu trục đến 125 m/ph. Cầu trục có tải trọng nâng
trên 10 tấn thường được trang bị hai hoặc ba cơ cấu nâng vật: một cơ cấu nâng chính và một hoặc hai cơ cấu nâng phụ. Tải trọng nâng của loại cầu trục này thường được ký hiệu bằng một phân số với các tải trọng nâng chính và phụ, ví dụ: 15/3 tấn; 20/5 tấn; 150/20/5 tấn, …
Theo công dụng có các loại cầu trục có công dụng chung và cầu trục chuyên dùng. Cầu trục có công dụng chung chủ yếu dùng với móc treo để xếp dỡ, lắp ráp và sửa chữa máy móc. Loại cầu trục này có tải trọng nâng không lớn và khi cần có thể dùng với gầu ngoạm, nam châm điện hoặc thiết bị cặp để xếp dỡ một loại hàng nhất định. Cầu trục chuyên dùng được sử dụng chủ yếu trong công nghiệp luyện kim với các thiết bị mang vật chuyên dùng và có chế độ làm việc rất nặng.
Theo kết cấu dầm cầu có các loại cầu trục một dầm (hình 2.16 và 2.17) và cầu trục hai dầm (hình 2.19). Dầm cầu của cầu trục một dầm thường là dầm chữ I hoặc dầm tổ hợp với các dàn thép tăng cứng cho dầm (hình 2.18). Cầu trục một dầm thường dùng palăng điện chạy dọc theo dầm chữ I nhờ cơ cấu di chuyển palăng. Cầu trục hai dầm có các loại dầm hộp và dầm dàn không gian.
Theo cách tựa của dầm cầu lên đường ray di chuyển cầu trục có các loại cầu trục tựa (hình 2.15, 2.16, 2.19) và cầu trục treo (hình 2.17). Loài cầu trục tựa được sử dụng phổ biến hơn.
Theo cách bố trí cơ cấu di chuyển cầu trục có các loại cầu trục dẫn động chung và cầu trục dẫn động riêng (hình 2.20).
Ngoài ra theo nguồn dẫn động có các loại cầu trục dẫn động tay và cầu trục dẫn động máy. Theo vị trí điều khiển có các loại cầu trục điều khiển từ cabin gắn trên dầm cầu và cầu trục điều khiển từ dưới nền bằng hộp nút bấm. Điều khiển từ dưới lên bằng hộp nút bấm thường dùng cho loại cầu trục một dầm có tải trọng nâng nhỏ.
b. Cấu tạo chung của cầu trục
Cầu trục dẫn động bằng tay được dùng chủ yếu trong sửa chữa, lắp ráp nhỏ và các công việc nâng – chuyển hàng không yêu cầu tốc độ cao. Cơ cấu nâng của loại cầu trục này thường là palăng xích kéo tay. Cơ cấu di chuyển pa lăng xích và cầu trục cũng được dẫn động bằng cách kéo xích từ dưới nền. Tuy là thiết bị nâng thô sơ song do giá thành rẻ và dễ sử dụng mà cầu trục dẫn động bằng tay vẫn được sử dụng có hiệu quả trong các phân xưởng nhỏ.
Trên hình 2.15, a là hình chung của cầu trục dẫn động bằng tay loại một dầm. Cầu trục gồm dầm cầu 1, cơ cấu di chuyển cầu trục 2 và pa lăng xích 3 có cơ cấu di chuyển palăng. Cả ba chuyển động nâng, di chuyển pa lăng và cầu trục thường được lắp bằng ổ bi trên trục cố định và bánh xe chủ động ở mỗi bên ray được dẫn động từ trục truyền chung qua bộ truyền bánh răng hở. Đĩa xích dẫn động cơ cấu di chuyển cầu






