BỘ LAO ĐỘNG THƯƠNG BINH VÀ XÃ HỘI TRƯỜNG CAO ĐẲNG KỸ NGHỆ II
GIÁO TRÌNH: BẢO DƯỠNG SỬA CHỮA ĐỘNG CƠ DIESEL
NGHỀ: CÔNG NGHỆ Ô TÔ
(Dùng cho trình độ Cao đẳng)
TPHCM, năm 2019
LỜI GIỚI THIỆU
Có thể bạn quan tâm!
-
Bảo dưỡng sửa chữa động cơ diesel - Nghề Công nghệ ô tô Dùng cho trình độ Cao đẳng Phần 1 - 2 -
Cấu Tạo Và Nguyên Lý Hoạt Động Bơm Cao Áp Pf. -
Bơm Cao Áp Pf Loại Pmy Và Bộ Điều Tốc (Piston Không Có Vạt Xéo)
Xem toàn bộ 88 trang tài liệu này.
Giáo trình Bảo Dưỡng Sửa Chữa Động Cơ Diesel được biên soạn nhằm cung cấp tài liệu học tập cho học sinh, sinh viên nghành sửa chữa ô tô. Ngày nay, các hãng sản xuất động cơ Diesel đã sử dụng điện tử để điều khiển động cơ Diesel. Tuy nhiên, nguồn tài liệu về hệ thống phun dầu điện tử trên thị trường rất hiếm. Nhằm để đáp ứng giảng dạy mô đun BDSC Động Cơ Diesel. Nhóm giáo viên Khoa Cơ khí động lực đã cố gắng thu thập tài liệu từ các hãng xe, trên các trang web và các nguồn tài lệu khác, đồng thời với các trang thiết bị của nhà trường hiện có để biên soạn giáo trình này.
Giáo trình nhằm giúp cho sinh viên cao đẳng nghành sửa chữa ô tô có được tài liệu học tập nghiên cứu, cũng như việc bảo dưỡng sửa chữa động cơ Diesel
Vì môn học này mới đưa vào giảng dạy 3 năm nay nên vẫn còn nhiều hạn chế và nhóm tác giả cố gắng hoàn thiện giáo trình trong thời gian gần dây.
Tp. Hồ Chí Minh, ngày …. tháng …. năm 2019
Tham gia biên soạn
Chủ biên: Nguyễn Văn Ngọc
Lê Thanh Nhàn
Huỳnh Diệp Ngọc Long
MỤC LỤC
Mục Trang
Bài 1: Kim phun (Béc dầu) 3
Bài 2: Bơm cao áp trong hệ thống nhiên liệu cá nhân PF 19
Bài 3: Bơm cao áp PE 36
Bài 4: Bơm cao áp VE 75
Bài 5: Hệ thống nhiên liệu EDC 111
Bài 6: Hệ thống nhiên liệu Common Rail 134
Bài 7: Hệ thống điều khiển Turbocharger, EGR 150
Ti liệu kham khảo 155
BÀI 1 : KIM PHUN ( BÉC DẦU)
I. CẤU TẠO, NGUYÊN LÝ HOẠT ĐỘNG CỦA CÁC LOẠI VÒI PHUN DẦU.
1. Công dụng:
Kim phun nhiên liệu lắp vào quy lát động cơ có các nhiệm vụ sau:
- Phun nhiên liệu vào buồng đốt của động cơ dưới dạng sương mù.
- Ngăn ngừa nhiên liệu trực tiếp va vào thành xi lanh và vào đỉnh piston.
- Phối hợp với các dạng đặc biệt của buồng đốt để hơi nhiên liệu hòa trộn với không khí có áp suất và nhiệt độ cao tạo thành hỗn hợp tự bốc cháy, có khả năng cung cấp cho động cơ một công suất lớn và suất tiêu hao nhiên liệu ít nhất.
2. Phân loại.
Căn cứ vào sự khác nhau của đót kim (đầu kim) và lỗ tia ta chia kim phun đầu ra làm 2 loại: Loại kim phun đót kín và loại kim đót hở.
A. Loại kim đót kín.
Kim phun này dùng trong hệ thống nhiên liệu cá nhân và phân phối áp lực cao.
a. Cấu tạo:

Một thân kim trong đó có dự trù lỗ bắt dầu đến, dầu về ( đôi lúc có ốc xả gió) đường dẫn dầu đến đầu đót kim. Trong thân có chứa cây đẩy, lò xo, phía trên lò xo có đai ốc hoặc vít. Đai ốc chận dùng để chỉnh sức nén của lò xo. Trên cùng là chụp đậy đai ốc hiệu chỉnh (Tuỳ theo loại kim mà ống dầu về bố trí ở thân kim hay trên chụp đây).
1. Thân kim
2. Khâu nối với ống cao áp
3. Đậm kín
4. Lỗ dầu đến
5. Vít ráp ống dầu về
6. Cây đẩy
7. Lò xo
8. Ốc chỉnh lò xo
9. Chụp
10. Đót kim
11. Khâu nối
12. Van kim khe hở giữa và thân
13. Mặt côn nhỏ của van kim
14. Lỗ tia
15. Chụp đậy
Hình 2.1: Cấu tạo kim phun
Đầu kim (đót kim) được nối liền với thân kim bởi một khâu nối. Trong đốt kim có đường dẫn dầu cao áp đến. Phòng cao áp là nơi chứa dầu cao áp. Dưới cùng là lỗ phun nhiên liệu (lỗ tia) luôn được đóng lại nhờ lò xo nén qua (cây đẩy) đến van kim.
Cây kim có dạng trụ, một đầu tựa vào cây đẩy nơi thân kim, đầu còn lại có hai mặt côn. Mặt côn lớn là nơi áp lực nhiên liệu có áp suất cao tác dụng vào để đẩy kim lên. Mặt côn nhỏ dưới cùng để đậy kín lỗ tia. Căn cứ vào số lỗ tia và van kim, loại này chia làm 2 loại:
Kim phun có một lỗ tia (còn gọi là kim phun kín có chuôi hay đót kín lỗ tia kín). Với loại này kim phun chỉ có một lỗ tia. Bình thường không làm việc thì van kim đóng kín lỗ tia ló ra ngoài một cái chuôi hình côn khỏi mặt lỗ tia từ 0,4 - 0,5 mm. Nhờ có chuôi nên đảm bảo phun nhiên liệu tốt, ít bị nghẹt lỗ do bị muội than. Tia nhiên liệu khi phun ra khỏi lỗ tia có hình côn rỗng, góc tia nhiên liệu từ 3 - 6 độ. Loại này thường được sử dụng trên các loại động cơ có buồng đốt ngăn cách như YAMAHA, KUBOTA, ISUDU, MARCH, TOYOTA, có áp lực phun từ 100 -
120 kg/cm2.

Hình 2.2: Hình đót kim loại chuôi ngắn
A: Lúc đóng B: Lúc mở hoàn toàn
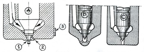
Kim phun có nhiều lỗ tia(còn gọi là kim phun kín không có chuôi hay đót lỗ tia hở).
Loại này ở đầu đót kim có phần nhô ra dạng chổm lồi. Trên chổm có khoan nghiêng các lỗ tia. Số lượng, đường kính lỗ tia còn phụ thuộc vào loại động cơ, dạng buồng đốt. Thường có từ 2 – 10 lỗ tia, đường kính từ 0,1 – 0,35 mm. Góc phun của chùm tia thường từ 120 – 150 độ.

Hình 2.3: Các loại đầu kim
A: Loại có chuôi có lỗ tia phụ
B: Loại đót kín lỗ tia hở nhiều lỗ tia C: Loại đót kín lỗ tia hở 1 lỗ tia
Có loại đót kim dài hơn loại thường nhằm làm giảm ảnh hưởng của nhiệt độ gây kẹt kim trong đót.
Loại kim này sử dụng trên các loại động cơ có buồng đốt thống nhất hay phối hợp ở nhiều loại ô tô như REO I, REO II, REO III, IFA, CAROSA, KAMAZ… có áp lực phun từ 120 – 200 kg/cm2 .
Ở cả hai loại kim trên, đôi khi nhà chế tạo còn thiết kế có lỗ tai phụ để chạy ở tốc độ cầm chừng hay khởi động.
b. Nguyên lý làm việc:
Khi động cơ làm việc, nhiên liệu từ bơm cao áp theo đường ống dẫn dầu cao áp vào kim phun, xuống phía dưới đót kim nằm tại bọng chứa dầu cao áp. Bình thường lò xo luôn đè van kim đóng cá lỗ tia. Đến thì cung cấp nhiên liệu, nhờ bơm cao áp làm cho áp suất nhiên liệu tăng tác dụng vào mặt côn lớn của van kim. Áp suất này tăng dần đến khi lớn hơn lực nén của lò xo, van kim bị áp suất dầu nhấc lên làm mở các lỗ tia để phun nhiên liệu vào xi lanh động cơ dưới dạng sương mù.

Hình 2.4: Hình đót kim loại chuôi dài
A: Lúc đóng B: Lúc vừa mở C: Lúc mở hoàn toàn
Đến thì dứt phun, áp suất nhiên liệu nhỏ hơn sức nén của lò xo. Lò xo đẩy van kim đóng lại (mặt côn nhỏ tiếp xúc với đót kim). Nhiên liệu không được phun ra. Quá trình phun nhiên liệu chấm dứt. Độ nhấc lên của tia kim thường từ 0,3 – 1,1 mm và được khống chế giữa đót kim và thân kim.
Một phần nhỏ nhiên liệu sẽ rò rỉ qua khe hở giữa van kim và đót kim lên trên theo đường ống dẫn dầu về để trở về thùng chứa. Lượng dầu này rất quan trọng vì nó can thiết cho việc làm mát và làm sạch kim phun.
Áp suất khi phun nhiên liệu có thể điều chỉnh được nhờ vào vít điều chỉnh trên lò xo hoặc thay đổi miếng chêm khi không có vít điều chỉnh. Nếu tăng áp suất nén lòxo thì áp suất nhiên liệu khi phun tăng và ngược lại. Áp suất lò xo tăng thì tia nhiên liệu càng dài và càng sương. Nhưng áp suất phun không được tăng một cách tuỳ tiện vì nó còn phun tuỳ vào tình trạng bơm cao áp và dạng buồng cháy.
B. Loại đót hở
Loại này không có cây kim đóng kín đầu đót kim. Nghĩa là đường dẫn nhiên liệu trong kim phun luôn thông với buồng đốt và nhiên liệu phun được phun ra khi có sự chênh lệch áp suất giữa buồng đốt động cơ và áp suất nhiên liệu. Do vậy, tại thời điểm không phải phun thì nhiên liệu không được phun ra bởi áp suất buồng đốt cao hơn áp suất nhiên liệu. Loại này có nhược điểm là dễ phun rớt và nhỏ giọt, phun không sương khi số vòng quay thấp. Do vậy loại này ít được sử dụng (trừ loại GM Cummin SPT sẽ được trình bày ở chương sau).
3. ĐẶC ĐIỂM KIM PHUN
a. Đặc điểm ghi nơi thân kim.
Ví dụ: AKB 50SD54
A - bơm kim của Mỹ AMERICAN BOSCH KB – thể thức bắt kim vào động cơ.
B – bắt vào bằng vách chặn. C – bắt bằng vít.
K – không có cây đẩy.
50 – chiều cao tính từ mặt tiếp xuc (50 mm) S – cỡ thân kim.
D – loại thân kim dự trù có thể dùng cho loại có chuôi dài. 54 – đặc điểm thay thế các bộ phận tuỳ loại động cơ.
a. Đặc điểm ghi nơi đầu kim.

Hình 2.5: Đặc điểm đầu kim.
Ví dụ 1: ADL 120 T52
A Loại của Mỹ hãng AMERICAN BOSH. DL Loại đót kim kín lỗ tia hở.
120 Góc chùm tia nhiên liệu.
52 Đặc điểm thay thế tuỳ loại động cơ. T Cỡ đót kim.
Ví dụ 2: AND 4S12.
DN Loại đót kim lỗ tia kín.
4 Góc tia nhiên liệu.
S Đót kim dùng cho loại chuôi dài. 12 Đặc điểm thay thế các bộ phận.



