Kiểm nghiệm theo độ bền tiếp xúc của đĩa xích.
Ta chọn vật liệu làm đĩa xích nhỏ và lớn là cùng vật liệu.Trong quá trình làm việc bánh nhỏ dễ bị phá hỏng vì mòn hơn nên ta dựa vào ứng suất cho Phép của đĩa nhỏ để chọn vật liệu.Để thoả mãn điều kiện bền thì
kr .(.Ft kd FV)d E A.kd
H 0, 47.
H .
Ft lực vòng Ft = 6982,14(N). Fvđ lực va đập trên m dãy xích. Fvđ=13.10-7.n1.t3.m.
xích 1 dãy nên m = 1.
→Fvđ =13.10-7.26,27.50,8.1=4,47(N).
Kd hệ số tải trọng không đều giữa các dãy xích.Vì xích 1 dãy nên k d=1. Kđ hệ số tải trọng động kđ=1,2.
kr hệ số ảnh hưởng của số răng đĩa xích.z1=25 nên kr=0,45.
E=2.E1.E2/(E1+E2)= 2,1.105 (MPa).
A diện tích chiếu của bản lề tra bảng 5.12/85 ta được A=645(mm2). Thay lại công thức ban đầu ta được
0, 45.(6982,14.1, 2 4, 47).2,1.105
645.1
H 0, 47.
520,88()M. Pa
H
Vậy dựa vào bảng 5.11/84 ta chọn vật liệu làm đĩa xích là thép C45 tôi cải thiện đạt độ cứng HB = 210 sẽ đạt được ứng suất [σH] = 600(MPa). đảm bảo được độ bền tiếp xúc cho răng đĩa xích 1.Thoả mãn σH[σH].
Kiểm nghiệm cho đĩa xích 2.
Ta có z2 = 61(răng) →kr2 = 0,22 kr1→ σH2 σH1 [σH] =600(MPa). Vậy bánh 2 cũng thoả mãn điều kiện về bền.
Xác định lực tác dụng lên trục
Lực tác dụng lên trục Fr được tính theo công thức sau.
Fr = Ft.kx
Ft là lực vòng Ft = 6982,14(N).
kx hệ số kể đến trọng lượng xích.Vì bộ truyền nằ m ngang nên kx = 1,15
→Fr = 6982,14.1,15 = 8030(N).
Cây hỏi ôn tập chương 7
Câu 7.1
Nêu cấu tạo chính, ưu nhược điểm và phạm vi sử dụng của truyền động xích.
Có vẽ hình minh hoạ.
Câu 7.2
Nêu các loại xích truyền động. Trình bày cấu tạo xích con lăn, có vẽ hình minh hoạ.
Câu 7.3
Trình bày các loại kết cấu đĩa xích. Có vẽ hình minh hoạ.
Câu 7.4
Nêu các thông số hình học chính của bộ truyền xích.
Câu 7.5
Trình bày vận tốc và tỷ số truyền của bộ truyền xích. Có vẽ hình minh hoạ.
Câu 7.6
Nêu các dạng hỏng và chỉ tiêu tính toán bộ truyền xích con lăn.
Câu 7.7
Trình bày cách tính vận tốc và tỷ số truyền trong bộ truyền xích.
Câu 7.8
Trình bày cách tính bộ truyền xích ống con lăn.
Câu 7.9
Trình bày các loại kết cấu đĩa xích. Có vẽ hình minh hoạ.
Câu 7.10
Nêu trình tự thiết kế bộ truyền xích.
Câu 7.11
Trình bày lực tác dụng trong bộ truyền xích.
CHƯƠNG 8
BỘ TRUYỀN VÍT - ĐAI ỐC
8.1. Khái niệm chung
8.1.1. Giới thiệu bộ truyền vít - đai ốc
Bộ truyền vít - đai ốc dùng để đổi chuyển động quay thành ch uyển động tịnh
tiến, nhờ tiếp xúc giữa ren của đai ốc với ren trên trục vít (Hình 8-1).

Hình 8-1 Bộ truyền vít - đai ốc
Bộ truyền vít - đai ốc có 2 bộ phận chính:
+ Vít số 1 quay với số vòng quay n 1, công suất truyền động P 1, mô men xoắn trên trục T1. Vít có ren ngoài tương tự như bu lông. Trong trường hợp này vít là khâu dẫn.
+ Đai ốc số 2, chuyển động tịnh tiến với vận tốc v2, công suất trên đai ốc là P 2. Đai ốc có ren trong giống như đai ốc trong mối ghép ren. Trường hợp này đai ốc là khâu bị dẫn.

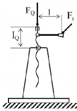
Hình 8-2 Kích vít
Trong những bộ truyền khác, có thể đai ốc là khâu dẫn, đai ốc quay với số vòng quay n1; còn vít là khâu bị dẫn, chuyển động tịnh tiến với vận tốc v2.
Nguyên lý làm việc của bộ truyền vít - đai ốc: ren của vít và ren của đai ốc ăn
khớp với nhau. Nhưng trong quá trình truyền động có trượt rất lớn trên mặt ren, hiệu
suất truyền động không cao.
Trong thực tế thường dùng các loại truyền động sau:
+ Vít quay, đai ốc tịnh tiến (Hình 8-1). Ví dụ như chuyển động của bàn xe dao trong máy tiện.

Hình 8-3 Cơ cấu kẹp chặt
+ Vít vừa quay vừa tịnh tiến, còn đai ốc đứng yêu (Hình 8-2). Ví dụ như chuyển động của vít trong kích vít.
+ Đai ốc vừa quay vừa tịnh tiến, còn vít đứng yên (Hình 8-3). Ví dụ như chuyển động của đai ốc trong cơ cấu kẹp chặt của đồ gá.
8.1.2. Phân loại bộ truyền vít - đai ốc
Tùy theo hình dạng mặt cắt ngang của tiết diện ren, bộ truyền vít đai ốc được
chia thành các loại:
- Vít có ren hình thang (Hình 8-4). Loại này được dùng phổ biến để truyền
chuyển động theo hai chiều. Ren được gia công dễ dàng trên máy tiện ren.
- Vít có ren chữ nhật (Hình 8-5). Bộ truyền loại này dùng để thực hiện chuyển động dọc trục chính xác cao. Hiệu suất truyền động cao. Tiết diện chân ren nhỏ, nên khả năng tải không cao. Giá thành tương đối đắt.
- Vít có ren răng cưa (Hình 8-6), có hiệu suất truyền động cao, khả năng tải

trung bình. Thường dùng truyền tải trọng theo một chiều nhất định.


Hình 8-4 Trục vít ren
hình thang
Hình 8-5 Ren chữ nhật Hình 8-6 Ren răng cưa
- Vít có ren tam giác, giống như bu lông. Dùng để thực hiện chuyển động chậm,
chính xác. Loại này có hiệu suất truyền động thấp.
- Bộ truyền vít đai ốc bi (Hình 8-7). Lọai này có ma sát nhỏ, hiệu suất truyền
động cao. Được dùng nhiều trong các máy tự độ ng, để thực hiện các dịch chuyển chính xác. Vít bi chế tạo phức tạp, cần phải có đường dẫn hồi bi. Giá thành của bộ truyền vít đai ốc bi rất đắt. Để tăng độ chính xác khi thực hiện dịch chuyển dọc trục, người ta dùng đai ốc bi hai nửa (Hình 8-8). Loại này có thể điều chỉnh, khử khe hở giữa bi và rãnh chứa bi. Sau một thời gian sử dụng, bi và rãnh bị mòn, người ta điều chỉnh lại khe hở, độ chính xác của bộ truyền được khôi phục. Bộ truyền loại này có giá thành cao hơn loại đai ốc liền khối. Tùy theo chiều củ a đường xoắn vít, bộ truyền được chia ra:
- Trục vít có ren phải: nhìn vào đường ren, theo hướng đi lên, ta thấy ren đi về
phía tay phải.
- Trục vít có ren trái: theo hướng đi lên, ren đi về phía tay trái.


Hình 8-7 Bộ truyền vít đai ốc bi Hình 8-8 Đai ốc bi có hai nửa
Ngoài ra ren còn được phân thành loại có một đầu mối, loại có hai hay nhiều đầu mối. Loại ren bước lớn, ren bước nhỏ.
8.1.3. Thông số hình học chủ yếu của bộ truyền vít - đai ốc
- Đường kính ngoài của trục vít d, mm. Là đường kín h của vòng tròn đi qua đỉnh ren. Còn gọi là đường kính danh nghĩa. Đường kính danh nghĩa của đai ốc ký hiệu là D, là đường kính vòng tròn đi qua chân ren của đai ốc.
- Đường kính trong của trục vít d1, mm. Là đường kính của vòng tròn đi qua chân ren. Còn gọi là đường kính chân ren. Đường kính trong của đai ốc ký hiệu là D 1, là đường kính vòng tròn đi qua đỉnh ren của đai ốc.
- Đường kính trung bình của vít d 2, của đai ốc là D2, mm. Đường kính trung
bình được tính theo công thức: d2 =
d d1
2
; D2 =
D D1
2
- Số mối ren của trục vít, ký hiệu là z; là số đầu mối của các đường xoắn vít.
- Bước ren pr, mm. Giá trị của pr được tiêu chuẩn hóa lấy theo đường kính d.
Ứng với mỗi giá trị của d có quy định ren bước nhỏ, bước bình thường và bước lớn.
Ví dụ: với d = 40 có bước ren pr = 3 ; 6 ; 10. d = 60 có bước ren pr = 3 ; 8 ; 12.
- Bước xoắn vít λ, mm. Bước xoắn vít được tính theo công thức λ = z.pr.
- Góc nâng của đường xoắn vít γ, độ. Có quan hệ: tgγ = λ/(π.d2).
- Hình dạng và kích thước của tiết diện ren. Được lấy theo tiêu chuẩn, phụ
thuộc vào giá trị của đường kính d.
- Góc profil của tiết diện ren thang γ, độ.
- Chiều rộng của đai ốc B, cũng có thể gọi là chiều cao đai ốc, ký hiệu là H.
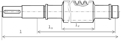
- Chiều dài phần gia công re n trên trục vít lr, mm. Khoảng cách giữa hai gối đỡ
trục vít lo, mm. Chiều dài toàn bộ trục vít l, mm (Hình 8-9).

Hình 8-9 Kết cấu thường dùng của trục vít
8.1.4. Thông số làm việc chủ yếu của bộ truyền vít - đai ốc
- Số vòng quay trên trục vít dẫn hoặc đai ốc dẫn, ký hiệu là n1, v/ph.
- Vận tốc tịnh tiến của trục vít hoặc đai ốc bị dẫn, ký hiệu là v2, m/s.
- Tỷ số truyền, ký hiệu là u, được tính theo quy ước: bằng tỷ số của độ dài dịch chuyển của điểm đặt lực phát động trên tay quay (hoặc v ô lăng, bánh răng) và độ dài dịch chuyển của đai ốc (hoặc vít). Thông thường bộ truyền vít đai ốc có tỷ số truyền rất lớn.
Ví dụ như kích vít trên Hình 8-2, khi tay quay một vòng điểm đặt lực di chuyển được một đoạn St = 2.l. π ; lúc đó vít di chuyển được một đoạn bằng bước xoắn vít SQ = λ. Tỷ số truyền u = 2. π.l/ λ .
- Hiệu suất truyền động η, η = A1 . Với A2 là công có ích khi sử dụng bộ truyền,
A2
A1 là công của lực phát động đặt trên tay quay, hoặc vô lăng. Nếu bỏ qua ma sát trên gối đỡ, hiệu suất η được tính theo công thức:
η = tg
tg(' )
Trong đó : φ' là góc ma sát tương đương (trường hợp dùng ren hình chữ nhật, thì thay φ' bằng góc ma sát ). Đa số các bộ truyền vít đai ốc sử dụng trong thực tế có tính tự hãm, tức là γ < φ', trong trường hợp này hiệu suất của bộ tryền vít đai ốc thường nhỏ hơn 0,5.
- Thời gian phục vụ của bộ truyền, hay tuổi bền của bộ truyền tb; h.
- Yêu cầu về môi trường làm việc của bộ truyền.
- Chế độ làm việc.
8.2. Tính bộ truyền vít - đai ốc
8.2.1. Các dạng hỏng của bộ truyền vít - đai ốc và chỉ tiêu tính toán
Trong khi làm việc, bộ truyền vít đai ốc có thể xảy ra các dạng hỏng:
- Mòn ren của vít và đai ốc. Do vận tốc trượt lớn, áp suất trên mặt ren lớn, nên tốc độ mòn tương đối cao. Mòn làm tăng khe hở, giảm kích thước tiết diện ren, bộ truyền làm việc không tốt nữa.
- Cắt đứt ren, hoặc dập bề mặt ren. Do tải trọng quá lớn, áp suất trên mặt ren lớn.
- Trục vít bị uốn cong, do mất ổn định. Các trục vít mảnh, chịu lực dọc trục lớn thường có dạng hỏng này.
- Trục vít bị gẫy. Nếu tải trọng quá lớn, hoặc sử dụng quá thời gian cho phép,
trục vít không đủ bền, nó sẽ bị gẫy, hỏng.
Để hạn chế các dạng hỏng nêu trên, người ta tính toán bộ truyền vít đai ốc theo
các chỉ tiêu sau:
(8-1) | |
Fa ≤ [Fa] | (8-2) |
σtđ ≤ [σ] | (8-3) |
Có thể bạn quan tâm!
-
Các Dạng Hỏng Và Chỉ Tiêu Tính Toán Bộ Truyền Trục Vít -
Các Loại Xích Truyền Động Và Đ Ĩa Xích -
Các Dạng Hỏng Và Chỉ Tiêu Tính Toán Bộ Truyền Xích -
Sơ Đ Ồ Trục Truyền, Trục Tâm,v À Trục Truyền Chung -
Vẽ Biểu Đồ Mô Men Tính Gần Đúng Kết Cấu Trục -
Kích Thư Ớc Chủ Yếu Của Ổ Trượt
Xem toàn bộ 207 trang tài liệu này.
Trong đó:
p là áp suất trên bề mặt tiếp xúc của ren,
[p] là áp suất cho phép,
Fa là lực dọc trục tác dụng lên vít, [Fa] là lực dọc trục cho phép,
σtđ là ứng suất sinh ra trên tiết diện chân ren, có đường kính d 1 của vít,
[σ] là ứng suất cho phép.
8.2.2. Tính bộ truyền vít - đai ốc theo độ bền mòn
Áp suất trên bề mặt tiếp xúc của ren được tính theo công thức:
p K.Fa
K.Fa
(8-4)
Trong đó:
.d 2 .h.x
2
.d 2 ..
h H
K là hệ số tải trọng, có thể lấy K = 1÷1,25 .
h là chiều cao của tiết diện ren. h = ψh.pr .
Hệ số chiều cao ren ψh có thể chọn như sau: ψh = 0,5 đối với ren hình thang, ψh = 0,75 đối với ren chữ nhật và ren răng cưa, ψh = 0,54 đối với ren tam giác.
x là số vòng ren trên đai ốc, số vòng ren tiếp xúc. x =
H d2
H
pr pr
ψH là hệ số chiều cao đai ốc, ψH = H . Có thể chọn giá trị của ψH trong
d2
khoảng 1,2÷1,5 .
Áp suất cho phép [p] có thể chọn như sau:
+ Với bộ truyền bằng vật liệu thép tôi - đồng thanh, lấy [p] = 11÷13 MPa,
+ Với bộ truyền bằng vật liệu thép không tôi - đồng thanh, lấy [p] = 8÷10 MPa,
+ Với bộ truyền bằng vật liệu thép tôi - gang, lấy [p] = 4÷6 MPa.
Bài toán kiểm tra bền bộ truyền vít đai ốc được thực hiện như sau:
- Tính áp suất p sinh ra trên mặt ren, theo công thức ( 8-4).
- Xác định áp suất cho phép [p].
- So sánh giá trị của p và [p], rút ra kết luận. Nêu p ≤ [p], bộ truyền đủ bền mòn. Bài toán thiết kế bộ truyền theo độ bền mòn được thực hiện như sau:
- Xác định áp suất cho phép [p].
K.Fa
.h.H.p
- Giả sử điều kiện (10-1) thoả mãn, sử dụng công thức (10-4), ta tính được
d 2 (8-5)
Có d2 ta tính toán được các kích thước khác của bộ truyền.
8.2.3. Tính bộ truyền vít - đai ốc theo điều kiện ổn định
Lực dọc trục Fa được biết trước, hoặc tính toán từ tải trọng tác dụng lên bộ truyền.
Lực dọc trục cho phép [Fa] được xác định như sau:
Trong đó:
Fa
2 .E.J
t
S..l 2
(8-6)
E là mô đun đàn hồi của vật liệu chế tạo trục vít, MPa.
.d 4
J là mô men quán tính của tiết diện chân ren,
S là hệ số an toàn, có thể lấy S = 2,5÷4 .
J 1
64
µ là hệ số liên kết của trục vít. Nếu hai đầu có ổ đỡ (Hình 8-1), lấy µ = 1,
nếu một đầu ngàm (Hình 8-2), lấy µ = 2.
lt là chiều dài tính toán ổn định. Ví dụ, lấy l t = lo (Hình 8-1), lt = lQ (Hình 8-2).
Kiểm tra điều kiện ổn định của bộ truyền: So sánh giá trị của Fa và [Fa], nếu Fa ≤ [Fa], bộ truyền đủ điều kiện ổn định.
8.2.4. Tính bộ truyền vít đai ốc theo độ bền
- Ứng suất tương đương sinh ra trên tiết diện nguy hiểm của trục vít được tính
theo Thuyết bền thứ tư:






