CHƯƠNG 1. KHÁI QUÁT CHUNG VỀ HỆ THỐNG DVB-H
1.1. Tổng quan hệ thống
1.1.1. Giới thiệu sơ lược về DVB-T
Tiêu chuẩn DVB (Digital Video Broadcasting) được nước Anh tiên phong triển khai từ năm 1998, tiếp đó là các nước châu Âu, Nam Phi, Úc, Singapore. đến nay, hầu như toàn bộ châu Âu, châu đại dương, châu Phi và nhiều nước châu Á đã tuyên bố sử dụng tiêu chuẩn này. Trong đó, nhiều nước đã triển khai truyền hình số trên diện rộng. Đặc biệt, tại Berlin (Đức) đã tuyên bố chấm dứt phát sóng truyền hình mặt đất bằng kỹ thuật Analog từ năm 2003 (theo dự định, các nước trên thế giới sẽ chấm dứt công nghệ này trong khoảng thời gian từ năm 2006-2010 để chuyển sang công nghệ kỹ thuật số).

Có thể bạn quan tâm!
-
Truyền hình di động sử dụng công nghệ DVB-H - 1 -
Thành Phần Mới Trong Bộ Điều Chế Dvb-T: Chế Độ Phát 4K -
Khoảng Cách Tương Quan Sfn. Tất Cả Các Khoảng Cách Đều Dựa Trên Điều Chế 16-Qam Với Khoảng Bảo Vệ Là ¼ Trong Cofdm -
Truyền hình di động sử dụng công nghệ DVB-H - 5 -
Truyền hình di động sử dụng công nghệ DVB-H - 6
Xem toàn bộ 50 trang tài liệu này.
Hinh 1.1. Truyền dẫn tín hiệu cho hệ thống truyền hình số DVB-T và DVB-H
DVB-T (Digital Video Broadcasting - Terrestrial) là một chuẩn quốc tế DVB về phát sóng số mặt đất dùng trong truyền hình kĩ thuật số. Tín hiệu truyền hình được truyền và thu bằng anten qua bầu khí quyển, khác với các cách phát sóng khác như phát sóng số cáp DVB-C (DVB-Cable) hay phát sóng số vệ tinh DVB-S (DVB- Satellite).
Tín hiệu truyền hình số DVB-T được truyền cùng tần số như truyền hình tương tự (analog TV) qua kênh VHF và UHF. Với việc dùng kĩ thuật ghép kênh COFDM (Coded Orthogonal Frequency Division Multiplex) và các phương thức điều chế 4- QAM (QPSK), 16-QAM và 64-QAM cho phép DVB-T truyền nhiều đài trên cùng một kênh (độ truyền dữ liệu trên 1 kênh từ 12-20 Mbps), chất lượng âm thanh và hình ảnh
tốt hơn (chuẩn MPEG-2), ít bị nhiễu hơn truyền hình tương tự.
Hiện nay, trên một kênh tần số 8MHz, chỉ phát được một chương trình truyền hình nếu dùng công nghệ analog, nhưng dùng công nghệ số thì có thể phát đến 8 chương trình truyền hình mà không bị ảnh hưởng của nhiễu công nghiệp.
Đồng thời, tiết kiệm chi phí đầu tư ban đầu và chi phí vận hành khai thác hệ thống: chỉ cần đầu tư một máy phát thay vì tám máy phát cùng hệ thống anten cồng kềnh để phát tám chương trình. Khả năng này tạo điều kiện cho các đài truyền hình tăng số lượng cũng như thời lượng các chương trình phát sóng, nâng cao hiệu quả tuyên truyền của làn sóng truyền hình.
Ngoài ra, để xem được truyền hình số mặt đất cần có đầu thu tín hiệu số (còn gọi là bộ thu hay bộ giải mã truyền hình số, set-top box) theo chuẩn DVB-T và máy thu hình kết nối với nhau cùng với anten thu chuyên dụng. Do đặc điểm của truyền hình số mặt đất phát bằng sóng vô tuyến cao tần đòi hỏi giữa anten phát và thu phải nhìn thấy nhau nên phải đặt anten hướng về đài phát và trên hướng đó phải không bị vật cản. Vì thế, người ở nhà cao tầng sẽ được lợi hơn khi bắt tín hiệu truyền hình số. Nhược điểm của truyền hình số mặt đất (DVB-T) là phụ thuộc nhiều vào địa hình do tháp anten thấp, vùng phát sóng bị nhà cao tầng che khuất.
1.1.2. Hệ thống DVB-H
Cùng với sự phát triển của công nghệ thông tin là sự phát triển của công nghệ viễn thông nói chung và công nghệ truyền hình nói riêng. Các ứng dụng thu truyền hình di động đã và đang trở thành một xu hướng rò rệt cho quá trình phát triển của công nghệ truyền hình hiện đại, đặc biệt là khả năng cá nhân hóa những nội dung mà người sử dụng muốn thưởng thức và khả năng tương tác trực tiếp giữa khán giả và chương trình cũng như giữa khán giả và những người làm chương trình. Hiện nay, do nhu cầu của thị trường, trên thế giới đã có nhiều tiêu chuẩn công nghệ truyền hình di động khác nhau được nghiên cứu, phát triển và ứng dụng. Nhưng tựu chung lại, có thể phân làm hai loại hình chính như sau:
-Thứ nhất: Truyền hình di động dựa trên sóng thông tin di động.
-Thứ hai: Truyền hình di động dựa trên sóng truyền hình.
Dịch vụ Truyền hình di động dựa trên sóng thông tin di động đã từng được một số quốc gia áp dụng như Nhật Bản, Hàn Quốc... Tuy nhiên, loại hình này vướng phải nhiều hạn chế lớn như chi phí rất cao, thêm vào đó là khả năng nghẽn mạng thường
xuyên xảy ra do luồng dữ liệu truyền hình phụ thuộc trực tiếp vào hạ tầng mạng viễn thông.
Ở Việt Nam, hiện tại chỉ có S-Fone cung cấp dịch vụ này nhưng giá khá đắt (để xem một bộ phim dài 60 phút có thể mất phí dịch vụ lên tới 100.000 VNĐ). Còn truyền hình di động dựa trên sóng truyền hình thì giá thành rẻ hơn rất nhiều và kèm theo đó là một loạt các tiện ích đặc thù. Với loại hình này, hiện nay trên thế giới đã phát triển và đưa vào ứng dụng một số tiêu chuẩn khác nhau như:
- DVB-H: Tiêu chuẩn của Châu Âu dựa trên chuẩn DVB-T.
- ISDB-T : Là tiêu chuẩn được đưa ra bởi Nhật.
- MediaFlo: Tiêu chuẩn phát hình di động của Mỹ do Qualcomm phát triển.
- DMB (Digital Multimedia Broadcasting): được Hàn Quốc phát triển dựa trên DAB (Digital Audio Broadcasting).

Hình 1.2. Truyền hình di động dựa trên sóng truyền hình
Trong số đó, tiêu chuẩn DVB-H đã thể hiện nhiều ưu điềm vượt trội và đã được thử nghiệm, triển khai tại một số quốc gia trên thế giới như Phần Lan, Mỹ, Italia, Australia, Ấn độ... Tại Việt Nam, công nghệ truyền hình di động theo tiêu chuẩn này đã được Công ty Truyền hình Di động VTC đưa vào triển khai dịch vụ cuối năm 2006.

Hình 1.3. DVB-H Mobile TV Transmission System
1.2. Khái niệm về truyền hình di động theo chuẩn DVB-H
DVB-H (Digital Video Broadcasting for Handheld) là tiêu chuẩn công nghệ truyền hình kĩ thuật số cho các thiết bị cầm tay được ra đời tại châu Âu vào năm 2002 dựa trên tiêu chuẩn quốc tế DVB. Công nghệ này cho phép truyền tải đồng thời nhiều chương trình truyền hình, phát thanh hay dữ liệu dạng IP khác nhau tới những thiết bị cầm tay di động như điện thoại di động, PDA…được công bố trong chuẩn EN 302 304 của ETSI vào tháng 11/2004, đây là các đặc điểm kĩ thuật lớp vật lí được thiết kế cho phép chuyển giao dữ liệu đóng gói dạng IP qua các mạng trên mặt đất 1 cách hiệu quả.
Tiêu chuẩn DVB-H được xây dựng dựa trên tiêu chuẩn truyền hình kĩ thuật số mặt đất DVB-T, hay thực chất là chuẩn DVB-T đã được thêm vào một số chức năng cần thiết để đảm bảo thu tín hiệu tốt trong môi trường di động.
Do công nghệ DVB-H được xây dựng dựa trên chuẩn truyền hình số mặt đất DVB-T nên đặc điểm kỹ thuật của DVB-H giống như của DVB-T. Trong khi DVB-T được sản xuất chủ yếu để tiếp sóng qua anten, mạng DVB-H lại được thiết kế cho các thiết bị cầm tay tiếp nhận sóng ngay cả khi ở trong nhà. So với chuẩn DVB-T, DVB-H chủ yếu nhắm vào thiết bị thu, nhằm giảm năng lượng tiêu thụ ở đầu thu, giải điều chế ở đầu thu cũng như gia tăng cường độ của tín hiệu truyền bằng cơ chế sửa lỗi trước (forward error correction) trong môi trường di động.
DVB-H là broadcast nên chỉ có 1 kênh truyền downlink từ Base Station đến thiết bị đầu cuối end-user, do đó một mình nó không thể cung cấp được các dịch vụ interactive như Video on demand, Movie Trailer, City Guide, Weather Forecast… để có thể sử dụng các dịch vụ trên, DVB-H cần phải kết hợp với mạng 2G/3G cellular để có 1 kênh truyền uplink. Người xem TV có thể đồng thời tham gia vào chương trình
TV đang phát thông qua cùng một thiết bị. Người xem có thể bình chọn, trả lời các câu hỏi trúng thưởng bằng cách click trực tiếp lên màn hình.
Ngoài ra, 3G đã có cơ sở hạ tầng và hệ thống quản lí khách hàng và tính tiền khá tốt. Nên DVB-H có thể liên kết với 3G để có thể tận dụng được hệ thống quản lí này. Khi đó vấn đề billing (tính cước) trong DVB-H sẽ được giải quyết.

Hình 1.4. Vị trí thực hiện chức năng của DVB-H
DVB-H cho phép cung cấp dịch vụ broadcast TV tốt hơn với dung lượng lớn và chất lượng cao hơn. 3G chỉ có thể cung cấp dịch vụ với tốc độ dữ liệu <64Kbps nên chỉ có thể cung cấp light video và audio clips. Ở 3G, việc truyền dữ liệu phụ thuộc vào tốc độ đường truyền của mạng di động, chính vì vậy nó không đủ mạnh để đáp ứng đòi hỏi đường truyền của dịch vụ này, do tín hiệu video yêu cầu băng thông kênh truyền tương đối lớn (khoảng vài trăm Kbps).
Nếu trong 1 vùng phủ sóng bởi cả 3G và DVB-H, nếu 1 hệ thống quá tải, việc liên kết giữa hai hệ thống có thể giúp cân bằng tài nguyên giữa hai hệ thống. Ngoài ra, nếu có nhiều user sử dụng dịch vụ broadcast, lúc đó nên dùng DVB- H để cung cấp dịch vụ. Nếu có ít user thì nên dùng 3G để cung cấp dịch vụ sẽ có lợi hơn. Vấn đề nằm ở chỗ dùng kĩ thuật nào tại thời điểm nào là có lợi nhất cho nhà cung cấp dịch vụ và nhà cung cấp mạng.
Tất cả những vấn đề kể trên là những vấn đề được nhiều người quan tâm nghiên cứu. Ngoài ra, các chuyên gia phân tích cho hay: kĩ thuật này còn gây ra sự phân tán rất nguy hiểm cho người dùng khi đang điều khiển phương tiện giao thông.
Những ưu việt của truyền hình di động theo chuẩn DVB-H
Trước những ý kiến tỏ ra nghi ngại về chất lượng dịch vụ, các chuyên gia khẳng định chuẩn DVB-H đã được nhiều nước thử nghiệm. Đặc điểm của DVB-H là chất lượng hình ảnh và âm thanh sẽ không bị ảnh hưởng bởi địa hình, hay khi di chuyển với tốc độ cao, ví dụ điển hình là có thể vừa phóng ô tô với tốc độ 60km/h vừa xem truyền hình qua điện thoại di động.
Tóm lại, dịch vụ truyền hình di động theo chuẩn DVB-H sẽ mang đến cho người dùng nhiều tiện ích lớn nhờ những tính năng ưu việt mà hệ thống hỗ trợ:
- Là 1 chuẩn mở với nhiều hỗ trợ và giải pháp từ hơn 60 nhà sản xuất.
- Tiêu thụ công suất thấp với một thông lượng dữ liệu cao, một dịch vụ DVB-H có thể chuyển giao 20-40 kênh hoặc nhiều hơn (phụ thuộc vào tốc độ bit), lên tới 11 Mbps trong một bộ ghép kênh DVB-H. Khả năng tiết kiệm năng lượng một cách tối đa cho thiết bị cầm tay, đây là một yêu cầu cấp thiết của dịch vụ truyền hình di động do thiết bị này sử dụng nguồn năng lượng chủ yếu là dựa vào pin sẵn có trong thiết bị.
- Việc xem truyền hình với chuẩn DVB-H không phụ thuộc vào tài nguyên mạng điện thoại di động. đây là chuẩn được nghiên cứu, phát triển dựa trên chuẩn DVB-T (truyền hình số mặt đất). Những nước đã có mạng DVB-T sẵn sẽ nâng cấp để cung cấp dịch vụ truyền hình di động theo chuẩn DVB-H rất dễ dàng. Nguyên lí hoạt động là tín hiệu truyền hình được phát đi quảng bá từ anten truyền hình với bán kính phủ sóng lên tới hàng chục km.
- Tất cả máy thu tích hợp bộ thu truyền hình nằm trong vùng phủ sóng đều có thể thu được tín hiệu, giải mã và hiển thị trên màn hình. Do vậy, sẽ không hạn chế số người xem đồng thời, miễn là họ nằm trong vùng phủ sóng.
- Truyền hình theo cách này cũng không cần phải có tần số riêng. Kênh thông tin trên công nghệ truyền hình 3G có tính chất hai chiều nhưng là kênh truyền dữ liệu được trạm thu phát gốc BTS cấp cho thuê bao. Như vậy mỗi thuê bao sẽ chiếm một phần tài nguyên thông tin của trạm BTS khi họ sử dụng dịch vụ, vì vậy sẽ hạn chế số người dùng cùng lúc. Khi lượng người dùng lớn, để có thể phục vụ tốt cho người sử dụng dịch vụ, bắt buộc nhà khai thác mạng phải nâng cấp hệ thống dẫn đến chi phí đầu tư sẽ tăng, cũng đồng nghĩa với chi phí dịch vụ cao. DVB-H thì không cần tăng chi phí đầu tư khi tăng số lượng người dùng nên chi phí dịch vụ sẽ rẻ hơn.
- Chất lượng dịch vụ ổn định, không bị trễ hình hoặc không xem được chương
trình khi mạng nghẽn.
- Khả năng di chuyển với tốc độ rất cao (có thể di chuyển với tốc độ lên tới trên 200 km/h). Do vậy, người dùng có thể sử dụng dịch vụ truyền hình di động (xem các chương trình truyền hình, thực hiện các chức năng tương tác trực tiếp…) trên thiết bị của mình ngay cả khi ngồi trên các phương tiện giao thông như ô tô, tàu hỏa, xe buýt… mà chất lượng không hề bị suy giảm.
- Sử dụng công nghệ nén tiên tiến: Truyền hình di động theo tiêu chuẩn DVB-H sử dụng công nghệ nén H.264/AVC, vừa giúp tiết kiệm băng thông mà vừa giữ được chất lượng hình ảnh, âm thanh tương đương với chuẩn truyền hình độ phân giải cao HDTV.
- Do người dùng thường sử dụng dịch vụ trong môi trường di động hoặc các khu đô thị (nói cách khác đây là môi trường mà tín hiệu truyền hình rất hay xảy ra lỗi do bị can nhiễu bởi các luồng tín hiệu nhiễu công nghiệp, ô tô, xe máy, các tòa nhà…) nên công nghệ DVB-H đã hỗ trợ khả năng chống lỗi và sửa lỗi ở nhiều cấp độ khác nhau giúp cho tín hiệu đến người dùng hầu như không xảy ra lỗi hoặc nếu có thì tỷ lệ lỗi là rất thấp.
- Thanh toán điện tử: Người dùng có thể thanh toán dịch vụ truyền hình di động thông qua tài khoản của mình tại ngân hàng. Khán giả cũng có thể dùng tài khoản cá nhân để mua các sản phẩm được rao bán hoặc đặt lệnh giao dịch chứng khoán trực tiếp… Trong các chương trình chuyên biệt của truyền hình di động.
Với những ưu điểm đó, chuẩn DVB-H hiện tại đang được nhiều tập đoàn truyền thông lớn trên thế giới: Nokia, Siemens, Motorola, Sony Ericsson... hậu thuẫn về thiết bị đầu cuối.
1.3. Cấu trúc và nguyên lí cơ bản của công nghệ truyền hình di động
Do công nghệ DVB-H được xây dựng dựa trên nền tảng của công nghệ DVB-T nên để phù hợp yêu cầu thu sóng truyền hình di động, hệ thống DVB- H có thêm một số thành phần chức năng khác so với DVB-T như: Cắt lát thời gian (time-slice), đóng gói đa giao thức và sửa lỗi hướng tới (MPE-FEC), điều chế COFDM sóng mang kiểu 4k và báo hiệu DVB-TPS. Sơ đồ sau đây sẽ miêu tả cấu trúc nguyên lí DVB-H dựa trên cơ sở của hệ thống DVB-T.

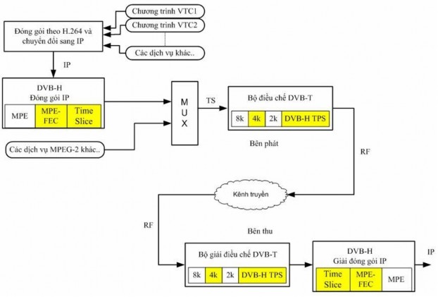
Hình 1.5. Cấu trúc nguyên lí của DVB-H
Mô hình này thể hiện sự lắp ghép xen giữa hệ thống DVB-T và DVB-H. đầu tiên, nội dung các chương trình TV hoặc các dịch vụ khác được đưa vào để đóng gói theo chuẩn nén tiên tiến mới H.264/AVC. Sau đó các gói tin này tiếp tục được đóng gói thêm các tính năng mới để có thể truyền trên môi trường mạng và cuối cùng là định dạng IP được đưa ra khỏi khối này. Các gói IP này sau đó sẽ được đưa vào bộ đóng gói IP của DVB-H, tại đây các gói IP tiếp tục được đóng gói lại theo sự đóng gói đa giao thức MPE và có thêm phần sửa lỗi FEC để có thể sửa lỗi cho dữ liệu xảy ra trên đường truyền. Khung MPE-FEC tiếp đó sẽ được đặt vào các khe thời gian khác nhau nhờ kĩ thuật cắt lát thời gian (time slicing).
Ngò ra bộ đóng gói IP sau khi ra khỏi phần time slice có thể đưa trực tiếp tới bộ điều chế COFDM của DVB-H với các sóng mang 4K hoặc 8K (hay chính là bộ điều chế DVB-T được thêm vào một số phần như DVB-H TPS và mode 4K) hoặc chúng có thể ghép xen với những dịch vụ MPEG-2 khác của DVB-T rồi mới đưa ra bộ điều chế. Tín hiệu sau đó được khuếch đại rồi đưa ra anten phát quảng bá. Tại máy thu, tín hiệu sẽ được giải ra theo cách ngược lại.
1.4. Các yếu tố kĩ thuật chính





