b. Chi phí dầu mỡ
Chi phí dầu mỡ được tính theo phần trăm mức chi phí nhiên liệu dùng cho máy kéo. Mức chi phí dầu mỡ phụ thuộc vào thời gian quy định cho thêm dầu mỡ và thời gian thay dầu. Đối với dầu các-te động cơ còn phụ thuộc vào lượng dầu bị cháy trong thời gian động cơ làm việc.
Dầu cho vào các-te động cơ chi phí nhiều nhất. Đối với động cơ chế hoà khí khoảng 60 giờ máy làm việc phải thay dầu một lần, còn đối với động cơ điêzen là 240 giờ. Mức dầu trong các-te động cơ điêzen trong quá trình làm việc giảm dần vì một phần bị đốt cháy, một phần bị nóng quá bốc thành hơi, còn động cơ chế hoà khí thì ngược lại mức dầu trong các-te tăng lên trong quá trình làm việc vì một phần nhiên liệu chảy xuống các-te qua khe hở giữa Pít-tông và xi-lanh.
Mức chi phí dầu nhờn trong các-te động cơ (tính theo % nhiên liệu điêzen) tính theo công thức:
Q [V (T1) v] 100%
(1.7)
d t T .Glv
Trong đó: Qd - Mức chi phí dầu mỡ (%);
V - Thể tích dầu nhờn chứa trong Các-te động cơ (lít);
Có thể bạn quan tâm!
-
Máy nông nghiệp - 1 -
Một Số Đặc Tính Làm Việc Và Phạm Vi Ứng Dụng Của Các Loại Động Cơ Đốt Trong -
Dây Quấn Stato; 2- Lõi Thép Stato; 3 - Lõi Thép Rôto; 4 - Dây Quấn Rôto. -
Ngàm; 5 - Đầu Vuông; 6 – Thanhb Dọc Khung; 7 -Đĩa Dao; 8 - May Ơ; 9 - Nắp; 10 - Đai Ốc;
Xem toàn bộ 109 trang tài liệu này.
v - Thể tích dầu đổ thêm (lít);
T - Thời gian quy định thay dầu (h);
t - Thời gian quy định đổ thêm dầu (h);
- Trọng lượng riêng của dầu (kg/dm3);
Glv - Chi phí nhiên liệu điêzen trong một giờ (kg).
Chất lượng dầu nhờn ảnh hưởng đến độ bền và thời gian phục vụ (tuổi thọ) của máy. Dùng dầu nhờn phù hợp, kịp thời đổ thêm dầu, thay dầu là điều kiện cần thiết trong sử dụng máy.
c. Biện pháp giảm chi phí nhiên liệu
Từ những công thức tính toán chi phí nhiên liệu ta thấy, để giảm chi phí nhiên liệu cần: duy trì động cơ, máy kéo và máy nông nghiệp ở tình trạng tốt; thành lập liên hợp máy đúng; cho máy làm việc ở điều kiện đất đai phù hợp (độ ẩm, mức nước, mức bùn thích hợp … ); loại trừ các chi phí thời gian và chi phí nhiên liệu vô ích (tổn thất nhiên liệu khi vận chuyển, chi cung cấp cho máy và khi bảo quản … ).
Câu hỏi ôn tập:
1. Trình bày khái niệm cơ giới hóa và mức độ cơ giới hóa nông nghiệp.
2. Trình bày các cách phân loại liên hợp máy.
3. Trình bày công thức xác định chi phí lao động và biện pháp giảm chi phí lao động.
4. Trình bày các công thức xác định chi phí nhiên liệu, dầu mỡ và biện pháp giảm chi phí nhiên liệu, dầu mỡ.
CHƯƠNG II: CÁC MÁY ĐỘNG LỰC DÙNG TRONG NÔNG NGHIỆP
2.1. ĐỘNG CƠ ĐỐT TRONG
2.1.1. Nhiệm vụ, phân loại và cấu tạo chung của động cơ đốt trong
a. Nhiệm vụ
Động cơ đốt trong có nhiệm vụ chuyển nhiệt năng do phản ứng cháy của nhiên liệu tạo ra thành cơ năng làm quay trục cơ trồi truyền qua hệ thống truyền lực đến bánh xe chủ động của ô tô, máy kéo làm cho nó chuyển động hay đến các máy công tác khác.
b. Phân loại
Căn cứ vào các đặc điểm chung của động cơ đốt trong, người ta phân loại động cơ đốt trong như sau:
- Theo số chu trình làm việc, có thể chia động cơ làm hai loại:
+ Động cơ 4 kỳ;
+ Động cơ 2 kỳ.
- Theo phương pháp tạo thành hỗn hợp đốt, có thể chia động cơ đốt trong thành hai loại:
+ Động cơ tạo thành hỗn hợp đốt bên ngoài xi-lanh là những loại động cơ có bộ chế hoà khí (thường là động cơ xăng),
+ Động cơ tạo thành hỗn hợp đốt trong xi-lanh là những động cơ có vòi phun nhiên liệu trực tiếp vào xi-lanh (thường là động cơ điêzen).
- Theo phương pháp đốt cháy hỗn hợp đốt, người ta chia động cơ đốt trong làm ba loại:
+ Động cơ đốt cháy hỗn hợp bằng tia lửa điện xuất hiện ở bu-zi;
+ Động cơ đốt cháy hỗn hợp nhờ bầu nhiệt (là một bộ phận đốt nóng);
+ Động cơ hỗn hợp đốt tự bốc cháy do bị nén dưới áp suất và nhiệt độ cao.
- Theo loại nhiên liệu dùng cho động cơ, người ta chia động cơ đốt trong làm hai loại:
+ Động cơ dùng nhiên liệu lỏng (động cơ xăng, động cơ điêzen… )
+ Động cơ dùng nhiên liệu khí (động cơ khí than … ).
- Theo số xi-lanh có trong động cơ, có thể chia ra động cơ làm 2 loại:
+ Động cơ một xi-lanh
+ Động cơ nhiều xi-lanh (2, 4, 6 … xi lanh) .
- Theo cách phân bố xi-lanh, có thể chia động cơ đốt trong làm hai loại:
+ Động cơ có xi-lanh xếp thẳng hàng
+ Động cơ có xi-lanh xếp thành hình chữ V.
c. Cấu tạo chung
Về cấu tạo chung thì một động cơ đốt trong bao gồm các cơ cấu với các nhiệm vụ khác nhau như sau:
- Cơ cấu biên tay quay làm nhiệm vụ thực hiện chu trình làm việc của động cơ, biến chuyển động tịnh tiến của pít-tông thành chuyển động quay của trục khuỷu ở kỳ sinh công và ngược lại biến chuyển động quay của trục khuỷu thành chuyển động tịnh tiến của pít-tông ở những kỳ phụ của chu trình làm việc trong xi-lanh.
- Cơ cấu phân phối khí có tác dụng mở đóng kịp thời các van xu-pap và cùng với cơ cấu biên tay quay phân phối hỗn hợp đốt vào từng xi-lanh cũng như xả khí đã cháy ra khỏi xi-lanh.
- Cơ cấu giảm áp cho phép giảm áp suất trong xi-lanh để đảm bảo quay dễ dàng trục khuỷu khi khởi động động cơ và khi điều chỉnh các bộ phận khác của động cơ.
- Hệ thống cung cấp: có nhiệm vụ cung cấp không khí và nhiên liệu đã được lọc sạch vào trong xi-lanh động cơ đúng lúc với một liều lượng nhất định tuỳ theo chế độ làm việc của động cơ.
- Bộ điều tốc có nhiệm vụ thay đổi lượng cung cấp nhiên liệu điêzen (với động cơ điêzen) hoặc hỗn hợp khí đốt (với động cơ xăng) tuỳ theo tải trọng của động cơ.
- Hệ thống bôi trơn cung cấp dầu bôi trơn cho các bề mặt làm việc của các chi tiết máy với liều lượng cần thiết ở nhiệt độ và áp suất nhất định.
- Hệ thống làm mát có nhiệm vụ giữ chế độ nhiệt động cơ làm việc thích hợp nhất, nó dẫn nhiệt độ thừa từ các chi tiết ra bộ phận truyền nhiệt cho không khí xung quanh.
- Hệ thống đánh lửa (chỉ có ở động cơ các-bua-ra-tơ) tạo ra tia lửa điện ở thời điểm cần thiết để đốt cháy hỗn hợp đốt.
- Hệ thống khởi động của động cơ có nhiệm vụ đảm bảo cho động cơ khởi động được dễ dàng.
2.1.2. Một số khái niệm chung
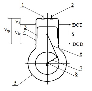
Để hiểu dễ dàng một số khái niệm chung về động cơ đốt trong, ta xem xét sơ đồ động cơ một xi-lanh như hình 2.1:
- Các điểm chết: trong qúa trình làm việc pít-tông chuyển động tịnh tiến trong xi-lanh giữa hai điểm gọi là điểm chết trên và điểm chết dưới.
Điểm chết trên là vị trí của pít-tông mà tại đó khoảng cách từ nó đến tâm trục khuỷu là lớn nhất.
Điểm chết dưới là vị trí của pít-tông mà tại đó khoảng cách từ nó đến tâm trục khuỷu là nhỏ nhất.
- Hành trình pít-tông là khoảng cách đo dọc trục của xi-lanh từ điểm chết trên đến điểm chết dưới, ký hiệu là S.
- Thể tích làm việc của xi-lanh là thể tích giới hạn giữa điểm chết trên và điểm chết dưới, ký hiệu là Vlv.
Thể tích làm việc của xi-lanh được tính theo công thức:
d 2
Vlv 4 S (lít) (2.1)
Trong đó: d - đường kính xi-lanh;
S - hành trình của pít-tông.
- Thể tích buồng đốt của xi-lanh là phần thể tích giới hạn bởi mặt trong nắp xi-lanh và đáy pít-tông khi pít-tông ở điểm chết trên, ký hiệu là Vd.
- Thể tích toàn phần của xi-lanh là tổng thể tích buồng đốt và thể tích làm việc của xi-lanh, ký hiệu là Vtp.
Như vậy: Vtp = Vlv - Vd (2.2)

Hình 2.1: Sơ đồ động cơ đốt trong một xi-lanh
1 - van nạp ; 2 - van xả; 3 - pít-tông; 4 - xi-lanh;
5 - các-te; 6 - thanh truyền; 7 - tay quay; 8 - trục khuỷu.
Vd - thể tích buồng đốt; Vlv -thể tích làm việc; Vtp - thể tích toàn phần; ĐCT - điểm chết trên; ĐCD - điểm chết dưới; S - hành trình pít-tông.
-Tỷ số nén của động cơ là tỷ số giữa thể tích toàn phần và thể tích buồng đốt của động cơ:
Vtp
Vd
Vd Vlv
Vd
1Vlv ; ( 1)
Vd
(2.3)
- Khí mới nạp là hỗn hợp khí (với động cơ tạo thành hỗn hợp bên ngoài xi-lanh) hoặc không khí (với động cơ tạo thành hỗn hợp trong xi-lanh) được nạp vào xi-lanh ở thời kỳ nạp.
- Hỗn hợp cháy là hỗn hợp của không khí và nhiên liệu được làm tơi đảm bảo cho sự cháy trong xi-lanh.
- Khí còn lại là khí còn sót lại trong xi-lanh sau khi cháy.
- Hỗn hợp khí làm việc bao gồm hỗn hợp cháy và khí còn lại.
- Hệ số thừa không khí là tỷ số giữa lượng không khí cần thiết theo tính toán (lý thuyết) và lượng không khí cần thiết thực tế để đốt cháy hoàn toàn một kg nhiên liệu.
Trong đó:
L L0
(2.4)
L - lượng không khí cần thiết thực tế đưa vào xi-lanh để đốt cháy một kg nhiên liệu.
L0 - lượng không khí cần thiết tính toán đưa vào xi-lanh để đốt cháy một kg nhiên liệu.
là thông số đánh giá chất lượng hỗn hợp cháy,
= 1 hỗn hợp khí cháy bình thường;
> 1 hỗn hợp khí cháy nghèo (loãng);
< 1 hỗn hợp khí cháy giầu (đặc).
- Chu trình làm việc của động cơ: động cơ đốt trong làm việc nhờ các quá trình xảy ra liên tục theo một trình tự nhất định trong xi-lanh: nạp đầy khí mới nạp vào xi-lanh, nén khí mới nạp trong xi-lanh, đốt cháy hỗn hợp làm việc (còn gọi là quá trình nổ hay quá trình sinh công) và xả khí đã làm việc ra khỏi xi-lanh. Bốn quá trình đó tạo thành một chu trình làm việc của động cơ. Các chu trình liên tiếp được thực hiện tạo thành quá trình làm việc của động cơ.
- Thời kỳ (hay còn gọi tắt là kỳ) là một phần chu trình xảy ra trong thời gian pít-tông chuyển động từ điểm chết này đến điểm chết khác (pít-tông thực hiện một hành trình) gọi là một thời kỳ (gọi tắt là kỳ).
- Động cơ 2 kỳ là động cơ có chu trình làm việc được thực hiện trong một vòng quay của trục khuỷu, tức là pít-tông đi lại hai lần (pít-tông thực hiện hai hành trình).
- Động cơ 4 kỳ là động cơ có chu trình làm việc được thực hiện trong hai vòng quay của trục khuỷu, tức là pít-tông đi lại bốn lần (pít-tông thực hiện bốn hành trình).
2.1.3. Chu trình làm việc của động cơ đốt trong
a. Chu trình làm việc của động cơ (xăng và điêzen) 4 kỳ

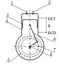
* Sơ đồ cấu tạo của động cơ 4 kỳ (hình 2.2):
Hình 2.2: Sơ đồ cấu tạo động cơ
4 kỳ một xi-lanh 1 - van nạp ; 2 - van xả; 3 - pít-tông; 4 - xi-lanh;
5 - bánh đà; 6 - thanh truyền; 7 - tay quay; 8 - trục khuỷu
Đặc điểm cấu tạo nổi bật của động cơ 4 kỳ là có hai van phân phối, thường đặt ở nắp xi-lanh phía đầu động cơ.

* Chu trình làm việc của động cơ 4 kỳ được thực hiện qua 4 hành trình của pít-tông, tương ứng với hai vòng quay của trục khuỷu, chu trình đó như sau:
- Kỳ nạp (hình 2.3):
Ở đầu kỳ nạp, van nạp mở còn van xả đóng. Trục khuỷu quay làm pít-tông chuyển dịch từ điểm chết trên đến điểm chết dưới, áp suất trong khoảng trống phía trên giảm, khí mới nạp (là hỗn hợp khí cháy với động cơ xăng và là không khí sạch đối với động cơ điêzen) được nạp vào xi-lanh qua van nạp do chênh lệch áp suất giữa trong và ngoài xi-lanh, cuối thời kỳ nạp van nạp bắt đầu
đóng lại. Hình 2.3: Minh hoạ kỳ nạp
của động cơ 4 kỳ
- Kỳ nén (hình 2.4):
Ở đầu kỳ nén, cả hai van nạp và xả đều đóng. Trục khuỷu tiếp tục quay làm pít-tông chuyển dịch từ điểm chết dưới đến điểm chết trên. Do lúc này cả hai van nạp và xả đều đóng nên khoảng không gian phía trong xi-lanh kín, làm cho khí đã nạp đầy trong xi-lanh bị nén lại trong xi-lanh dưới một áp suất cao. Đối với động cơ xăng, khi pít-tông gần đến điểm chết trên bu-ri bật tia lửa điện làm hỗn hợp khí bị nén trong xi-lanh bốc cháy. Đối với động cơ điêzen, khi pít-tông gần đến điểm chết trên vòi phun bắt đầu phun nhiên liệu để trộn với không khí bị nén trong xi-lanh thành hỗn hợp cháy, dưới tác dụng của áp suất cao hỗn hợp khí đó sẽ tự bốc cháy.
- Kỳ nổ (hình 2.5):
Ở đầu kỳ nổ (còn gọi là kỳ giãn nở - sinh công), van nạp và xả vẫn đóng. Sau khi quá trình cháy xảy ra, nhiệt độ trong xi-lanh tăng lên rất nhanh, khí trong xi-lanh giãn nở mạnh làm cho áp suất trong xi-lanh tăng cao. Dưới tác dụng của áp suất cao, pít-tông bị đẩy từ điểm chết trên xuống điểm chết dưới. Chuyển động đó của pít- tông qua hệ thống thanh truyền và tay quay sẽ làm trục khuỷu quay. Thời kỳ này nhiệt năng được chuyển hoá thành cơ năng nên thường được gọi là thời kỳ sinh công, đây cũng chính là thời kỳ làm việc chủ yếu của động cơ.

Hình 2.4: Minh hoạ thời kỳ nén của động cơ 4 kỳ

Hình 2.5: Minh hoạ thời kỳ nổ của động cơ 4 kỳ
- Kỳ xả (hình 2.6):
Đầu thời kỳ xả, van nạp đóng vào còn van xả mở ra. Dưới tác dụng của lực quán tính do bánh đà sinh ra (bánh đà là một khối nặng được gắn cứng với trục khuỷu), pít-tông được đẩy từ điểm chết dưới đến điểm chết trên, khí đã cháy trong xi-lanh được dồn ra ngoài qua cửa xả, hoàn thành một chu trình làm việc của động cơ.
Sau thời kỳ xả, pít-tông lại chuyển dịch từ điểm chết trên xuống điểm chết dưới và các quá trình của chu trình tiếp theo lại lần lượt được thực hiện.
b. Chu trình làm việc của động cơ 2 kỳ

Hình 2.6: Minh hoạ thời kỳ xả của động cơ 4 kỳ
* Về cấu tạo, xi-lanh của động cơ 2 kỳ có 2 cửa (một cửa nạp, một cửa xả) và một lỗ thông (hình 2.7). Cửa nạp thông bộ chế hoà khí với buồng các-te để nạp khí mới nạp vào buồng các-te. Cửa xả thông buồng đốt với ống xả để xả khí đã cháy ra ngoài. Cửa thổi thông buồng các-te với buồng đốt để đưa khí từ buồng các-te lên buồng đốt.
* Chu trình làm việc của động cơ xăng 2 kỳ:

- Kỳ làm việc thứ nhất (hình 2.7):
Giả thiết rằng khi pít-tông ở điểm chết dưới trong xi-lanh của động cơ đã được nạp đầy khí mới nạp và còn một số khí còn lại. Pít-tông đi từ điểm chết dưới lên điểm chết trên (hành trình thứ nhất), sau khi đóng kín các cửa sẽ nén hỗn hợp khí làm việc ở phần thể tích phía trên đáy pít-tông. Đến khi pít-tông đến gần điểm chết trên thì bu-ri bật tia lửa điện, đốt cháy hỗn hợp khí, quá trình cháy bắt đầu xảy ra. Đồng thời lúc
đó cửa nạp được mở ra, hỗn hợp khí cháy sẽ qua cửa nạp vào buồng các-te.
- Kỳ làm việc thứ hai (hình 2.8):
Hình 2.7: Kỳ làm việc thứ nhất
của động cơ xăng 2 kỳ
Ngay sau khi bu-ri bật tia lửa điện quá trình cháy xảy ra mãnh liệt, nhiệt độ và áp suất tăng nhanh. Dưới tác dụng của áp suất cao, pít-tông bị đẩy từ điểm chết trên xuống điểm chết dưới (hành trình sinh công). Trong quá trình pít-tông đi xuống, cửa xả được mở ra, phần khí cháy được xả ra ngoài. Pít-tông tiếp tục đi xuống, sau khi đóng dần cửa nạp sẽ nén sơ bộ khí trong buồng các-te. Đến khi pít-tông đóng hẳn cửa nạp và mở cửa thổi thì hỗn hợp khí trong các-te sẽ trào lên nạp vào buồng đốt, đồng thời đẩy một phần khí đã cháy còn lại ra ngoài.

Hình 2.8: Kỳ làm việc thứ hai của động cơ xăng 2 kỳ
Sau khi hỗn hợp khí cháy được nạp vào buồng đốt, pít-tông tiếp tục đi từ điểm chết dưới lên điểm chết trên thực hiện các hành trình của chu trình tiếp theo.
* Chu trình làm việc của động cơ điêzen 2 kỳ

- Kỳ làm việc thứ nhất (hình 2.9):
Cũng giả thiết (như đối với động cơ xăng 2 kỳ) rằng khi pít-tông ở điểm chết dưới trong xi-lanh của động cơ đã được nạp đầy khí mới nạp (với động cơ điêzen là không khí sạch) và còn một số khí còn lại. Pít-tông đi từ điểm chết dưới lên điểm chết trên (hành trình thứ nhất), sau khi đóng kín các cửa sẽ nén không khí sạch ở phần thể tích phía trên đáy pít-tông. Đến khi pít-tông đến gần điểm chết trên thì vòi phun bắt đầu phun nhiên liệu (điêzen) để trộn với không khí tạo thành hỗn hợp cháy, dưới tác dụng của nhiệt độ và áp suất cao sẽ làm hỗn hợp cháy tự bốc cháy,
quá trình cháy bắt đầu xảy ra. Đồng thời lúc đó cửa nạp được mở ra, hỗn hợp khí cháy sẽ qua cửa nạp vào buồng các-te.
- Kỳ làm việc thứ hai (hình 2.10):
Hình 2.9: Kỳ làm việc thứ nhất của động cơ điêzen 2 kỳ
Ngay sau khi hỗn hợp cháy tự bốc cháy, quá trình cháy xảy ra mãnh liệt, nhiệt độ và áp suất trong buồng đốt tăng nhanh. Dưới tác dụng của áp suất cao, pít-tông bị đẩy từ điểm chết trên xuống điểm chết dưới (hành trình sinh công). Trong quá trình pít-tông đi xuống, cửa xả được mở ra, phần khí đã cháy được xả ra ngoài. Pít-tông tiếp tục đi xuống, sau khi đóng dần cửa nạp sẽ nén sơ bộ khí trong buồng các-te. Đến khi pít-tông đóng hẳn cửa nạp và mở cửa thổi thì không khí sạch trong các-te sẽ trào lên nạp vào buồng đốt, đồng thời đẩy một phần khí đã cháy còn lại ra ngoài.




