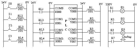
2. Bảng khai báo thiết bị:
Địa chỉ thiết bị | Tên thiết bị | Sự hoạt động | |
Ngõ vào | X0 | Vào cổng (người) | ON khi phát hiện có người vào |
X1 | Ra cổng (người) | ON khi phát hiện có người ra | |
X2 | Vào cổng (xe) | ON khi phát hiện có xe vào | |
X3 | Ra cổng (xe) | ON khi phát hiện có xe ra | |
Ngõ ra | Y0 | Đèn xanh Đ1 (người) | Bật sáng khi Y0 - ON |
Y2 | Đèn xanh Đ2 (xe) | Bật sáng khi Y2 – ON | |
Y3 | Đèn đỏ Đ3 (xe) | Bật sáng khi Y3 – ON | |
Y7 | Còi báo | Kêu lên khi Y7 ON |
Có thể bạn quan tâm!
-
Hướng dẫn lập trình PLC Mitsubishi - 10 -
Cơ Chế Stepladder – (A): Mạch Cơ Bản Stl; -
Các Bài Tập Dạng Cơ Bản: Bài 1. Đơn Vị Phục Vụ: -
Các Bài Tập Dạng Trung Bình Bài 1. Tín Hiệu Nút Nhấn -
Hướng dẫn lập trình PLC Mitsubishi - 15 -
Các Bài Tập Dạng Nâng Cao Bài 1. Vận Hành Cửa Tự Động
Xem toàn bộ 202 trang tài liệu này.
3. Mục đích điều khiển:
Bật tia sáng lên khi phát hiện có người hay xe đi qua. Sử dụng các lệnh cơ bản và bộ định thì.
4. Những đặc tính điều khiển:
Phía người:
Khi cảm biến vào cổng X0 phát hiện có người vào thì đèn xanh Y0 bật lên.
Khi cảm biến ra cổng X1 phát hiện có người đi qua thì sau 5s đèn xanh Y1 tắt.
Phía xe:
Khi cảm biến vào cổng X2 phát hiện có xe vào thì đèn xanh Y2 được bật lên.
Khi cảm biến ra cổng X3 phát hiện có xe đi qua thì sau 5s đèn xanh Y2 tắt.
Nếu xe không băng qua vùng giữa cảm biến vào cổng X2 và ra cổng X3 trong 10s, đèn đỏ Y3 bật sáng và còi báo Y7 vang lên
Ngay khi xe băng qua cảm biến ra cổng X3 thì đèn đỏ Y3 tắt và còi báo Y7 ngừng.
5. Sơ đồ nguyên lý:

6. Chương trình Ladder mẫu:
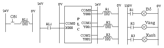
Bài 3. Điều khiển định thì mạch đèn giao thông:
1. Mô hình hoạt động:

2. Bảng khai báo thiết bị:
Địa chỉ thiết bị | Tên thiết bị | Sự hoạt động | |
Ngõ vào | X0 | Nút nhấn ON | ON: quá trình hoạt động |
Ngõ ra | Y0 | Đèn đỏ | Bật sáng khi Y0 – ON |
Y1 | Đèn vàng | Bật sáng khi Y1 - ON | |
Y2 | Đèn xanh | Bật sáng khi Y2 - ON |
3. Mục đích điều khiển:
Điều khiển đèn giao thông thay đổi tại các khoảng thời gian chỉ định. Sử dụng các lệnh cơ bản và bộ định thì
4. Những đặc tính điều khiển:
Khi nút nhấn X0 được nhấn, quá trình bắt đầu hoạt động.
Đầu tiên, đèn đỏ Y0 sáng trong 10s.
Sau đó đèn đỏ Y0 tắt, đồng thời đèn vàng Y1 sáng trong 5s.
Sau đó đèn vàng Y1 tắt, đồng thời đèn xanh Y2 sáng trong 10s.
Sau đó đèn xanh Y2 tắt và quá trình được lập lại từ bước 2.
5. Sơ đồ nguyên lý:

6. Chương trình Ladder mẫu:
Bài 4. Phân loại sản phẩm theo kích cỡ (I):
1. Mô hình hoạt động:

2. Bảng khai báo thiết bị:
Địa chỉ thiết bị | Tên thiết bị | Sự hoạt động | |
Ngõ vào | X0 | Cảm biến trên | ON khi sản phẩm được phát hiện |
X1 | Cảm biến giữa | ON khi sản phẩm được phát hiện | |
X2 | Cảm biến dưới | ON khi sản phẩm được phát hiện | |
X4 | Cảm biến cuối | ON khi phát hiện sản phẩm ở cuối băng tải | |
X5 | Nút START | ON quá trình hoạt động | |
X6 | Công tắc | Băng tải di chuyển khi X6 ON | |
Ngõ ra | Y0 | Băng tải chạy về phía trước | Băng tải chạy về phía trước khi Y0 ON |
Y1 | Lệnh cung cấp | Khi Y1 ON, 1 sản phẩm được cung cấp |
Y2 | Đèn Đ1 | Bật sáng khi Y2 ON |
Y3 | Đèn Đ2 | Bật sáng khi Y3 ON |
Y4 | Đèn Đ3 | Bật sáng khi Y4 ON |
3. Mục đích điều khiển:
Phân loại 3 sản phẩm có kích cỡ khác nhau và được mang trên băng tải
4. Những đặc tính điều khiển:
Khi nút nhấn START – X5 được nhấn trên bảng điều khiển, lệnh cung cấp Y1 cho robot chuyển sang ON. Khi thả nút nhấn START, lệnh cung cấp Y1 chuyển sang OFF.
Khi công tắc X6 được bật sang ON trên bảng điều khiển, băng tải Y0 di chuyển về phía trước. Khi công tắc X6 chuyển sang OFF, băng tải Y0 ngừng.
Sản phẩm lớn, trung bình, nhỏ trên các băng tải được phân loại bằng các cảm biến X0, X1, X2 và sau đó đèn tương ứng bật sáng.
Sản phẩm lớn đèn Đ1 (Y2)
Sản phẩm trung bình đèn Đ2 (Y3)
Sản phẩm nhỏ đèn Đ3 (Y4)
Đèn báo được bật sáng tức thì sau khi các cảm biến (X0, X1, X2) phân biệt kích cỡ sau đó tắt khi sản phẩm đi qua cảm biến X4.
5. Sơ đồ nguyên lý:

6. Chương trình Ladder mẫu:
Bài 5. Khởi động/ dừng băng tải:
1. Mô hình hoạt động:

2. Bảng khai báo thiết bị:
Địa chỉ thiết bị | Tên thiết bị | Sự hoạt động | |
Ngõ vào | X0 | Nút nhấn START | ON quá trình hoạt động |
X1 | Nút nhấn STOP | ON quá trình ngừng hoạt động | |
Ngõ ra | Y0 | Đèn vàng | Bật sáng khi Y0 ON |
Y1 | Còi báo | Vang lên khi Y1 ON | |
Y2 | Băng tải chạy về phía trước | Băng tải chạy khi Y2 ON | |
Y3 | Đèn xanh | Bật sáng khi Y3 ON |
3. Mục đích điều khiển:
Khởi động/ dừng băng tải tùy theo trình tự định trước
4. Những đặc tính điều khiển:
Khi nút nhấn START được nhấn trên bảng điều khiển, đèn vàng Y0 bật sáng và còi báo Y1 vang lên trong 5s, đèn vàng Y0 vẫn sáng.






