Do bản thân đối tượng sản phẩm là than thuộc loại vật liệu hạt rời, thành phần kích cỡ hạt phức tạp, đa dạng, có độ ẩm biến thiên nhanh phụ thuộc trực tiếp vào thời tiết và điều kiện bảo quản nên mọi hoạt động khoáng sản, kể cả tại các cảng xuất than, nhà máy sàng tuyển và trên các tuyến giao thông vận chuyển cũng phát sinh nhiều bụi than.
Để khắc phục loại bụi này cần sử dụng phương pháp phun nước cao áp tạo sương mù phun tại địa điểm vị trí phát sinh bụi nhằm xử lý, hạn chế ngay từ nguồn, chống phát tán bụi từ nguồn. Phương pháp này hiện nay được áp dụng rộng rãi trong nhiều đơn vị của ngành than Quảng Ninh. Dưới đây giới thiệu phương pháp phun sương với áp suất cao tạo sương mù tại Công ty tuyển than Cửa Ông.
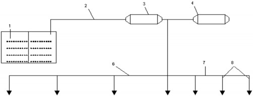
Sơ đồ hệ thống giảm thiểu bụi bằng thiết bị bơm nước với áp suất cao tạo sương mù Tại Công ty tuyển than Cửa Ông (xem hình 3.11 và hình 3.12) gồm 6 hệ thống giảm thiểu bụi đã được lắp đặt. Mỗi hệ thống có 32 vòi phun. Các vòi phun được đặt trên cột cao 4,5 m và các cột cách nhau 20 m.

Hình 3.11: Sơ đồ bố trí thiết bị phun nước với áp suất cao tạo sương mù tại công ty tuyển than Cửa Ông.
5 Ống đẩy chính 6, 7. Các ống nhánh; 8. Các ống nhánh và vòi phun |
Có thể bạn quan tâm!
-
Nước Thải Sinh Hoạt Của Công Nhân Lao Động Trong Các Công Ty Than Ở Khu Vực Nghiên Cứu -
Dự Báo Nguồn Thải Gây Ô Nhiễm Môi Trường Của Sản Xuất Than Đến Năm 2015 -
Công Nghệ Phun Sương Dập Bụi Trong Khai Thác Khoáng Sản -
Đánh giá một số nguồn ô nhiễm bụi, nước thải trong ngành than trên địa bàn trọng điểm thành phố Hạ Long, thành phố Cẩm Phả của tỉnh Quảng Ninh và đề xuất các giải pháp quản lý, xử lý đến năm 2015 - 12
Xem toàn bộ 98 trang tài liệu này.

Hình 3.12. Hình ảnh về hệ thống phun nước giảm thiểu bụi tại Công ty tuyển than Cửa Ông
Kết quả các công trình nghiên cứu thử nghiệm trên một số loại tuyến đường vận chuyển than cho thấy hiệu quả xử lý bụi đạt từ 80 tới 96% trong khi chi phí nước sử dụng ít (xem bảng 3.27). Với mức đầu tư không lớn (chỉ bao gồm đầu tư thiết bị máy bơm, ống dẫn nước và các vòi) phun nhưng hiệu qủa kỹ thuật tốt hơn nhiều so với các phương pháp phun tưới nước thông thường khác, ví dụ như khi sử dụng téc nước đặt trên ô tô.
Bảng 3.27. Một số kết quả giảm thiểu bụi bằng phun nước cao áp
Vị trí đo | Nồng độ khi ô tô chạy qua, mg/m3 | |||
Khi chưa giảm thiểu bụi | Khi hệ thống giảm thiểu bụi làm việc | Hiệu quả (%) | ||
1 | Trong khu vực nhà máy gần đường ô tô | 25,2-145 | 5,2 | 79-96 |
2 | Trước cổng ra vào cổng Công ty | 90-127 | 7,3 | 92-94 |
3 | Trên đường ô tô | 100-127 | 11,2 | 88,8-91 |
4 | Cạnh nhà làm việc | 88,2-112,2 | 5,7 | 94-95 |
5 | Cạnh hố nhận than | 75,1-87 | 11,07 | 85-87 |
(Nguồn: Trung tâm quan trắc và Phân tích môi trường, 2012)
Ngoài ra, nhằm giảm bụi, cải thiện chất lượng môi trường trên các tuyến vận chuyển nên xem xét kết hợp thực hiện các giải pháp sau:
Giải pháp trước mắt(khi chưa có điều kiện đầu tư thay đổi công nghệ vận chuyển than):
- Bê tông hoá (nhựa atphan hoặc ximăng) mặt đường mỏ, nhất là những đoạn đường cố định, có mật độ xe qua lại lớn.
- Phun nước thường xuyên các tuyến đường vận tải, nhất là đường ra bãi thải. Bằng cách này có thể giảm lượng bụi đạt hiệu quả 70 tới 80%. Có ba phương pháp phun nước: phun nước thông thường (phương pháp phổ biến và chi phí thấp), phun sương và phun nước có chứa NaCl hoặc CaCl2).
- Dùng bạt che kín các thùng xe khi vận tải đất đá ra bãi thải cũng như khi
vận tải than về kho chứa hay ra cảng tiêu thụ.
- Xây dựng trạm rửa xe tự động ở các điểm mà đường mỏ thông ra đường giao thông để rửa sạch xe mỏ trước khi hòa mạng giao thông quốc gia.
- Trồng và phát triển các hàng rào cây xanh hai bên đường vận chuyển tạo thành vành đai bảo vệ, hạn chế sự phát tán của bụi ra môi trường xung quanh.
- Lắp các bộ lọc vào động cơ ôtô để khử các khí độc như CO2, NOX,...
Giải pháp công nghệ lâu dài:
Sản xuất sạch hơn trong khai thác mỏ nhằm giảm ô nhiễm môi trường, tiết kiệm tài nguyên. Trước đây, công đoạn sàng tuyển than tại các mỏ than Việt Nam hầu hết là áp dụng công nghệ sàng khô tách cám than nguyên khai, nhặt tay thủ công và loại bỏ bớt đá thải tại mỏ. Vì vậy, các mỏ thường phải tổ chức nhặt tay, sàng đi sàng lại nhiều lần làm tăng chi phí sản xuất, vỡ vụn than cục. Hiện nay, Viện Khoa học Công nghệ Mỏ đã triển khai thực hiện thành công dây chuyền công nghệ tuyển than trong bã sàng cho các mỏ than vùng Quảng Ninh bằng công nghệ huyền phù kiểu tang quay và xây dựng, hoàn thiện công nghệ nâng cao chất lượng than cho các mỏ bằng "huyền phù tự sinh". Công nghệ mới này có tính ưu việt hơn hẳn, ngoài lượng than được tận thu triệt để tăng từ 20-30% sản lượng than so với công nghệ cũ, giải pháp còn giúp tăng năng suất lao động do được cơ giới hóa và tự
động hóa cũng như giảm ô nhiễm môi trường và bệnh nghề nghiệp cho người lao động.
Đổi mới công nghệ vận chuyển: xây dựng hệ thống vận chuyển than bằng băng tải kín đảm bảo không gây bụi trong hệ thống sản xuất của ngành than, cụ thể là đầu tư xây dựng hệ thống băng tải vận chuyển than từ nơi khai thác về các nhà máy tuyển than, từ nhà máy tuyển tới các cảng xuất than và từ các cảng xuất than tới các phương tiện tàu biển.
3.6.6. Biện pháp xử lý nước thải mỏ
Nhằm khắc phục một phần nhược điểm của việc xử lý nước thải (chủ yếu là chi phí đầu tư và vận hành quá lớn) đã áp dụng tại một số cơ sở của ngành than như trên, đề xuất một số giải pháp đơn giản, dễ thực hiện có tính khả thi cao trong điều kiện đặc thù hiện nay của ngành than như sau:
a. Dùng phương pháp lắng cơ học đối với các mỏ có nước mưa rửa trôi bề mặt
Phương pháp này sử dụng để xử lý sơ bộ nước thải mỏ phát sinh khi mưa rửa trôi trên bề mặt các khu vực có hoạt động khai thác, chế biến than.
Đối với hệ thống thoát nước mặt tại các công trình đã được xây dựng kiên cố như mặt bằng sân, bãi chứa sản phẩm cần có hệ thống cống rãnh và xây dựng các hố lắng. Các hố lắng phải được thiết kế phù hợp (cấu tạo hố lắng xem hình 3.13 ) để hạn chế bùn, đất, cát bị nước mưa cuốn trôi gây ô nhiễm nguồn nước. Cặn lắng được nạo vét thường xuyên và được vận chuyển đến nơi xử lý theo quy định.
Rãnh thu cặn
Nước đầu vào
Nước đầu ra
Hình 3.13: Sơ đồ cấu tạo hố lắng cặn cứng
AA: Mặt cắt ngang của hố lắng; BB: Mặt cắt dọc hố lắng
Đối với nước mưa chảy tràn qua các khai trường khai thác lộ thiên, bãi thải, khi thải thoát ra thường mang theo một lượng lớn cặn cứng như vụn đá, cát, sét, mùn, quặng....gây nguy cơ bồi lắng tại các khu vực thủy vực vùng hạ lưu nên trước khi hoà mạng thuỷ văn khu vực, nước thải cần được làm lắng trong bằng cách bơm qua hồ lắng.
Dung tích hồ lắng cần được tính toán sao cho có thể thu được hết lượng nước nhiễm bẩn do một trận mưa lớn từ mỏ bơm ra.
Phương pháp tính toán dung tích hồ lắng như sau: Vh = Fmax.S.Kt, m3 ,
Trong đó: Fmax - lượng mưa lớn nhất của một trận mưa, m ; S - Diện tích hứng mưa của mỏ, m3;
Kt - hệ số thu hồi khi nước dồn vào mỏ, Kt = 0,75 0,85.
Nếu không đủ mặt bằng để xây dựng một hồ lắng lớn thì có thể xây dựng một số hố nhỏ phân tán có dung tích tương đương.
Tiến hành làm lắng đọng kim loại hoặc mùn đá theo phương pháp cơ học có thể lắng được 30 75% chất huyền phù sau 2 3 giờ ngưng đọng và sau 7 10 ngày có thể đạt độ sạch 90 95%.
b. Xử lý nước thải từ mỏ bằng phương pháp trung hoà
Đối với các mỏ có nước thải mang tính axít và hàm lượng Mn, Fe vượt tiêu chuẩn môi trường cho phép, cần xử lý theo quy trình công nghệ được nêu tóm tắt tại hình 3.14.
Nước thải (đã được kiểm tra độ pH) chảy qua hệ thống bể lắng 1 để lắng bùn đất và đất đá sau đó được đưa sang bể trung hoà đồng thời với việc cho vôi sữa vào theo tỷ lệ phù hợp để đảm bảo phản ứng trung hòa diễn ra tốt nhất. Để tăng hiệu quả nên kết hợp dùng máy khuấy. Từ bể trung hoà nước thải được dẫn sang bể keo tụ để xử lý và tiếp tục lắng cặn, sau đó nước tiếp tục được chuyển qua bể số 2 và số 3 để lắng cặn đảm bảo theo yêu cầu.
Bơm định lượng
Bơm định lượng
Van định lượng
Bể tôi vôi
Bể sữa vôi
Bể pha chất keo tụ
BỂ CHỨA NƯỚC SAU XỬ LÝ
Bể lắng 1 (hệ thống 3 bể)
Nước thải mỏ
![]()
Bể trung hoà
Lưu lượng kế
Bïn
Bể keo tụ
Bể lắng 2
Bể lắng 3
Sân phơi bùn
Nước đạt QCVN: 40/2011/BTNMT
![]()
![]()
Hình 3.14: Sơ đồ công nghệ xử lý nước thải mỏ
Nước thải sản xuất được tập trung vào hố lắng cặn, sau khi lắng phải đảm bảo chất lượng theo Quy chuẩn Việt Nam số QCVN 40/2011/BTNMT mới được thải vào hệ thống thoát nước chung.
KẾT LUẬN VÀ KIẾN NGHỊ
1. Kết luận
Qua nghiên cứu, luận văn: “Đánh giá một số nguồn ô nhiễm bụi, nước thải trong ngành than trên địa bàn trọng điểm thành phố Hạ Long, thành phố Cẩm Phả của tỉnh Quảng Ninh và đề xuất các giải pháp quản lý, xử lý đến năm 2015" đã đề cập và giải quyết được một số vấn đề cơ bản sau:
1. Đánh giá khái quát được hiện trạng môi trường ngành than ở khu vực trọng điểm TP Hạ Long – TP Cẩm Phả - tỉnh Quảng Ninh.
2. Sử dụng các số liệu thống kê, quan trắc, các hình ảnh minh hoạ và lập luận khoa học để đánh giá một cách toàn diện các tác hại của bụi và nước thải do hoạt động khai thác than gây ra.
3. Phân tích, đề xuất một số giải pháp về mặt công nghệ và kỹ thuật nhằm góp phần hạn chế ô nhiễm môi trường do bụi và nước thải mỏ phát sinh từ một số khâu sản xuất khai thác than lộ thiên và hầm lò, đồng thời góp phần cải thiện điều kiện làm việc cho người lao động ngành than, đặc biệt là người lao động tại các khâu sản suất chính của ngành than như, khoan, nổ mìn, bốc xúc than trong lò chợ...
4. Trên cơ sở phân tích hiện trạng việc thực thi các văn bản pháp luật về bảo vệ môi trường của các doanh nghiệp HĐKS và công tác quản lý tài nguyên và môi trường trong HĐKS trên địa bàn tỉnh Quảng Ninh, đề xuất các biện pháp tăng cường hiệu quả công tác quản lý tài nguyên và môi trường trong thời gian tới.
2. Kiến nghị
Trong khuôn khổ của một luận văn, đề tài này không thể giải quyết toàn bộ các vấn đề môi trường một cách trọn vẹn. Những nghiên cứu đánh giá một cách đầy đủ về mức độ ảnh hưởng của hoạt động khai thác than tới môi trường còn là vấn để rất khó khăn. Nghiên cứu trong luận văn chỉ có mới chỉ có tính định hướng, chưa làm rò mức độ những ảnh hưởng đến môi trường các khu vực lân cận như đối với vịnh Hạ Long và vấn đề ảnh hưởng xung đột các ngành kinh tế khác của tỉnh. Do đó cần tiếp tục nghiên cứu kỹ lưỡng về lĩnh vực này, tiến tới định lượng các tác động này để có các giải pháp có tính khả thi cao hơn.
TÀI LIỆU THAM KHẢO
1. Đặng Thị Hải Yến (2008), Về tác động môi trường của việc đổ thải đất đá trong hoạt động khai thác than Quảng Ninh tới môi trường, Tạp chí Công nghiệp Mỏ, số 2
-2008
2. Hoàng Danh Sơn, Đặng Thị Hải Yến và nnk (2004), Đánh giá các nguồn gây ô nhiễm nghiêm trọng trên địa bàn tỉnh Quảng Ninh và đề xuất giải pháp quản lý. Đề án được UBND tỉnh Quảng Ninh phê duyệt.
3. Hoàng Danh Sơn, Đặng Thị Hải Yến và nnk (2007), Một số giải pháp nâng cao năng lực quản lý tài nguyên và môi trường trên địa bàn tỉnh Quảng Ninh đến năm 2020. Đề án được UBND tỉnh Quảng Ninh phê duyệt.
Nguyễn Cảnh Loan, Tống Khắc Hài, Địa chí Quảng Ninh - lược chí các huyện
4. Phạm Ngọc Đăng (2000), Quản lý môi trường đô thị và khu công nghiệp. NXB Xây dựng, Hà Nội.
5. Trần Hiếu Nhuệ và nhóm biên soạn: Cấp thoát nước
6. Bộ Kế hoạch và Đầu tư (2005), Quy hoạch tổng thể phát triển kinh tế - xã hội vùng vịnh Bắc bộ đến 2020, Hà Nội.
7. Bộ Công nghiệp (2005), Báo cáo tổng kết khoa học và kỹ thuật đề tài nghiên cứu áp dụng các giải pháp khoa học và công nghệ tổng hợp bảo vệ môi trường trong khai thác, sàng tuyển, chế biến tàng trữ và vận chuyển than, Hà Nội.
8. Chính phủ (2006) Quy hoạch tổng thể phát triển kinh tế-xã hội tỉnh Quảng Ninh đến năm 2010 và định hướng đến năm 2020 điều chỉnh, bổ sung ngày 24/11/2006, Hà Nội.
9. Chính phủ (2003), Quy hoạch phát triển ngành than Việt Nam giai đoạn 2003 - 2010 có xét triển vọng đến năm 2020 (Quyết định số 20/2003/QĐ-TTg, ngày 29/01/2003 của Thủ tướng Chính phủ), Hà Nội.
10. Chính phủ (2010), Quy hoạch phát triển ngành than Việt Nam giai đoạn 2010- 2020, tầm nhìn 2030, Hà Nội.
11. Cục Thống kê Quảng Ninh (2007), Niên giám thống kê tỉnh Quảng Ninh năm 2006, Hà Nội.




