Tuy nhiên hiệu quả của việc sử dụng hệ thống câu hỏi và bài tập hóa học còn phụ thuộc vào nhiều yếu tố như: tính tự giác, tính vừa sức và hứng thú học tập của sinh viên. Cũng như vấn đề học tập, nếu như câu hỏi và bài tập dễ quá hoặc khó quá đều không có sức lôi cuốn học sinh, sinh viên. Vì vậy trong quá trình dạy học, ở tất cả các kiều bài lên lớp khác nhau, người giáo viên phải biết sử dụng câu hỏi và bài tập có sự phân hóa để phù hợp với từng đối tượng tức là góp phần rèn luyện và phát triển tư duy cho người học.
Tùy theo mục đích dạy học, tính phức tạp và quy mô của từng loại bài, giáo viên có thể sử dụng hệ thống câu hỏi và bài tập theo 4 bậc của quá trình nhận thức và tư duy như trên. [9]
CHƯƠNG II
PHƯƠNG PHÁP PHÂN TÍCH QUANG PHỔ HẤP THỤ NGUYÊN TỬ
II.1. CƠ SỞ LÝ THUYẾT:
I.1.1. Đặc diểm chung của phương pháp phân tích quang phổ hấp thụ nguyên tử (AAS):[7]
- Phương pháp AAS (Atomic Absorption Spectroscopy) dựa trên khả năng hấp thụ chọn lọc các bức xạ cộng hưởng của nguyên tử ở trạng thái tự do. Các nguyên tử tự do được tạo ra do tác dụng của nguồn nhiệt biến các chất từ trạng thái tập hợp bất kì thành trạng thái nguyên tử, đó là quá trình nguyên tử hoá.
- Các nguyên tử tự do sẽ hấp thụ bức xạ điện từ tuân theo định luật hấp thụ
Có thể bạn quan tâm!
-
Xây dựng hệ thống câu hỏi và bài tập một số chương trong phân tích lí hoá - 1 -
Xây dựng hệ thống câu hỏi và bài tập một số chương trong phân tích lí hoá - 2 -
Cấu Tạo Của Ngọn Lửa Đèn Khí. -
Ảnh Hưởng Của Độ Nhớt Đến Tốc Độ Dẫn Mẫu (1Cp 1G/m.s) -
Xây dựng hệ thống câu hỏi và bài tập một số chương trong phân tích lí hoá - 6
Xem toàn bộ 167 trang tài liệu này.
bức xạ (định luật Bouguer – Lambert – Beer): Trong đó: A: mật độ quang.
A= lg I 0 = .l.C
I
thụ.
I0, I: cường độ ánh sáng trước và sau khi bị nguyên tử tự do hấp
: hệ số hấp thụ mol phân tử, phụ thuộc bước sóng . l: độ dày lớp hơi nguyên tử.
- Độ chính xác của phép đo phổ hấp thụ nguyên tử rất cao.
- Phương pháp phân tích đơn giản, nhanh, đôi khi không cần sinh chế mẫu, áp dụng rộng rãi trong nhiều lĩnh vực khoa học.
II.1.2. Điều kiện tạo thành phổ hấp thụ nguyên tử: [11]
II.1.2.1. Quá trình nguyên tử hoá:
- Biến một chất ở trạng thái tập hợp bất kì thành trạng thái nguyên tử tự do gọi là quá trình nguyên tử hoá.
- Giả thiết kim loại nghiên cứu Me nằm trong dung dịch ở dạng muối MeX. Dung dịch MeX được phun vào ngọn lửa đèn khí ở dạng aeroson. Trong ngọn lửa đèn khí sẽ xảy ra quá trình nhiệt phân: MeX Me + X
- Trong ngọn lửa có thể xảy ra quá trình ion hoá nguyên tử tạo thành làm giảm độ nhạy của phép phân tích. Để hạn chế sự ion hoá này, phải đưa vào dung dịch phân tích các chất dễ bị ion hoá để tăng “nền electron” trong bầu khí.
II.1.2.2. Các phương pháp nguyên tử hoá:
* Nguyên tử hoá mẫu bằng ngọn lửa:
- Người ta dùng năng lượng nhiệt của ngọn lửa đèn khí để hóa hơi và nguyên tử hoá mẫu phân tích. Vì thế mọi quá trình xảy ra trong khi nguyên tử hoá mẫu phụ thuộc vào các đặc trưng và tính chất của ngọn lửa đèn khí, nhưng chủ yếu là nhiệt độ của ngọn lửa. Đó là yếu tố quyết định hiệu suất nguyên tử hoá mẫu phân tích và mội yếu tố ảnh hưởng đến nhiệt độ của ngọn lửa đèn khí đều ảnh hưởng đến kết quả của phương pháp phân tích.
- Trong phép đo phổ hấp thụ nguyên tử, ngọn lửa là môi trường hấp thụ. Nó có nhiệm vụ hoá hơi nguyên tử hoá mẫu phân tích, tạo ra đám hơi của các nguyên tử tự do có khả năng hấp thụ bức xạ đơn sắc để tạo ra phổ hấp thụ nguyên tử, vì thế ngọn lửa đèn khí được dùng vào mục đích để hoá hơi và nguyên tử hoá mẫu phân tích thì:
+ Ngọn lửa đèn khí phải làm nóng đều được mẫu phân tích.
+ Ngọn lửa đèn khí phải đủ lớn và ổn định theo thời gian.
+ Ngọn lửa đèn khí phải thuần khiết.
+ Ngọn lửa đèn khí phải có bề dày đủ lớn.
* Nguyên tử hoá mẫu không dùng ngọn lửa:
- Kĩ thuật nguyên tử hoá mẫu không dùng ngọn lửa hiện nay đang được ứng dụng rất rộng rãi vì có độ nhạy rất cao. Do vậy, khi phân tích lượng vết các kim loại trong nhiều trường hợp không cần thiết phải làm giàu sơ bộ các nguyên tố cần xác định. Đặc biệt là khi xác định các nguyên tố vi lượng trong các loại mẫu của y học, sinh học ….
- Tuy nhiên, độ ổn định của phép đo không dùng ngọn lửa kém hơn phép đo dùng ngọn lửa. Ảnh hưởng của phổ nền thường rất lớn. Khoa học phát triển, thì việc khắc phục những nhược điểm này là không khó khăn.
- Phép đo không ngọn lửa đòi hỏi một lượng mẫu tương đối nhỏ (mỗi lần đo khoảng 20 - 50 L).
- Nguyên tử hoá mẫu không dùng ngọn lửa là quá trình nguyên tử hoá tức khắc trong thời gian rất ngắn nhờ năng lượng của dòng điện công suất lớn và trong môi trường khí trơ.
II.1.2.3. Sự hấp thụ bức xạ cộng hưởng:
- Khi hướng vào lớp hơi nguyên tử tự do Me chùm bức xạ điện từ (chính là các tia phát xạ phát ra từ đèn catot rỗng làm bằng chính kim loại cần xác định) có tần số đúng bằng tần số cộng hưởng của nguyên tố kim loại Me, sẽ xảy ra hiện tượng hấp thụ cộng hưởng để chuyển lên các mức năng lượng
kích thích gần nhau: Me + h
Me*
Quá trình này tuân theo định luật Bouguer – Lambert – Beer.
- Trong phổ hấp thụ nguyên tử, chỉ một số nguyên tử có khả năng hấp thụ bức xạ cộng hưởng thực tế bằng số nguyên tử chung của nguyên tố cần xác định và ít bị ảnh hưởng của nhiệt độ nguồn nhiệt nên phương pháp này có độ nhạy cao.
II.1.2.4. Phương pháp phân tích quang phổ hấp thụ nguyên tử:

Hình 2.1: Sơ đồ khối của phổ kế hấp thụ nguyên tử dùng ngọn lửa
1. Nguồn bức xạ (đèn catot) 4. Detector quang
2. Đèn 5. Cấu trúc ghi phổ
3. Máy lọc ánh sáng đơn sắc
- Cấu tạo của đèn catot rỗng:

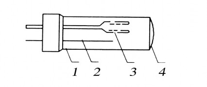
Hình 2.2: Đèn catot rỗng
1. Bóng thuỷ tinh 2. Anot
3. Catot 4. Cửa sổ thạch anh
Đèn catot rỗng là một bóng thuỷ tinh hình trụ, đường kính 3 - 5cm, có cửa sổ bằng thuỷ tinh hay thạch anh. Anot được chế tạo từ thanh kim loại. Cả hai cực được đặt trong bóng thuỷ tinh có chứa khí trơ (agon hay neon) với áp suất không lớn (0,2 – 2MPa). Đèn catot rỗng được nối với dòng điện 300 – 500V, ổn định và phải có độ ổn định cao. Dòng phóng của đèn thường là vài miliampe. Khi đèn làm việc, mật độ dòng ở mặt bên trong catot cao hơn mặt ngoài. Vì vậy tại lỗ mở của catot sẽ phát sáng. Catot của đèn được chế tạo từ kim loại, hợp kim khó nóng chảy có chứa nguyên tố cần xác định.
- Việc giảm cường độ của bức xạ cộng hưởng do hiện tượng hấp thụ của các nguyên tử tự do của nguyên tố nghiên cứu tuân theo định luật hấp thụ bức xạ nguyên tử Bouguer - Lambert - Beer:
A= lg I 0 = .l.C
I
Mật độ quang tỷ lệ thuận với nồng độ chất nghiên cứu trong mẫu. Ta xác định định lượng theo 2 phương pháp:
+ Phương pháp đường chuẩn: Người ta đo mật độ quang của vài dung dịch chuẩn rồi xây dựng đồ thị A = f(CTC). Sau đó đo mật độ quang của dung dịch nghiên cứu với cùng điều kiện đã đo dung dịch chuẩn rồi dựa vào đồ thị để xác định CX của dung dịch nghiên cứu.
+ Phương pháp thêm: Tiến hành như trong phép đo phổ phát xạ
nguyên tử, chỉ khác là thay cho S (độ đen), ta xây dựng sự phụ thuộc mật
độ quang tại vạch phổ cộng hưởng ( ): 0.
A= f(CCT) và ngoại suy đến
A=
A
X
Nếu dùng một dung dịch chuẩn, đầu tiên đo của dung dịch nghiên cứu,
sau đó thêm vào dung dịch nghiên cứu một nồng độ của dung dịch tiêu chuẩn nguyên tố nghiên cứu, đo mật độ quang của dung dịch đã thêm được AX + Ch.
Từ các kết quả đó ta có:
X
AX = .l.C
X
AX + Ch = .l.(C
Cch )
CX = Cch
AX
AX ch AX
II.1.3. Các loại trừ sai số do các nguyên tố đi kèm và sai số phông:[11]
Trong phép đo phổ hấp thụ nguyên tử, người ta khắc phục sai số phông bằng cách dùng 2 phương pháp hiệu chỉnh sai số của phông nền như sau:
- Hiệu chỉnh sai số phông dùng đèn đơteri (hiệu chỉnh ánh sáng có bước sóng liên tục).
- Phương pháp tự đảo: ở đây dòng điện ánh sáng có cường độ thấp, ta đo được tổng tín hiệu của hấp thụ nguyên tử và tín hiệu phông. Còn khi dùng dòng điện ánh sáng có cường độ cao xuất hiện tín hiệu hấp thụ của phông. Sau đó máy tự động trừ đi tín hiệu tổng phần tín hiệu phông và nhờ vậy ta chỉ đo được tín hiệu hấp thụ nguyên tử của nguyên tố nghiên cứu.
II.2. CÂU HỎI:
Câu 1: Hãy cho biết nguyên tắc của phép đo AAS? HDTL:
Phương pháp phân tích dựa trên cơ sở đo phổ hấp thụ nguyên tử của một nguyên tố được gọi là phép đo phổ hấp thụ nguyên tử (phép đo AAS).
Cơ sở lý thuyết của phép đo này là sự hấp thụ năng lượng (bức xạ đơn sắc) của nguyên tử tự do ở trạng thái hơi (khí) khi chiếu chùm tia bức xạ qua đám hơi của nguyên tố ấy trong môi trường hấp thụ. Để thực hiện phép đo AAS phải thực hiện 3 nguyên tắc sau:
+ Chọn các điều kiện và một loại trang bị phù hợp để chuyển mẫu phân tích từ trạng thái ban đầu (rắn hay dung dịch) thành trạng thái hơi của các nguyên tử tự do. Đó là quá trình hoá hơi và nguyên tử hoá mẫu.
+ Chiếu chùm tia sáng bức xạ đặc trưng của nguyên tố cần phân tích qua đám hơi nguyên tử vừa điều chế được ở trên. Các nguyên tử của nguyên tố cần xác định trong đám hơi đó sẽ hấp thụ chọn lọc những bức xạ nhất định và tạo ra phổ hấp thụ của nó. Ở đây, phần cường độ của chùm tia sáng đã bị nguyên tử hấp thụ phụ thuộc vào nồng độ của nó trong môi trường hấp thụ. Nguồn cung cấp chùm tia sáng phát xạ của nguyên tố cần nghiên cứu được gọi là nguồn phát bức xạ đơn sắc hay bức xạ cộng hưởng.
+ Tiếp đó, nhờ một hệ thống máy quang phổ, người ta thu toàn bộ chùm sáng, phân li và chọn một vạch phổ hấp thụ của nguyên tố cần nghiên cứu để đo cường độ của nó. Cường độ đó chính là tín hiệu hấp thụ của vạch phổ hấp thụ nguyên tử. Trong một giới hạn nhất định của nồng độ C, giá trị cường độ này là phụ thuộc tuyến tính vào nồng độ C của nguyên tố ở trong mẫu phân tích theo phương trình:
A= a.Cb a = K.Ka : hằng số thực
nghiệm
b: hằng số bản chất, 0 < b 1 Thông thường, người ta thường sử dụng trong khoảng nhiệt độ để b = 1 (không phụ thuộc tuyến tính) để ứng dụng phân tích.
Câu 2: Để thực hiện được phép đo phổ hấp thụ nguyên tử, hệ thống máy đo phổ hấp thụ nguyên tử phải bao gồm các phần cơ bản nào?
HDTL:
Muốn thực hiện được phép đo phổ hấp thụ nguyên tử, hệ thống máy đo phổ hấp thụ nguyên tử phải bao gồm 4 phần cơ bản sau:
+ Phần 1: Nguồn phát tia phát xạ công hưởng (vạch phổ phát xạ đặc trưng của nguyên tố cần phân tích), để chiếu vào môi trường hấp thụ chứa các nguyên tử tự do của nguyên tố. Đó chính là các đèn catot rỗng (HCL), các đèn phóng điện không cực (EDL), hay nguồn phát bức xạ liên tục đã được biến điệu.
+ Phần 2: Hệ thống nguyên tử hoá mẫu phân tích. Hệ thống này được chế tạo theo hai loại kỹ thuật nguyên tử hoá mẫu. Đó là kỹ thuật nguyên tử hoá bằng ngọn lửa đèn khí (lúc này ta có phép đo F - AAS) và kỹ thuật nguyên tử hoá không ngọn lửa (lúc này có phép đo ETA - AAS).
+ Phần 3: Là máy quang phổ, nó là bộ đơn sắc, có nhiệm vụ thu, phân li và chọn tia sáng (vạch phổ) cần đo hướng vào nhân quang điện để phát tín hiệu hấp thụ AAS của vạch phổ.
+ Phần 4: Là hệ thống chỉ tín hiệu hấp thụ của vạch phổ (tức là cường độ của vạch phổ hấp thụ hay nồng độ nguyên tố phân tích). Hệ thống này có thể là các trang bị:
- đơn giản nhất là một điện kế chỉ năng lượng hấp thụ (E) của vạch phổ.
- một máy tự ghi pic của vạch phổ.
- hoặc bộ hiện số digiltal.
- hay bộ máy in (printer).
- hoặc máy tích phân.
Câu 3: Hãy nêu những ưu, nhược điểm của phép đo AAS? HDTL:
* Ưu điểm:
- Phép đo phổ hấp thụ nguyên tử có độ nhạy và độ chọn lọc cao. Gần 60 nguyên tố hoá học có thể được xác định bằng phương pháp này với độ nhạy từ 1.10-4 đến 1.10-5 %. Đặc biệt, nếu sử dụng kỹ thuật





