Chú thích.
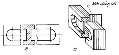
- Để thể hiện một phần cấu tạo bên trong của vật thể thì cho phép vẽ hình cắt riêng phần của phần đó, hình cắt này gọi là hình cắt riêng phần. Hình cắt riêng phần có thể đặt ngay ở vị trí tương ứng trên hình chiếu cơ bản.(hình 7.8).

Hình 7.8. Hình cắt riêng phần
- Để giảm bớt số lượng hình vẽ cho phép ghép phần hình chiếu với phần hình cắt hoặc các phần hình cắt với nhau thành một hình biểu diễn theo cùng một hướng chiếu gọi là hình cắt kết hợp (hình 7.9).

Hình 7.10. Hình cắt kết hợp
7.2.2. Ứng dụng của hình cắt
Mỗi loại hình cắt đều có những đặc điểm riêng của nó. Khi vẽ, ta cần căn cứ theo cấu tạo của vật thể và mục đích thể hiện để chọn loại hình cắt thích hợp.
Sau đây nêu lên một số thí dụ về cách sử dụng một số loại hình cắt thường dùng và những quy định về cách vẽ hình cắt.
a) Hình cắt đứng, hình cắt bằng, hình cắt cạnh là loại hình cắt đơn giản, dùng thể hiện toàn bộ hình dạng bên trong của vật thể (hình 7.2; 7.3; 7.4).
b) Hình chiếu và hình cắt kết hợp thể hiện nhiều phần cấu tạo khác nhau của vật thể trên cùng một mặt phẳng hình chiếu cơ bản.
- Trường hợp ghép một nửa hình chiếu và một nửa hình cắt.
Nếu trục đối xứng không trùng với nét cơ bản thì dùng trục đối xứng làm đường phân cách giữa phần hình chiếu với phần hình cắt (hình 7.10).

a) b) c) Hình 7.10. Hình chiếu và hình cắt kết hợp
Nếu vật thể hay một bộ phận vật thể có trụ hình học (trục của hình tròn xoay) thì trục đó được xem như trục đối xứng của hình biểu diễn và được dùng làm đường phân cách khi ghép hình chiếu với hình cắt (hình 7.11).
Hình 7.11
Nếu nét cơ bản trùng với trục đối xứng thì tuỳ theo trường hợp cụ thể mà dùng nét lượn sóng làm đường phân cách giữa phần hình chiếu với phần hình cắt cho thích hợp. Cụ thể:
- Nếu nét cơ bản trùng ở phía ngoài thì nét lượn sóng sẽ sang phần hình cắt (hình 7.12 a).
- Nếu nét cơ bản trùng ở phía trong thì nét lượn sóng sẽ về phía phần hình chiếu (hình 7.12 b).
- Nếu trục đối xứng trùng với nét cơ bản cả phía ngoài và phía trong thì nét lượn sóng vẽ ở mỗi phần một nửa (hình 7.12 c).
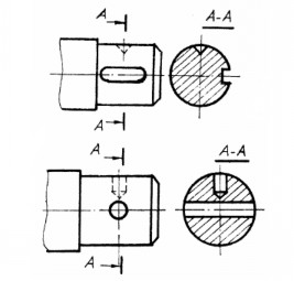
Trường hợp hình chiếu và hình cắt không có chung trục đối xứng thì vẫn có thể ghép một phần hình chiếu và một phần hình cắt và đường phân cách là nét lượn sóng (hình 7.13).
b) |
c) |
Có thể bạn quan tâm!
-
Hình Chiếu Trục Đo Của Các Hình Song Song Với Mặt Xoz -
Ổ Đỡ Hình 6.6. Chia Ổ Đỡ Thành Các Phần -
Một Số Chú Ý Khi Ghi Kích Thước -
Vẽ kỹ thuật - ĐH SPKT Nam Định - 14
Xem toàn bộ 116 trang tài liệu này.

Hình 7.12

Hình 7.13
Trong trường hợp hình chiếu và nhiều hình cắt của vật thể trên một hình chiếu cơ bản nào đó có chung hai trục đối xứng thì có thể ghép một phần hình chiếu với hai hay ba phần hình cắt thành một hình biểu diễn và lấy hai trục đối xứng làm đường phân cách (hình 7.14).

Hình 7.14
Khi sử dụng hình cắt nghiêng phải đặt theo đúng hướng nhìn đã được chỉ dẫn theo mũi tên đặt cạnh nét cắt. Hình cắt nghiêng có thể đặt ở vị trí bất kỳ trong bản vẽ
và có thể xoay về vị trí phù hợp với hình biểu diễn chính, nhưng ở phía trên chữ ký hiệu của hình cắt phải vẽ thêm mũi tên cong để biểu thị hình cắt đã xoay (hình 7.15).

Hình 7.15
Khi sử dụng hình cắt bậc thì mặt cắt trung gian nối giữa các mặt phẳng cắt song song không cần phải thể hiện ở trên hình cắt và đảm bảo cho các phần cần biểu diễn thể hiện hoàn toàn trên cùng một hình cắt.
Khi sử dụng hình cắt xoay thì phải xoay mặt phẳng cắt trùng với nhau thành một mặt phẳng (thường xoay về trùng với mặt phẳng cắt song song với mặt phẳng hình chiếu cơ bản). Khi xoay mặt phẳng cắt thì xoay cả các phần có liên quan khi mặt phẳng cắt đi qua, còn các phần khác vẫn chiếu như trước khi cắt.
7.2.3. Ký hiệu và quy ước về hình cắt
7.2.3.1. Ký hiệu
- Vị trí các mặt phẳng cắt trong hình cắt được biểu thị bằng nét khuất (bề rộng bằng 1,5 b). Các nét cắt đặt ở chỗ đầu, chỗ cuối và chỗ chuyển tiếp của các mặt phẳng cắt. Các nét cắt không được cắt đường bao của hình biểu diễn (hình 7.16).

Hình 7.16
- Nét cắt đầu và nét cắt cuối có mũi tên để chỉ hướng nhìn. Mũi tên vẽ vuông góc với nét cắt , đầu mũi tên chạm vào khoảng giữa nét cắt
- Phía trên hình cắt có ghi chữ hoa chỉ tên mặt cắt tương ứng (ví dụ: A - A, B – B …)
7.2.3.2. Quy ước
- Đối với hình cắt đứng, hình cắt bằng, hình cắt cạnh nếu mặt phẳng cắt trùng với trục đối xứng của vật thể và vẽ trực tiếp trên hình biểu diễn tương ứng thì không cần ghi chú và ký hiệu về hình cắt.
- Khi cắt dọc qua gân, thành mỏng, trục đặc, nan hoa, bánh răng, puly... thì không cần
gạch ký hiệu vật liệu (hình 7.17).
Hình 7.17
7.2.4. Ký hiệu vật liệu trên mặt cắt
TCVN 0007 : 1993 quy định ký hiệu vật liệu tên mặt cắt như sau:
- Kí hiệu chung của các vật liệu trên mặt cắt không phụ thuộc vào loại vật liệu và được thể hiện như hình 7.18.
Hình 7.18
- Trên mặt cắt, nếu cần chỉ rò loại vật liệu thì dùng các kí hiệu nêu trong bảng 7.1.
- Các đường gạch gạch chỉ ký hiệu vật liệu của mặt cắt vẽ song song với nhau và nghiêng 45o so với đường bao hoặc đường trục của hình biểu diễn hoặc so với đường bằng của bản vẽ. Nếu đường gạch gạch nghiêng 45o trùng với đường bao hoặc đường trục thì cho phép gạch nghiêng góc 30o hoặc 60o (hình 7.19).

Hình 7.19
- Trên bản vẽ vẽ theo cùng tỷ lệ thì ký hiệu vật liệu phải giống nhau, nghĩa là cùng phương và cùng khoảng cách (khoảng cách giữa các đoạn gạch lấy từ 2-10mm). Nếu có nhiều chi tiết lắp ghép với nhau khi biểu diễn hình cắt thì đường gạch gạch trên
các mặt cắt đó được kẻ theo các phương khác nhau hoặc có khoảng cách khác nhau (hình 7.20).

Hình 7.20
Bảng 7.1
Tên vật liệu | |
Kim loại | |
Đất thiên nhiên | |
Đá | |
Gạch các loại | |
Bê tông | |
Bê tông cốt thép | |
Gỗ | |
Chất dẻo, vật liệu cách điện, cách nhiệt, cách ẩm, vật liệu bịt kín. | |
Chất lỏng |
- Những mặt cắt có bề rộng nhỏ hơn 2mm thì được tô đen (trừ chất lỏng và vật liệu trong suốt). Nếu các mặt cắt này được đặt cạnh nhau thì giữa chúng để nét trắng.
- Những mắt cắt có diện tích lớn cho phép vẽ ký hiệu vật liệu ở vùng biên mặt cắt đó (hình 7.21).
Hình 7.21
7.3. Mặt cắt
7.3.1. Định nghĩa
Mặt cắt là hình biểu diễn nhận được trên mặt phẳng cắt, khi ta tưởng được dùng mặt phẳng này cắt qua vật thể (hình 7.1, d).
Mặt phẳng cắt chọn sao cho nó vuông góc với chiều dài của vật thể bị cắt.
Mặt cắt dùng để thể hiện hình dạng và cấu tạo phần tử bị cắt mà trên các hình chiếu khó thể hiện.
7.3.2. Phân loại mặt cắt
Mặt cắt được chia ra mặt cắt thuộc hình cắt (theo định nghĩa của hình cắt) và mặt cắt không thuộc hình cắt. Các mặt cắt không thuộc hình cắt gồm có:
6.3.2.1.Mặt cắt rời
Là mặt cắt đặt ở ngoài hình biểu diễn tương ứng (hình 7.22).

Hình 7.22. Mặt cắt rời
- Mặt cắt rời có thể đặt ở giữa phần cắt lìa của một hình chiếu nào đó (hình 7.23).
- Đường bao của mặt cắt rời được vẽ bằng nét liền đậm. Mặt cắt rời dùng để thể hiện những phần tử có đường bao mặt cắt phức tạp.
- Mạt cắt rời thường đặt dọc theo đường kéo dài của nét cắt và đặt gần hình biểu diễn tương ứng. Nhưng cũng có thể đặt ở vị trí bất kỳ trên bản vẽ.
6.3.2.2. Mặt cắt chập
Là mặt cắt đặt ngay trên hình biểu diễn tương ứng (hình 7.24).
- Đường bao của mặt cắt chập được vẽ bằng nét liền mảnh. Các đường bao tại chỗ đặt mặt cắt của hình biểu diễn vẫn vẽ đầy đủ.
- Mặt cắt chập dùng cho những phần tử có đường bao mặt cắt đơn giản.

Hình 7.23. Mặt cắt rời đặt ở giữa hình chiếu

Hình 7.24. Mặt cắt chập
7.3.3. Ký hiệu và những quy định về mặt cắt
Cách ghi chú trên mặt cắt cũng giống như cách ghi chú trên hình cắt, cần có nét cắt xác định vị trí mặt phẳng cắt, mũi tên chỉ hướng nhìn và chữ ký hiệu mặt cắt (hình 7.25).







