Để kích thước ghi trên bản vẽ được rò ràng, phân bố kích thước phải hợp lý.
Khi ghi cần chú ý một số điểm sau (hình 6.9):
- Mỗi kích thước chỉ được ghi một lần trên bản vẽ. Không cần ghi các kích thước của giao tuyến
- Các kích thước định hình của bộ phận nào nên ghi trên hình biểu diễn thể hiện rò đặc trưng hình dạng của bộ phận đó.
- Những kích thước có liên quan, biểu thị cùng một bộ phận của vật thể nên ghi gần nhau.
- Những kích thước của cấu tạo bên trong và bên ngoài nên ghi về hai phía của hình biểu diễn.
- Mỗi kích thước nên ghi ở bên ngoài hình biểu diễn và ghi tập trung ở trên một số hình biểu diễn, nhất là trên hình chiếu chính.
Ø
Ø
Ø
Có thể bạn quan tâm!
-
Cách Vẽ Giao Của Lăng Trụ Chiếu Đứng Với Mặt Cầu -
Hình Chiếu Trục Đo Của Các Hình Song Song Với Mặt Xoz -
Ổ Đỡ Hình 6.6. Chia Ổ Đỡ Thành Các Phần -
Vẽ kỹ thuật - ĐH SPKT Nam Định - 13 -
Vẽ kỹ thuật - ĐH SPKT Nam Định - 14
Xem toàn bộ 116 trang tài liệu này.
Hình 6.9. Một số chú ý khi ghi kích thước
6.4. Cách đọc bản vẽ hình chiếu của vật thể
Từ các hình chiếu thẳng góc của vật thể hình dung nên vật thể thật trong không gian ba chiều và biết được đầy đủ các kích thước và yêu cầu kỹ thuật khi gia công hay lắp ráp.
Phương pháp đọc bản vẽ như sau:
- Phải xác định đúng hướng nhìn cho từng hình biểu diễn. Theo các hướng nhìn từ trước, từ trên, từ trái để hình dung hình dạng: mặt trước, mặt trên, mặt trái… của vật thể.
- Phải nắm chắc đặc điểm hình chiếu của các khối hình học cơ bản, rồi căn cứ theo các hình chiếu mà chia vật thể thành một số bộ phận. Phân tích hình dạng từng bộ phận đi đến hình dung toàn bộ vật thể.
- Phải phân tích được ý nghĩa từng đường nét thể hiện trên các hình chiếu. Nét liền đậm, nét đứt, nét chấm gạch… mỗi nét thể hiện đường nào đó của vật thể.
- Đối với những vật thể không dễ phân tích thành các bộ phận, có thể dùng cách phân tích đường, mặt. Ta biết rằng, bất kỳ một vật thể nào cũng được giới hạn bởi một
số mặt. Các mặt đó có vị trí tương đối khác nhau, chúng có thể song song với nhau hay cắt nhau. Nếu chúng song song với nhau thì có mặt ở trên có mặt ở dưới, hay có mặt ở trước có mặt ở sau.
Ở trên các hình chiếu, mỗi đường khép kín thể hiện một mặt. Hai đường khép kín kề nhau hay bao quanh nhau thể hiện hai mặt của vật thể.
Ví dụ, đọc bản vẽ của ổ đỡ (hình 6.8)
- Căn cứ theo ba hình chiếu, chia vật thể thành 3 phần (hình 6.8a).
- Phần ổ ở trên, dạng hình hộp, giữa có rãnh nửa trụ (hình 6.8b).
- Phần sườn ở hai bên, dạng khối lăng trụ đáy tam giác (hình 6.8c).
- Phần đế ở dưới, dạng hình hộp có lỗ trụ ở hai bên và có gờ hình hộp ở phía trước (hình 6.8d).
Kết quả là hình dung ra ổ đỡ như hình chiếu trục đo (hình 6.8e)
CÂU HỎI ÔN TẬP, BÀI TẬP
1. Trình bày các loại hình chiếu cơ bản. Vẽ hình minh hoạ.
2. Thế nào là cách phân tích hình dạng của vật thể? Dùng cách phân tích hình dạng của vật thể để làm gì
3. Thế nào là kích thước định hình và định vị.
4. Nêu trình tự cách đọc bản vẽ hình chiếu vật thể.
5. Vẽ ba hình chiếu của vật thể từ các hình chiếu trục đo cho trong các hình 6.10; 6.11; 6.12; 6.13, 6.14, 6.15.
Hình 6.10 | Hình 6.11 | |||||||||||||||
Hình 6.12 | Hình 6.13 | |||||||||||||||
Hình 6.14 | Hình 6.15 |
6. Vẽ hình chiếu thứ ba và vẽ hình chiếu trục đo của các vật thể cho từ hai hình chiếu vuông góc trong các hình 6.15; 6.16
Hình 6.16 |
Chương 7
HÌNH CẮT VÀ MẶT CẮT
7.1. Khái niệm về hình cắt và mặt cắt
Đối với những vật thể có kết cấu phức tạp, có nhiều lỗ, rãnh nếu dùng nhiều nét đứt để biểu diễn sẽ làm cho bản vẽ khó đọc, đồng thời không tiện cho việc ghi kích thước. Để khắc phục điều đó, bản vẽ kỹ thuật dùng các hình biểu diễn khác, gọi là hình cắt và mặt cắt (hình 7.1).

a)

b) c) d)
Hình 7.1
Nội dung của phương pháp hình cắt và mặt cắt như sau:
Để biểu diễn hình dạng bên trong của một vật thể, nếu giả sử rằng dùng mặt phẳng tưởng tượng cắt qua phần cấu tạo bên trong như lỗ, rãnh… của vật thể và vật thể bị cắt làm hai phần. Sau khi lấy đi phần vật thể nằm giữa người quan sát và mặt phẳng cắt, rồi chiếu vuông góc phần vật thể còn lại lên mặt phẳng hình chiếu song song với mặt phẳng cắt, sẽ được một hình biểu diễn gọi là hình cắt (hình 7.1b). Nếu chỉ vẽ phần của vật thể tiếp xúc với mặt phẳng cắt mà không vẽ phần vật thể ở phía sau mặt phẳng cắt thì hình biểu diễn đó gọi là mặt cắt (hình 7.1c).
Hình cắt và mặt cắt được quy định theo TCVN 5 – 78. Tiêu chuẩn này tương ứng với ISO 128: 1992 – Nguyên tắc chung về biểu diễn.
Cần chú ý rằng mặt phẳng cắt chỉ là mặt phẳng tưởng tượng. Việc cắt đó chỉ có tác dụng đối với một hình cắt hay mặt cắt nào đó, còn các hình biểu diễn khác không bị ảnh hưởng gì đối với việc cắt đó.
7.2. Hình cắt
7.2.1. Định nghĩa hình cắt
Hình cắt là hình biểu diễn phần còn lại của vật thể sau khi đã tưởng tượng cắt bỏ phần vật thể giữa mặt phẳng cắt và người quan sát.
7.2.2. Phân loại hình cắt
7.2.2.1. Theo vị trí mặt phẳng cắt
a. Hình cắt đứng
Nếu mặt phẳng cắt song song với mặt phẳng hình chiếu đứng (hình 7.2).

Hình 7.2. Hình cắt đứng
b. Hình cắt bằng
Nếu mặt phẳng cắt song song với mặt phẳng hình chiếu bằng. (hình 73 )

Hình 7.3. Hình cắt bằng
c. Hình cắt cạnh
Nếu mặt phẳng cắt song song với mặt phẳng hình chiếu cạnh. (hình 7.4)

Hình 7.4. Hình cắt bằng
d. Hình cắt nghiêng
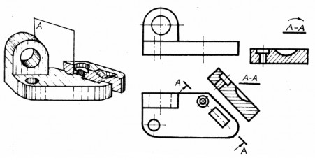
Nếu mặt phẳng cắt không song song với các mặt phẳng hình chiếu cơ bản (hình 7.5).

Hình 7.5. Hình cắt nghiêng
* Chú ý: Các hình cắt đứng, bằng, cạnh có thể đặt ngay ở vị trí hình chiếu tương ứng.
7.2.2.2. Theo số lượng mặt phẳng cắt
a. Hình cắt đơn giản
Là hình cắt chỉ có một mặt phẳng cắt.
+ Nếu mặt phẳng cắt cắt dọc theo chiều dài hay chiều cao của vật thể thì gọi là hình cắt dọc (hình 7.2).
+ Nếu mặt phẳng cắt vuông góc với chiều dài hay chiều cao của vật thể thì gọi là hình cắt ngang (hình 7.4).
b. Hình cắt phức tạp
Là hình cắt có hai mặt phẳng cắt trở lên.
- Nếu các mặt phẳng cắt song song với nhau gọi là hình cắt bậc
(hình 7.6).

Hình 7.6. Hình cắt bậc
- Nếu các mặt phẳng cắt giao nhau thì gọi là hình cắt xoay (hình 7.7).

Hình 7.7. Hình cắt xoay





