g
n V0 .Kl
, gàu (3.9)
K xđ .E
và Q V .K . 60.Tca ., m3/ca (3.10)
ô o v
Tco
Trong đó: ng - số gàu xúc đầy ôtô, gàu; Vo - dung tích thùng xe, m3 ; Kl - hệ số lèn chặt của đất đá trong thùng xe do tải trọng động của đất đá khi gàu xúc rơi vào thùng và được xác định như sau [14]:
K Kr thùngxe
Có thể bạn quan tâm!
-
Đối Với Nhóm Các Phương Pháp, Thuật Toán Trong Nước Sử Dụng Để Tính Toán Sự Phối Hợp Giữa Máy Xúc – Ôtô: -
Các Yếu Tố Ảnh Hưởng Tới Hiệu Quả Phối Hợp Giữa Máy Xúc Và Ôtô Trên Các Mỏ Than Lộ Thiên Vùng Quảng Ninh -
Các Giải Pháp Tối Ưu Hóa Sự Phối Hợp Giữa Máy Xúc Và Ôtô Trên Các Mỏ Lộ Thiên -
Minh Họa Quá Trình Lựa Chọn Đồng Bộ Máy Xúc - Ôtô Hoàn Toàn Mới -
Các Giá Trị Tính Toán Theo Từng Cặp Máy Xúc - Ôtô Trên Phần Mềm Ost -
Đồ Thị Xác Định Các Giá Trị Đồng Bộ Máy Xúc - Ôtô Cho Mỏ Than Cao Sơn Với Các Thiết Bị Có Sẵn Của Mỏ
Xem toàn bộ 217 trang tài liệu này.
l K
(3.11)
r gàu xúc
Trong đó: Kr thùng xe - hệ số nở rời của đất đá trong thùng xe; Kr gàu xúc - hệ số nở rời của đất đá trong gàu xúc.
Kxđ - hệ số xúc đầy gầu của máy xúc; E - dung tích gàu xúc, m3; Kv - hệ số sử dụng dung tích thùng xe và được xác định [5]:
K ng .E.K xđ .Kl
vv
(3.12)
0
Với: ng - số gàu xúc đầy ôtô; Tca - thời gian làm việc trong 1 ca, giờ, - hệ số sử dụng thời gian; Tco - thời gian chu kỳ của một chuyến xe, ph:
Tco = tnt + tct + tkt + tdô + tm + tg, ph (3.13)
Trong đó: tnt - thời gian nhận tải được tính theo công thức sau:
tnt ng
. Tc
3600
, ph (3.14)
Trong đó: ng - số gàu xúc đầy ôtô, gàu; Tc - thời gian chu kỳ xúc của máy xúc, s; tct - thời gian xe chạy có tải, ph:
t S
, ph (3.15)
v
ct
ct
Với: S - cung độ vận tải, km; vct - vận tốc xe chạy có tải, km/h; tkt - thời gian xe chạy không tải, ph:
t S
, ph (3.16)
v
kt
kt
Với: S - cung độ vận tải, km; vkt - vận tốc xe chạy không tải, km/h; tdô - thời gian dỡ tải của ôtô, ph; tm - thời gian chờ đợi và trao đổi xe, ph; tg - thời gian trao đổi xe ở gương, ph.
b. Trường hợp 2 (TH2): Nếu
trọng của xe [2] , [8], [21]:
q0 thì năng suất ôtô được tính theo tải
V0
Số gàu xúc đầy ôtô (được làm tròn) như sau [2] , [8], [21]:
n q0 .Krg
, gàu (3.17)
xđ
g E.K .
và Qô
qo .Kq
. 60.Tca ., m3/ca (3.18)
.Tco
Trong đó: ng - số gàu xúc đầy ôtô, gàu; qo - tải trọng của xe, tấn ; Krg - hệ số nở rời trong gàu xúc; E - dung tích gàu xúc, m3; Kxđ - hệ số xúc đầy gầu của máy xúc; - trọng lượng riêng của vật liệu xúc bốc, vận tải, t/m3; Kq - hệ số sử dụng tải
trọng của ôtô và được xác định [5]:
K ng .E.K xđ .
q q .K
(3.19)
0 rg
Với: ng - số gàu xúc đầy ôtô; Tca - thời gian làm việc trong 1 ca, giờ, - hệ số sử dụng thời gian; Tco - thời gian chu kỳ của một chuyến xe (tính theo 3.13).
3.3.3. Tính toán năng suất đồng bộ
3.3.3.1. Sử dụng chu trình vận tải kín
Chu trình vận tải kín là chu trình vận tải có số ôtô phục vụ cho 1 máy xúc là cố định. Như vậy năng suất đồng bộ lớn nhất trong trường hợp này khi năng suất của máy xúc làm việc trong 1 ca sẽ cân bằng năng suất của tổng số ôtô phục vụ cho 1 máy xúc đó trong 1 ca.
a. Nếu xảy ra TH1 thì năng suất đồng bộ máy xúc - ôtô lớn nhất sẽ là:
3600.E
60.Tca .
Tc
.K x .Kcn .Tca .
i
Vo.Kv.
Tco
.Nô
j
(3.20)
Trong đó: Nô - số ôtô cần thiết phục vụ cho 1 máy xúc để đạt năng suất đồng bộ tối đa, Nô = 1…n; i - số loại máy xúc có trong danh mục (database), i = 1…m; j - số loại ôtô có trong database, j = 1…k.
Vế trái của đẳng thức (3.20) được xác định theo công thức (3.3) và (3.4);
Vế phải của đẳng thức (3.20) có biến Nô chạy từ 1 đến n. Khi nào giá trị vế phải của đẳng thức (3.20) lớn hơn giá trị của vế trái thì biến Nô dừng lại và giá trị Nô được chọn là giá trị trước đó 1 đơn vị và đó chính là số ôtô thứ j cần thiết phục vụ cho 1 máy xúc.
Sau khi xác định được giá trị Nô và tính giá trị vế phải đẳng thức (3.23), xác định hệ số đồng bộ năng suất máy xúc thứ i với ôtô thứ j:
3600.E
T .K x .Kcn .Tca .
A c i
(3.21)
đbij
60.T .
Vo.Kv. ca .Nô
Tco j
Với điều kiện Ađbij tiệm cận 1 thì hiệu quả đồng bộ máy xúc - ôtô là tối ưu.
Sau khi xác định hệ số đồng bộ Ađbij, có 1 ma trận Xij với i là số loại máy xúc có trong database, j là số loại ôtô có trong database.
Năng suất đồng bộ máy xúc - ôtô tối ưu nhất là năng suất đồng bộ có hệ số đồng bộ Ađbij tiệm cận với 1 (Ađbij >1 hoặc Ađbij <1). Bài toán được đưa về dạng tìm giá trị tiệm cận tối ưu của ma trận Xij:
Ađb11 Ađb21
X ij ...
...
Ađbn1
Ađb12 Ađb22
Ađbn2
Ađb13 Ađb23
Ađbn3
...
...
...
Ađb1 j
Ađb2 j
Ađbij
Kết quả trả về cặp máy xúc - ôtô có Ađbij có giá trị tiệm cận với 1 nhất, tương ứng với số máy xúc phục vụ cho mỏ Nx, và số ôtô phục vụ cho mỏ là Nô. Nếu có nhiều cặp máy xúc - ôtô có giá trị Ađbij có giá trị tiệm cận bằng nhau thì hiển thị tất cả những cặp đó lên bảng kết quả.
Đồ thị biểu diễn các kết quả của vế trái đẳng thức (3.20) sau khi tính được Nô khi j = 1…k.
b. Nếu xảy ra TH2 thì năng suất đồng bộ máy xúc - ôtô lớn nhất sẽ là:
3600.E
60.Tca .
Tc
.K x .Kcn .Tca .
i
qo .Kq .
.Tco
.Nô
j
(3.22)
Trong đó: Nô - số ôtô cần thiết phục vụ cho 1 máy xúc để đạt năng suất đồng bộ tối đa, Nô = 1…n; i - số loại máy xúc có trong database, i = 1…m; j - số loại ôtô có trong danh mục database, j = 1…k.
Vế trái của đẳng thức (3.22) được xác định theo công thức (3.3) và (3.4);
Vế phải của đẳng thức (3.22) có biến Nô chạy từ 1 đến n. Khi nào giá trị vế phải của đẳng thức (3.22) lớn hơn giá trị của vế trái thì biến Nô dừng lại và giá trị Nô được chọn là giá trị trước đó 1 đơn vị. Đó chính là số ôtô thứ j cần thiết phục vụ cho 1 máy xúc. Đồ thị xuất ra chính là giá trị của vế phải đẳng thức (3.22).
Sau khi xác định được giá trị Nô và tính giá trị vế phải đẳng thức (3.22), xác định hệ số đồng bộ máy xúc thứ i với ôtô thứ j:
3600.E
T .K x .Kcn .Tca .
A c i
(3.23)
đbij
60.T .
qo .Kq .
ca
.Tco
.Nô
j
Với điều kiện Ađbij tiệm cận 1 thì hiệu quả đồng bộ máy xúc - ôtô là tối ưu.
Sau khi xác định hệ số đồng bộ Ađbij, có 1 ma trận Xij với i là số loại máy xúc có trong database, j là số loại ôtô có trong database.
Năng suất đồng bộ máy xúc - ôtô tối ưu nhất là năng suất đồng bộ có hệ số đồng bộ Ađbij tiệm cận với 1 (Ađbij >1 hoặc Ađbij <1). Bài toán được đưa về dạng tìm giá trị tiệm cận tối ưu của ma trận Xij:
Ađb11 Ađb21
X ij ...
...
Ađbn1
Ađb12 Ađb22
Ađbn2
Ađb13 Ađb23
Ađbn3
...
...
...
Ađb1 j
Ađb2 j
Ađbij
Để giải bài toán trên, NCS sử dụng ngôn ngữ lập trình .Net và phần lập trình được thực hiện như trong Phụ lục 1.
Kết quả trả về cặp máy xúc - ôtô có Ađbij có giá trị tiệm cận với 1 nhất, tương ứng với số máy xúc phục vụ cho mỏ Nx, và số ôtô phục vụ cho mỏ là Nô. Nếu có nhiều cặp máy xúc - ôtô có giá trị Ađbij tiệm cận với 1 và bằng nhau thì hiển thị tất cả những cặp đó lên bảng kết quả.
Đồ thị biểu diễn các kết quả của vế trái đẳng thức (3.22) sau khi tính được Nô khi j = 1…k.
3.3.3.2. Sử dụng chu trình vận tải hở (tm = 0):
- Tính số máy xúc phục vụ cho mỏ theo công thức (3.1).
- Tính tổng năng suất của máy xúc trong 1 năm:
3
QxQnx .N x, m /năm (3.24)
Trong đó: Qnx - năng suất trong 1 năm của một máy xúc, được tính theo công thức (3.2), m3/năm; Nx - Số máy xúc phục vụ cho mỏ, chiếc.
- Tính số ôtô phục vụ cho mỏ:
a. Nếu xảy ra TH1:
Số ôtô phục vụ cho mỏ là:
Nôt
Vo .Kv .
Am
60.Tca .
Tco
.n.N
.Kdt
, chiếc (3.25)
Tính tổng năng suất của ôtô trong 1 năm:
Qôt
Vo .Kv
. 60.Tca ..n.N.N
ôt
Tco
, m3/năm (3.26)
Tỉ số đồng bộ máy xúc - ôtô Ađbij:
A
Qxi
(3.27)
đbij
Qôt j
Với: i - số loại máy xúc có trong database, i =1…m; j - số loại ôtô có trong database, j = 1…k.
Kết quả tính toán Ađbij cho 1 ma trận Xij:
Ađb11 Ađb21
X ij ...
...
Ađbn1
Ađb12 Ađb22
Ađbn2
Ađb13 Ađb23
Ađbn3
...
...
...
Ađb1 j
Ađb2 j
Ađbij
Bài toán được đưa về dạng tìm giá trị tiệm cận của ma trận Xij.
Tức là: trong số tất cả những phần tử thuộc ma trận Xij, chỉ xét những phần tử lớn hơn hoặc nhỏ hơn 1 và tiệm cận với 1 nhất trong số những phần tử đó.
Kết quả trả về cặp máy xúc - ôtô có giá trị Ađbij tiệm cận với 1 nhất. Nếu có nhiều cặp máy xúc - ôtô có giá trị Ađbij có giá trị tiệm cận bằng nhau thì hiển thị tất cả những cặp đó lên bảng kết quả.
Đồ thị biểu diễn các giá trị tổng năng suất của ôtô trong 1 năm.
b. Nếu xảy ra TH2:
Số ôtô phục vụ cho mỏ là:
Nôt
qo .Kq .
Am
60.Tca .
Tco
.n.N
.Kdt
, chiếc (3.28)
Tính tổng năng suất của ôtô trong 1 năm:
Qôt
qo .Kq
. 60.Tca ..n.N.N
ôt
Tco
, m3/năm (3.29)
Tỉ số đồng bộ máy xúc - ôtô Ađbij:
A
Qxi
(3.30)
đbij
Qôt j
Với: i - số loại máy xúc có trong database, i =1…m; j - số loại ôtô có trong database, j = 1…k.
Kết quả tính toán Ađbij cho 1 ma trận Xij:
Ađb11 Ađb21
X ij ...
...
Ađbn1
Ađb12 Ađb22
Ađbn2
Ađb13 Ađb23
Ađbn3
...
...
...
Ađb1 j
Ađb2 j
Ađbij
Bài toán được đưa về dạng tìm giá trị tiệm cận tối ưu của ma trận Xij với giá
trị 1.

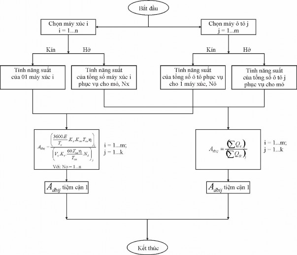
Hình 3.7. Sơ đồ khối thuật toán tối ưu hóa đồng bộ máy xúc - ôtô cho các mỏ lộ thiên
Để giải bài toán này, NCS sử dụng ngôn ngữ lập trình .Net tương tự như trên đối với chu trình vận tải kín, được thể hiện trong Phụ lục 2.
Khi sử dụng thuật toán tối ưu hóa đồng bộ máy xúc - ôtô trên, bài toán có thể giải quyết được trong 4 trường hợp thực tế sau:
1. Lựa chọn đồng bộ máy xúc - ôtô hoàn toàn mới (Hình 3.8)
Lúc này chương trình sẽ tiến hành giải một ma trận Xij với i là số loại máy xúc có trong database của chương trình, j là số loại ôtô có trong database của
chương trình và chọn ra được đồng bộ tối ưu có giá trị năng suất đồng bộ là lớn nhất. Đồng thời chương trình cũng tính toán ra số máy xúc và số ôtô cần thiết phục vụ cho mỏ.
Ađb11 Ađb21
X ij ...
...
Ađbn1
Ađb12 Ađb22
Ađbn2
Ađb13 Ađb23
Ađbn3
...
...
...
Ađb1 j
Ađb2 j
Ađbij
Để giải bài toán trong tường hợp 1, sử dụng ngôn ngữ lập trình .Net như NCS đã trình bày ở trên để tìm ra giá trị tiệm cận với 1 nhất của ma trận Xij.
2. Lựa chọn đồng bộ máy xúc - ôtô tối ưu trong số các thiết bị đã có sẵn
của mỏ (Hình 3.9)
Lúc này, danh sách checklist của máy xúc và của ôtô sẽ hiện ra cho phép người sử dụng chọn những thiết bị mà mỏ đã có sẵn. Sau khi chọn xong, chương trình sẽ tiến hành giải một ma trận Xab với a là số loại máy xúc có sẵn của mỏ đã được chọn, b là số loại ôtô có sẵn của mỏ đã được chọn.
Ađb11 Ađb21
X ab ...
...
Ađba1
Ađb12 Ađb22
Ađba2
Ađb13 Ađb23
Ađba3
...
...
...
Ađb1b Ađb2b
Ađbab
Để giải bài toán này, NCS sử dụng ngôn ngữ lập trình .Net thực hiện tương tự như trong trường hợp 1 cho ma trận Xab như trong Phụ lục 3.






