
Hình 5.36. Select/Response
Ví dụ 5.14: Peer Devices
Ví dụ nhằm minh họa quá trình truyền dẫn trao đổi trong chế độ cân bằng không đồng bộ (ABM) dùng phương pháp xác nhận piggybacking. Hai trạm là đồng quyền và kết nối điểm-điểm.
Trạm A gửi U-frame chứa mã của SABM để thiết lập kết nối ở chế độ cân bằng không đồng bộ. Bit P được thiết lập cho biết trạm A muốn điều khiển kết nối và được phát đầu tiên. Trạm B đồng ý yêu cầu bằng cách gửi về U-frame chứa mã UA, thiết lập bit F. Chấp nhận truyền ở chế độ cân bằng không đối xứng, cả hai trạm đều đang ở chế độ trạm hỗn hợp, thay vì sơ cấp-thứ cấp, nên bit P/F không còn giá trị và được bỏ qua trong frame kế tiếp.
Trạm A bắt đầu trao đổi thông tin với I-frame đánh số 0 tiếp theo là I-frame đánh số 1. Trạm B gửi xác nhận piggybacking của cả hai khung này vào trong I-frame của mình. I-frame đầu tiên của B cũng được đánh số 0 (trường N(S)) và chứa 2 trong trường N(R), xác nhận đã nhận khung số 1 và số 0 của A và cho biết mong muốn nhận được khung 2. Trạm B gửi tiếp khung thứ hai và ba (đánh số 1 và 2) trước khi chấp nhận thêm các khung đến từ A. Các thông tin N(R), như thế thì chưa thay đổi. Các khung 1 và 2 của B cho biết là trạm B còn mong nhận được khung 2 từ A.

Hình 5.37. Peer Devices
Có thể bạn quan tâm!
-
Go - Back - N Arq (Truyền Lại Một Nhóm) Đặc Điểm -
Lặp Lại Có Lựa Chọn (Selective - Repeat Arq) -
Truyền số liệu - 21 -
Truyền số liệu - 23 -
Truyền số liệu - 24 -
Truyền số liệu - 25
Xem toàn bộ 210 trang tài liệu này.
Trạm A đã gửi hết dữ liệu. Như thế, không có thể piggybacking xác nhận vào trong I-frame nên phải gửi S-frame thay vào. Mã RR cho thấy là A vẫn còn sẵn sàng nhận. Số 3 trong trường N(R) cho B biết là các frame 0, 1, và 2 đã được chấp nhận và hiện đang chờ số 3.
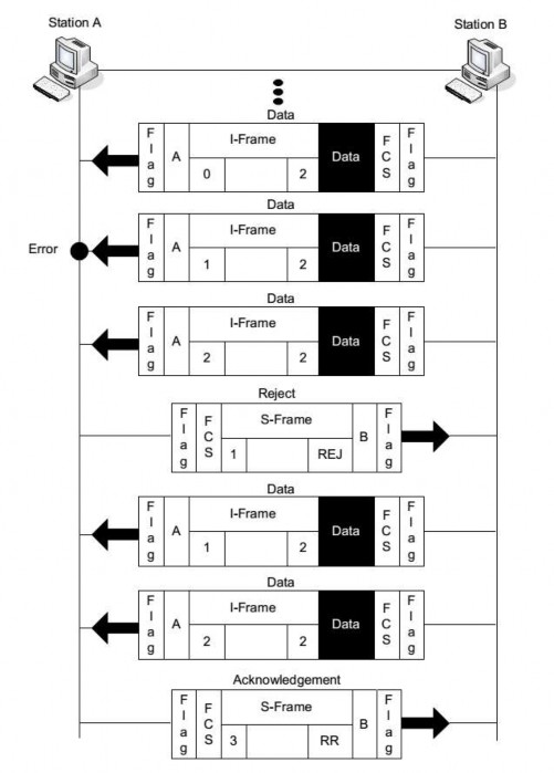
Ví dụ 5.15:
Lỗi khi truyền ngang hàng (Peer Communication with error)
Trong ví dụ trước, giả sử là khung 1 gửi từ B đến A là có lỗi. Trạm A, cần báo cho B để gửi lại khung 1 và 2 (hệ thống dùng giao thức Go-Back-N). Trạm A gửi một khung reject supervisory nhằm thông báo lỗi ở khung 1.

Hình 5.38. Lỗi khi truyền ngang hàng (Peer Communication with error)
CÂU HỎI VÀ BÀI TẬP CHƯƠNG 5
Câu 1:
Để tính toán bit bit chẵn lẻ (parity) cho một ký tự, phát biểu nào sau đây là sai:
a. Phụ thuộc vào kiểm tra chẵn
b. Phụ thuộc vào kiểm tra lẻ
c. Số các bit trong mã ký tự được cộng module 2 với nhau và bit parity được chọn sao cho tổng số các bit 1 bao gồm cả bit parity là chẵn (even parity) hoặc là lẻ (odd parity).
d. Tất cả các ý trên đều là sai.
Câu 2:
Phát biểu nào sau đây về phương pháp kiểm tra bit chẵn lẻ là phát biểu sai:
a. Phương pháp kiểm tra chẵn lẻ chỉ phát hiện các lỗi 2 bit (số lượng bit lỗi là lẻ)
b. Phương pháp kiểm tra chẵn lẻ không thể phát hiện được các lỗi 1 bit (hay số bit lỗi là một số lẻ)
c. Phát biểu A, B đúng, còn phát biểu C là sai.
Câu 3:
Kiểm tra lỗi theo phương pháp khối, phát biểu nào sau đây là sai:
a. Khi truyền đi một khối thông tin, mỗi ký tự được truyền đi sẽ được kiểm tra tính chẵn lẻ theo chiều ngang, đồng thời cả khối thông tin này cũng được kiểm tra tính chẵn lẻ theo chiều dọc.
b. Cứ sau một số byte nhất định thì một byte kiểm tra chẵn lẻ cũng được gửi đi.
c. Byte chẵn lẻ này được tạo ra nằng cách kiểm tra tính chẵn lẻ của khối ký tự theo cột.
d. Cả ba ý trên đều đúng.
Câu 4:
Kiểm tra lỗi theo phương pháp khối, phát biểu nào sau đây là đúng:
a. Dựa vào các bit kiểm tra ngang và dọc ta xác định được tọa độ của bit sai và sửa được bit sai này.
b. Ta không sắp xếp các bit của ký tự đúng vị trí tương ứng từ trên xuống thì ta cũng có một khối các ký tự.
c. Không cần sắp xếp các bit của ký tự đúng vị trí tương ứng từ trên xuống.
d. Cả 3 ý trên đều đúng.
Câu 5:
Trong phương pháp kiểm tra CRC để phát hiện lỗi, phát biểu nào sau đây là sai:
a. Đa thức sinh đã biết trước (bên phát và bên thu đều cùng chọn đa thức này).
b. Đa thức sinh chỉ bên phát hoặc bên thu chọn trước.
c. Bậc của đa thức sinh mã chính là độ dài được thêm vào từ mã gốc trước khi truyền đi.
d. Lấy từ mã thu được chia cho đa thức sinh nếu số dữ bằng 0 thì từ mã thu được là đúng.
Câu 6:
Trong Go - back - N ARQ, nếu các khung 4, 5 và 6 được nhận thành công, thì máy thu sẽ gửi khung ACK nào cho máy phát:
a. 4
b. 5
c. 6
d. 7
Câu 7:
Trong phương pháp Stop – and- wait ARQ, nếu dữ liệu 1 có lỗi, thì máy thu gửi về khung nào:
a. NAK 0
b. NAK 1
c. NAK 2
d. NAK
Câu 8:
Phương pháp ARQ nào được dùng nếu khi nhận được NAK, thì tất cả các khung kể từ lúc khung xác nhận cuối cùng được truyền lại.
a. Stop and wait
b. Go-back-n
c. Select-reject
d. a và b
Câu 8:
Phương pháp ARQ nào được dùng nếu khi nhận được NAK, chỉ có khung bị hỏng hay thất lạc là được gửi lại
a. Stop and wait
b. Go-back-n
c. Select-reject
d. a và b
Câu 9:
ARQ có nghĩa là
a. Automatic request quatalization
b. Automatic repeat request
c. Automatic retransmission request
d. Acknowledge repeat request
Câu 10:
Trong phương pháp điều khiển lưu lượng Stop and wait ARQ, để truyền đi n gói thì bao nhiêu khung xác nhận cần có
a. n
b. 2n
c. n-1
d. n+1
Câu 11:
Chuỗi bit dữ liệu 11101010111 cần truyền qua hệ thống truyền dẫn có đa thức sinh G(x) = x4 x3 x 1. Để phát hiện lỗi, hệ thống sử dụng các bit kiểm tra CRC. Hãy mô tả:
a) Quá trình tạo mã CRC ?
b) Quá trình kiểm tra CRC khi luồng dữ liệu không bị lỗi và khi luồng dữ liệu bị lỗi ở bit thứ 4 tính từ bit có trọng số lớn nhất MSB?
Câu 12:
Cho chuỗi bit dữ liệu 11011001 được mã hóa theo mã sửa lỗi Hamming với các bit kiểm tra được tính toán như sau:
C1 =M1 M2 M4 M5 M7 C2 =M1 M3 M4 M6 M7 C4 =M2 M3 M4 M8
C8 =M5 M6 M7 M8
Giả sử chuỗi bit dữ liệu trên khi truyền đi bị lỗi ở vị trí thứ 5 tính từ bit có trọng số lớn nhất MSB. Hãy sử dụng phương pháp phát hiện và sửa sai Hamming để sửa lỗi này?
Câu 13:
Trình bày đặc điểm và phương pháp mã hóa nén tín hiệu Huffman? Hãy mã hóa Huffman cho các ký tự của nguồn có tần suất xuất hiện như sau:
A = E = 0.3; B = F = 0.1; C = D = 0.04; G=H=0.06?
Câu 14:
Trình bày cơ chế tự động yêu cầu phát lại Go - back - N ARQ:
a) Trường hợp khung dữ liệu bị lỗi.
b) Trường hợp khung ACK bị lỗi.
Câu 15:
Trình bày cơ chế ARQ truyền lại có lựa chọn ngầm định:
a. Trường hợp khung dữ liệu bị lỗi.
b. Trường hợp khung ACK bị lỗi.
Câu 16:
Trình bày cơ chế ARQ truyền lại có lựa chọn yêu cầu rò:
a. Trường hợp khung dữ liệu bị lỗi.
b. Trường hợp khung NAK bị lỗi.
Câu 17:
Trình bày cơ chế Idle RQ yêu cầu rò:
a. Trường hợp khung dữ liệu bị lỗi.
b. Trường hợp khung ACK bị lỗi.
Câu 18:
Truyền 1000 byte thông tin theo giao thức HDLC, sử dụng giao thức ARQ dừng và chờ. Giả sử bỏ qua thời gian xử lý gói tin tại nút và chiều dài gói tin ACK là rất nhỏ. Xác định hiệu suất sử dụng đường truyền trong bốn trường hợp:
Tốc độ truyền tín hiệu:
- 1Kbaud
- 1Mbaud
Sử dụng kỹ thuật điều chế 2-ASK, tốc độ lan truyền tín hiệu là 2.108 m/s. Dữ liệu được truyền trên hai loại môi trường:
- Cáp xoắn đôi chiều dài 1km.
- Đường kênh thuê riêng chiều dài 500 km.
Giả thiết các đường truyền là không nhiễu. Đánh giá các kết quả thu được?
Câu 19:
Truyền 1000 bit thông tin theo giao thức HDLC, sử dụng giao thức ARQ phát lại có chọn lọc. Xác định hiệu suất sử dụng đường truyền trong các trường hợp sau nếu tốc độ lan truyền là 2.108 m/s và độ lỗi bit của các liên kết thấp không đáng kể:
a. Một liên kết dài 1km có tốc độ 4Mbps và cửa sổ truyền K= 3.
b. Một liên kết dài 50km có tốc độ 300Mbps và cửa sổ truyền K= 8.
c. Một liên kết vệ tinh dài 10 000km có tốc độ 2Mbps và cửa sổ truyền K= 128.
CHƯƠNG 6: CHUYỂN MẠCH
6.1. Mạng chuyển mạch
Chuyển mạch là một quá trình thực hiện đấu nối và truyền dữ liệu từ nguồn tới đích thông qua mạng lưới các nút chuyển mạch trung gian. Các nút chuyển mạch không liên quan đến nội dung của dữ liệu mà mục đích của chúng là để cung cấp phương tiện thực hiện việc chuyển dữ liệu giữa các nút mạng cho tới khi dữ liệu đến đích. Hình 6.1 minh họa cho một mạng chuyển mạch đơn giản. Các thiết bị kết nối tới mạng được gọi là các trạm. Các trạm có thể là máy tính, thiết bị đầu cuối, điện thoại hay các thiết bị truyền thông khác. Các nút chuyển mạch có chức năng cung cấp môi trường truyền thông liên lạc. Các nút chuyển mạch kết nối với nhau thông qua các liên kết truyền dẫn. Nói cách khác, chuyển mạch trong mạng bao gồm chức năng định tuyến cho thông tin và chức năng chuyển tiếp thông tin. Như vậy, theo khía cạnh thông thường, khái niệm chuyển mạch gắn liền với lớp mạng và lớp liên kết dữ liệu trong mô hình OSI của tổ chức tiêu chuẩn quốc tế ISO.
Quá trình chuyển mạch được thực hiện tại các nút chuyển mạch, trong mạng chuyển mạch kênh thường gọi là hệ thống chuyển mạch (tổng đài), trong mạng chuyển mạch gói thường được gọi là thiết bị định tuyến (bộ định tuyến).

Hình 6.1. Mô hình mạng chuyển mạch đơn giản






