Lời nói đầu
Tập bài giảng “Thực hành tiện nâng cao” được biên soạn trên mục tiêu, nội dung, chương trình học phần “Thực hành tiện nâng cao” đào tạo bậc đại học, cao đẳng ngành cơ khí chế tạo máy đang thực hiện tại Trường Đại học Sư phạm Kỹ thuật Nam Định.
Tập bài giảng đảm bảo tính khoa học, logic của thực hành từ đơn giản đến phức tạp, bài tập trước làm cơ sở, hỗ trợ cho bài tập sau. Chúng tôi đã cố gắng nghiên cứu và sử dụng các tài liệu của các nhà khoa học, tập trung biên soạn những vấn đề cốt lòi mà nhất thiết sinh viên phải hiểu được, vận dụng được khi học xong học phần thực hành tiện nâng cao.
Tập bài giảng nhằm cung cấp cho sinh viên những nội dung kiến thức chính yếu nhất của học phần mang tính hệ thống, dễ hiểu, dễ nhớ, dễ nghiên cứu và thực hành làm ra sản phẩm. Đồng thời cũng là tài liệu tham khảo tích cực mang tính thống nhất về mặt cấu trúc, nội dung mà cán bộ giảng dạy cần trang bị cho sinh viên khi nghiên cứu học phần này và rất có thể phần nào giúp cho các bạn đồng nghiệp làm tài liệu tham khảo trong quá trình giảng dạy các học phần thực hành khác thuộc chuyên môn ngành cơ khí chế tạo máy.
Tác giả rất mong sự giúp đỡ đóng góp ý kiến của bạn đọc để tập bài giảng được hoàn chỉnh hơn. Xin chân thành cám ơn!
Tác giả
Mục lục
Lời nói đầu 1
BÀI 01: TIỆN TRÊN TRỤC KÉM CỨNG VỮNG 3
Bài 1.1. Tiện trục dài kém cứng vững, sử dụng giá đỡ di động 3
Bài 1.2. Tiện trục dài kém cứng vững, sử dụng giá đỡ cố định 12
BÀI 02: TIỆN REN TRÊN TRỤC KÉM CỨNG VỮNG 19
BÀI 03: TIỆN REN NHIỀU ĐẦU MỐI 25
Bài 3.1. Tiện ren nhiều đầu mối bằng bàn trượt dọc phụ 25
Bài 3.2. Tiện ren nhiều đầu mối bằng cách xoay chi tiết 33
Bài 3.3. Tiện ren nhiều đầu mối bằng đồng hồ chỉ đầu ren 39
BÀI 04: TIỆN ĐỊNH HÌNH 46
Bài 4.1: Tiện định hình bằng dao chép hình 46
Bài 4.2. Tiện định hình bằng phối hợp hai chuyển động 53
Bài 4.3. Tiện định hình bằng dưỡng chép hình 60
BÀI 05: TIỆN CHI TIẾT BẠC 65
BÀI 06: TIỆN CÁC MẶT TRỤ TRÊN CHI TIẾT DẠNG HỘP 76
Bài 6.1. Tiện mặt phẳng trên chi tiết dạng hộp 76
Bài 6.2. Tiện lỗ trên chi tiết dạng hộp 84
Bài 6.3. Tiện lỗ trên chi tiết dạng hộp, sử dụng dao quay 91
BÀI 07: TIỆN LỆCH TÂM 96
Bài 7.1. Tiện bạc lệch tâm trên mâm cặp 3 chấu, 4 chấu 96
Bài 7.2: Tiện trục lệch tâm trên mâm cặp 3 chấu, 4 chấu 105
Bài 7.3: Tiện trục lệch tâm khi gá trên 2 mũi tâm 112
BÀI 08: BÀI TẬP TỔNG HỢP 119
Bài 8.1: Bài tập tổng hợp số 01 119
Bài 8.2: Bài tập tổng hợp số 02 119
TÀI LIỆU THAM KHẢO 144
BÀI 01:
TIỆN TRÊN TRỤC KÉM CỨNG VỮNG
Thời gian thực hiện: 12 tiết Tên bài học trước:
Thực hiện từ ngày.......đến ngày ..........
Bài 1.1. Tiện trục dài kém cứng vững, sử dụng giá đỡ di động (06 tiết)
A. Phương tiện và trang thiết bị dạy học
1. Phương tiện
Giáo án, đề cương, phấn bảng, máy chiếu, bản vẽ, ...
2. Thiết bị, dụng cụ và nguyên vật liệu:
Tên và các thông số kỹ thuật của thiết bị, dụng cụ; nguyên, nhiên vật liệu tiêu hao | Đơn vị | SL | Ghi chú | Bổ sung | |
1 | Thiết bị, dụng cụ (cho 01 SV) | ||||
- Máy tiện vạn năng (Mâm cặp 3 chấu, chìa vặn) | Cái | 01 | Sử dụng tiếp | ||
- Mũi tâm cố định hoặc quay | Cái | 01 | |||
- Máy mài dụng cụ cắt (dùng chung) | Cái | 01 | Sử dụng tiếp | ||
- Dụng cụ đo: thước cặp 1/50, panme 0-25, thước lá | Bộ | 01 | Sử dụng tiếp | ||
- Dụng cụ cắt: dao tiện ngoài (đầu cong, dao vai: T15K6 hoặc P18); mũi khoan tâm | Bộ | 01 | Sử dụng tiếp | ||
- Giá đỡ di động. | Bộ | 01 | Sử dụng tiếp | ||
2 | Nguyên nhiên, vật liệu tiêu hao (cho 01 SV) | ||||
- Thép CT45( 28x505)mm | Cái | 01 | Sử dụng tiếp | ||
- Dầu máy | Lít | 5 | Sử dụng tiếp | ||
- Dẻ lau | Kg | 0,2 | Hủy | ||
3 | Khác |
Có thể bạn quan tâm!
-
Thực hành tiện nâng cao - 2 -
Các Dạng Sai Hỏng, Nguyên Nhân Và Cách Phòng Ngừa -
Khái Niệm Và Các Yếu Tố Của Ren Nhiều Đầu Mối
Xem toàn bộ 150 trang tài liệu này.
B. Thực hiện bài học
1. Mục tiêu
Sau khi học xong bài này, SV có khả năng:
Về kiến thức
- Biết sử dụng giá đỡ di động để tiện trục dài kém cứng vững.
- Biết chọn dao với thông số hình học hợp lý để tiện trục dài kém cứng vững.
Về kỹ năng
- Sử dụng và điều chỉnh được giá đỡ di động trên máy tiện.
- Tiện được trục dài kém cứng vững đạt yêu cầu kỹ thuật cho trước.
Về thái độ
Nghiêm túc, tự giác trong quá trình học tập, rèn luyện tác phong sản xuất công nghiệp. Đảm bảo an toàn lao động, vệ sinh môi trường.
2. Nội dung bài học
2.1. Đặc điểm của trục dài kém cứng vững
- Trục dài kém cứng vững là trục có tỷ lệ chiều dài trên đường kính lớn hơn 12 lần (L/D > 12 lần).
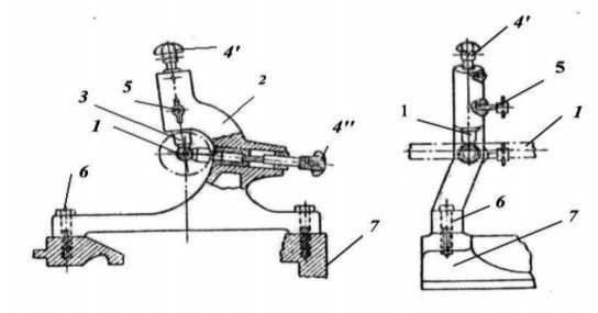
- Trong quá trình tiện, dưới tác dụng của thành phần lực hướng kính (Py) làm cho chi tiết bị uốn theo phương ngang, thành phần lực (Pz) làm cong chi tiết theo phương thẳng đứng, vị trí nguy hiểm nhất là khoảng giữa chiều dài phôi. Để hạn chế được các thành phần lực cắt khi tiện, ta sử dụng giá đỡ di động có 2 chấu tỳ, một chấu tỳ hạn chế thành phần lực (Py), chấu tỳ còn lại hạn chế thành phần lực (Pz) (hình1.1).
Hình 1.1 Giá đỡ di động
1. Chi tiết gia công
3. Chấu tỳ của giá đỡ
4’ và 4'': Núm điều chỉnh chấu tỳ tiếp xúc với bề mặt phôi.
5. Vít hãm để chấu tỳ không bị chuyển vị khi gia công.
2.2. Giá đỡ di động
a. Công dụng
- Tăng độ cứng vững cho trục gần vị trí dao cắt, chống lại lực hướng kính và lực thẳng đứng phát sinh trong quá trình cắt, làm cho phôi không bị cong theo phương ngang và bị uốn theo phương thẳng đứng.
- Giá đỡ di động có 2 chấu tỳ, một chấu đối diện với dao theo phương nằm ngang (chống lại thành phần lực cắt Py), một chấu phía trên của phôi theo phương thẳng đứng (chống lại thành phần lực cắt Pz).
- Chấu tỳ của giá đỡ được làm bằng vật liệu dễ mài mòn (đồng thau) để đảm bảo bề mặt chi tiết gia công không bị hư hỏng, trong quá trình gia công phải thường xuyên tra mỡ công nghiệp vào các chấu tỳ.
b. Cách gá giá đỡ trên máy tiện
Trên bàn xe dao ngang có mặt định vị để định vị giá đỡ di động, gá giá đỡ di động với bàn xe dao bằng 2 bu lông (hình 1.1). Như vậy giá đỡ di động luôn chuyển động đồng thời cùng bàn xe dao.

Hình 1.2 Cách gá đặt giá đỡ di động trên bàn xe dao
c. Cách điều chỉnh chấu tỳ
- Hai chấu tỳ của giá đỡ điều chỉnh độc lập nhau, để chấu tỳ dịch chuyển theo phương hướng kính vặn núm vặn 4’ và 4”phía trên, sau khi điều chỉnh xong phải vặn vít hãm trên thân giá đỡ để chấu tỳ không chuyển vị khi gia công.
- Điều chỉnh cho hai chấu tỳ của giá đỡ phải luôn luôn tỳ sát vào bề mặt phôi. Nhưng ban đầu, mặt trụ ngoài của phôi chưa đồng tâm với tâm máy, nên không thể điều chỉnh chấu tỳ của giá đỡ luôn tỳ và mặt ngoài của phôi được. Do vậy, lần cắt đầu tiên, điều chỉnh bàn trượt dọc phụ để lưỡi cắt chính của dao vượt quá chấu tỳ của giá đỡ về phía mâm cặp, rồi tiến hành tiện bình thường (chưa điều chỉnh chấu tỳ của giá đỡ, vì tiện ngay phía ụ sau, độ cứng vững của phôi cao) đến khi vị trí của chấu tỳ đã nằm trong khoảng chiều dài đã tiện thì dừng máy.
- Tiến hành điều chỉnh để hai chấu tỳ của giá đỡ tỳ vào bề mặt trụ vừa tiện (Lưu ý: lực tỳ của chấu tỳ vào mặt phôi vừa đủ, nếu có khe hở khi tiện các thành phần lực cắt tác động làm cho phôi bị chuyển vị, nhưng nếu lực tỳ lớn quá sẽ làm cho phôi bị chuyển vị và chấu tỳ nhanh bị mài mòn. Trong quá trình tiện thường xuyên tra mỡ công nghiệp vào mặt tỳ của chấu tỳ và mặt phôi). Sau khi điều chỉnh chấu tỳ xong, tiến hành tiện tiếp hết chiều dài phôi.
- Như vậy, khi tiện trục dài kém cứng vững sử dụng giá đỡ di động có trường hợp: vị trí của dao ở phía trước chấu tỳ, hoặc vị trí của dao ở phía sau chấu tỳ theo hướng chuyển động chạy dao từ phía ụ sau về phía ụ trước.
+ Khi tiện thô, thường điều chỉnh cho vị trí của dao ở phía trước chấu tỳ, để chấu tỳ luôn tỳ vào bề mặt đã gia công.
+ Khi tiện tinh, nên điều chỉnh vị trí của dao ở phía sau chấu tỳ, như vậy chấu tỳ không tỳ vào bề mặt đã gia công tinh.
2.3. Chọn dao
Do độ cứng vững của phôi kém, nên chọn dao có góc nghiêng chính bằng 90 độ, khi cắt lực cắt sẽ giảm do chiều dài lưỡi cắt tham gia cắt ngắn nhất. Các thông số khác chọn tương tự như khi tiện ngoài.
2.4. Chọn chế độ cắt
Thực hiện tương tự như tiện mặt trụ ngoài. Tuy nhiên, do phôi có độ cứng vững kém, nên chọn chế độ cắt chiều sâu cắt (t), lượng chạy dao (S) và tốc độ cắt (v) nhỏ hơn so với tiện trụ ngoài.
2.5. Định vị và kẹp chặt phôi khi sử dụng giá đỡ di động
- Phôi được định vị và kẹp chặt một đầu trên mâm cặp và một đầu chống tâm hoặc định vị trên hai lỗ tâm và sử dụng tốc kẹp.
S1
S2
S1
S2
S1
S2
Hình 1.4 Sơ đồ định vị khi gia công trục dài
2.6. Trình tự thực hiện
2.6.1. Chuẩn bị
- Chuẩn bị phôi: kiểm tra độ thẳng, độ tròn, kích thước và loại vật liệu;
- Chuẩn bị máy tiện: kiểm tra hoạt động của máy, đảm bảo độ an toàn;
- Chuẩn bị trang thiết bị theo máy: giá đỡ di động, chìa vặn mâm cặp, ổ dao;
- Chuẩn bị dụng cụ cắt: dao tiện ngoài;
- Chuẩn bị dụng cụ đo: thước cặp, pan me;
- Chuẩn bị dụng cụ phục vụ vệ sinh công nghiệp.
2.6.2. Gá phôi, gá dao và giá đỡ di động
- Khi gia công mặt trụ ngoài kém cứng vững có sử dụng giá đỡ di động
+ Định vị và kẹp chặt phôi một đầu bằng mâm cặp (hạn chế 2 hoặc 3 bậc tự do), đầu còn lại định vị bằng lỗ tâm trên mũi tâm của ụ sau.
+ Hoặc định vị phôi bằng 2 lỗ tâm (hạn chế 5 bậc tự do), sử dụng tốc kẹp để truyền chuyển động quay cho phôi.
- Gá dao cao ngang tâm máy và có góc φ phù hợp (φ ≥90 độ)
- Giá đỡ di động được gá cố định trên bàn xe dao ngang bằng 2 bu lông.
2.6.3. Điều chỉnh và vận hành máy tiện
- Điều chỉnh các tay gạt trên hộp tốc độ trục chính và hộp tốc độ chạy dao theo tốc độ đã được xác định để tiện.
- Vận hành máy: Kiểm tra sự an toàn của máy trước khi cho máy chạy (khi có đồ gá và dao), dao chưa tham gia cắt gọt.
2.6.4. Trình tự các bước gia công
Bước 1: So dao, lấy chiều sâu cắt
Bước 2: Tiện thô (một đoạn có độ dài đủ lớn để đảm bảo chấu tỳ đặt được vào phần đã tiện).
Bước 3: Dừng máy, điều chỉnh cho chấu tỳ của giá đỡ vừa chạm vào mặt trụ của phôi vừa tiện mặt ngoài.
Bước 4: Thực hiện tiện hết chiều dài mặt trụ ngoài (thường xuyên tra mỡ, hoặc dầu vào vị trí chấu tỳ với bề mặt ngoài phôi, để giảm ma sát) đến khi hết lượng dư gia công.
Bước 5: Tiện tinh (khi tiện tinh nên điều chỉnh để dao cắt ở vị trí phía sau chấu tỳ, để chấu tỳ của giá đỡ không tỳ vào bề mặt trụ đã tiện tinh).
Bước 6: Kiểm tra kết thúc: Thực hiện kiểm tra tổng thể sản phẩm trước khi tháo ra khỏi máy.
2.7. Thao tác mẫu
Thực hiện thao tác mẫu và yêu cầu sinh viên thực hiện lại.
2.8. Các dạng sai hỏng, nguyên nhân và cách phòng ngừa
Dạng sai hỏng | Nguyên nhân | Cách phòng ngừa | |
1 | Bề mặt chi tiết có phần không cắt gọt | - Lượng dư gia công thiếu - Khoan lỗ tâm bị lệch - Gá phôi bị đảo | - Kiểm tra phôi - Khoan lỗ tâm chính xác - Rà gá đảm bảo độ đảo nhỏ nhất |
2 | Mặt trụ ngoài có hình tang trống | Điều chỉnh chấu tỳ của giá đỡ di động chưa đúng (chấu tỳ với bề mặt phôi có khe hở) | Điều chỉnh hai chấu tỳ với mặt phôi không còn khe hở |
3 | Mặt trụ ngoài bị ô van | - Trục chính bị đảo - Điều chỉnh lực tỳ của mũi tâm sau và lỗ tâm còn khe hở - Lực tỳ của chấu tỳ và mặt phôi có khe hở hoặc quá lớn | - Kiểm tra trục chính - Điều chỉnh lực tỳ của mũi tâm ụ sau với lỗ tâm; giữa chấu tỳ với mặt trụ của phôi. |
4 | Độ nhám mặt trụ không đạt | - Dao mòn - Chế độ cắt chưa đúng - Hệ thống công nghệ rung động. | - Mài sửa dao - Chọn chế độ cắt hợp lý - Điều chỉnh chấu tỳ, ụ sau hợp lý |
3. Tổ chức luyện tập kỹ năng
3.1. Yêu cầu luyện tập
a. Bản vẽ (trục trơn 01)
b. Yêu cầu
Mỗi SV thực hiện 01 bài tập tiện trục trơn 01 từ phôi Ø28, L=505 tiện chống tâm hai đầu để đảm bảo các yêu cầu kỹ thuật của bản vẽ.



