Công tơ có Cổng phụ nằm ở phía bên phải của ổ đấu dây, cho phép nối dây ra các thiết bị bên ngoài và được đánh số thứ tự từ 1 - 6. Có thể cài đặt được chức năng của Cổng bổ trợ thông qua Máy tính.
Nắp Công tơ
Nắp Công tơ bằng nhựa PC trong suốt, chịu va đập mạnh, chịu nhiệt độ cao, chịu tia cực tím, chống cháy. Trên nắp có các Phím bấm điều khiển và Cổng giao tiếp quang học (theo chuẩn IEC 1107).
Nắp che ổ đấu dây
Nắp che ổ đấu dây bằng nhựa PC đảm bảo che kín Đầu nối và Cáp đấu, chịu va đập, chống cháy. Sơ đồ đấu dây Công tơ ở phía trong Nắp che ổ đấu dây.
Có thể bạn quan tâm!
-
Thiết kế bàn thử nghiệm công tơ điện 1 pha và 3 pha - 1 -
Thiết kế bàn thử nghiệm công tơ điện 1 pha và 3 pha - 2 -
Thiết kế bàn thử nghiệm công tơ điện 1 pha và 3 pha - 4 -
A , I B , I C Là Các Dòng Tức Thời Của Các Pha -
Thiết kế bàn thử nghiệm công tơ điện 1 pha và 3 pha - 6
Xem toàn bộ 80 trang tài liệu này.
Bo mạch điện tử
Bo mạch điện tử được thiết kế trên cơ sở các Linh kiện đặc chủng của các hãng nổi tiếng trên Thế giới. Mạch điện nhỏ gọn làm việc tin cậy, đơn giản trong sửa chữa và bảo trì.
Mạch điện được gia công hàn dán và kiểm tra hiệu chỉnh trên dây chuyền công nghệ hiện đại của Tây âu và Nhật Bản.
Bo mạch sau khi chế tạo xong được sơn phủ bề mặt để nhiệt đới hoá.
Màn hiển thị LCD
Màn hiển thị LCD của Công tơ là loại chịu được nhiệt độ cao tới 75oC và tia cực tím phù hợp với điều kiện nhiệt đới hoá và thời tiết Việt Nam.
Pin
Công tơ sử dụng Pin Litium có tuổi thọ 10 năm trong điều kiện làm việc liên tục trên lưới điện và ≥ 2 năm bảo quản Công tơ trong kho. Do vậy mà các số liệu cài đặt và thu thập được trong Công tơ là hoàn toàn tin cậy
Sơ đồ đấu dây

Hoạt động của công tơ
Hệ thống nhiều biểu giá:
Công tơ có 4 thanh ghi biểu giá: T1, T2, T3, T4
Nếu cài đặt biểu giá theo thời gian trong ngày thì có thể cài đặt tới 4 biểu giá. Nếu cài đặt theo cả thời gian trong ngày và theo mức công suất thì cài được 2 cặp biểu giá:
(T1, T3) là cặp biểu giá mức thấp (T2, T4) là cặp biểu giá mức cao.
Có thể cài đặt thêm các lựa chọn sau:
- Biểu giá ngày xác định theo mùa.
- Các ngày đặc biệt (ngày làm việc, ngày nghỉ, ngày lễ...). Có thể cài đặt thêm cho các lựa chọn sau:
Việc chuyển biểu giá được đồng bộ với thời gian thực. Đồng hồ thời gian thực
là một tính năng của Công tơ.
Cài đặt biểu giá và mức công suất tiêu thụ thông qua phần mềm CSMcom trên Máy tính .
Thông tin hiển thị:
Thông tin được hiển thị trên màn hình LCD với 7 chữ số và một số ký hiệu kèm theo. Chỉ số của các biểu giá (kWh) hiển thị bằng 6 chữ số và một số thập phân.
Trong chế độ bình thường - Công tơ hiển thị chỉ số của biểu giá tích cực - Khi bấm nút SC (SCROLL) các thông số sẽ tuần tự hiển thị (Xem chi tiết trong tài liệu Kỹ thuật kèm theo Công tơ).
Tự động lưu chỉ số công tơ
Cho phép lưu chỉ số điện năng của các biểu giá và biểu giá tổng vào 00.00giờ của ngày chỉ định (cài đặt bằng phần mềm CSMcom trên Máy tính). Nếu lúc đó mất điện thì sẽ lưu ngay sau khi có điện trở lại. Mặc định lưu vào ngày đầu tháng. Công tơ có thể lưu được chỉ số điện năng của 6 tháng gần nhất.
Cổng quang
Cổng quang có kích thước vật lý và giao thức truyền thông phù hợp với IEC
1107:1996.
Cổng quang dùng để giao tiếp với HHU (Thiết bị cầm tay) hoặc Máy tính
thông qua Cáp nối chuyên dụng.
Sử dụng cổng này để cài đặt và lấy chỉ số của Công tơ (ngoài phương thức lấy
chỉ số từ xa).
Lưu trữ số liệu:
Công tơ lưu giữ thông tin năng lượng, thời gian thực, mô hình biểu giá và
thông tin khách hàng được tối thiểu là 2 năm mất điện.
Chương III.
NGUYÊN LÝ HOẠT ĐỘNG CỦA CÁC LOẠI CÔNG TƠ
I. Công tơ điện một pha đo năng lượng
a> khái quát chung
Năng lượng điện trong mạch xoay chiều một pha được tính theo biểu thức
t2 t2
W= t1 Pdt t1 UIcosdt KPt
Trong đó P: công suất tiêu thụ trên phụ tải
t: khoảng thời gian tiêu thụ công suất; K: hệ số
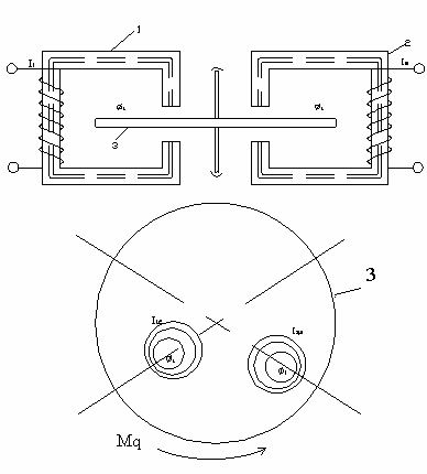
Công tơ được chế tạo dựa trên cơ cấu chỉ thị cảm ứng


Giản đồ véc tơ
Cấu tạo gồm 2 phần: phần tĩnh và phần động. Phần tĩnh là 2 cuộn dây quấn trên lòi thép 1 và 2. Khi có dòng điện chạy qua các cuộn dây tạo ra từ trường móc vòng qua lòi thép và phần động. Phần động là đĩa nhôm 3 được gắn trên trục quay. Khi có dòng điện I1 và I2 đi vào các cuộn dây phần tĩnh, chúng tạo
ra từ thông
1 và
2 , các từ thông này xuyên qua đĩa nhôm làm xuất hiện
trong đĩa nhôm các sức điện động tương ứng E1 và E2 lệch pha với 1 và 2
một góc / 2 và các dòng điện xoáy I12 và I22 . Do sự tác động tương hỗ giữa
từ thông
nhôm.
1, 2
và dòng điện xoáy I12, I22 tạo thành momen làm quay đĩa
Mômen quay Mqlà tổng của các momen thành phần: Mq=C11I22 +C2 2 I12sin
C1,C2 là hệ số; - góc lệch pha giữa 1 và 2
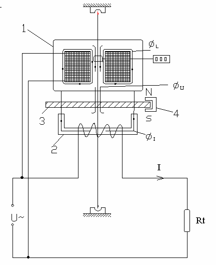
b> Cấu tạo công tơ một pha

Hai cuộn dây tạo thành 2 nam châm điện 1 và 2. cuộn dây một mắc song song với phụ tải có số vòng dây lớn và tiết diện nhỏ gọi là cuộn áp. cuộn dây 2 mắc nối tiếp với phụ tải có ít vòng, đuớng kính dây từ 1-2 mm gọi là cuộn dòng.
Đĩa nhôm 3 gắn trên trục có thể quay tự do giữa cuộn 1 và 2. Trên trục gắn hộp số cơ khí để chỉ thị. Nam châm 4 có nhiệm vụ tạo momen hãm do từ trường của nó xuyên qua đĩa nhôm khi đĩa quay.

Giản đồ véc tơ
Khi có dòng điện I chạy qua phụ tải và qua cuộn dòng sẽ tạo ra từ thông i cắt đĩa nhôm 2 lần. Điện áp U được đặt vào cuộn áp, dòng Iu tạo thành 2 từ thong
u xuyên qua đĩa nhôm và l không xuyên qua đĩa nhôm.
Ta có:
I =K1I
u =KuIu=KuU/Zu
U: điện áp đặt lên cuộn áp
Zu: tổng trở của cuộn áp; K1,Ku - hệ số tỉ lệ
Do cuộn áp có điện trở thuần khá nhỏ so với cuộn kháng nên ta có thể coi
Zu Xu=2 fLu
Lu- điện cảm của cuộn dây
f- tần số Do đó:
u =
Ku.U
Ku 'U
2 fLu f





