
Giáo trình Xử lý tín hiệu số 2 Phần 2 - 8 Trang 57
Có thể bạn quan tâm!
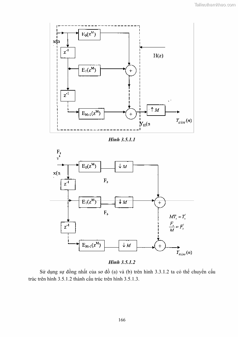
-
Giáo trình Xử lý tín hiệu số 2 Phần 2 - 5 -
Giáo trình Xử lý tín hiệu số 2 Phần 2 - 6 -
Giáo trình Xử lý tín hiệu số 2 Phần 2 - 7 -
Giáo trình Xử lý tín hiệu số 2 Phần 2 - 9 -
Giáo trình Xử lý tín hiệu số 2 Phần 2 - 10 -
Giáo trình Xử lý tín hiệu số 2 Phần 2 - 11

Trang 58

Trang 59

Trang 60

Trang 61

Trang 62

Trang 63

Trang 64






